Title: Motors
Author: James Slough Zerbe
Release date: March 19, 2013 [eBook #42369]
Most recently updated: October 23, 2024
Language: English
Credits: Produced by Greg Bergquist, Tom Cosmas and the Online
Distributed Proofreading Team at http://www.pgdp.net (This
file was produced from images generously made available
by The Internet Archive/American Libraries.)
Every Boy's
Mechanical
Library

MOTORS
Every Boy's Mechanical Library
By J. S. ZERBE, M.E.
Price, per volume, 60 cents, Net. Postage extra.
AUTOMOBILES
This is a subject in which every boy is interested. While few mechanics have the opportunity to actually build an automobile, it is the knowledge which he must acquire about every particular device used, that enables him to repair and put such machines in order. The aim of this book is to make the boy acquainted with each element, so that he may understand why it is made in that special way, and what the advantages and disadvantages are of the different types. To that end each structure is shown in detail as much as possible, and the parts separated so as to give a clear insight of the different functions, all of which are explained by original drawings specially prepared to aid the reader.
MOTORS
To the boy who wants to know the theory and the practical working of the different kinds of motors, told in language which he can understand, and illustrated with clear and explicit drawings, this volume will be appreciated. It sets forth the groundwork on which power is based, and includes steam generators, and engines, as well as wind and water motors, and thoroughly describes the Internal Combustion Engine. It has special chapters on Carbureters, Ignition, and Electrical systems used, and particularly points out the parts and fittings required with all devices needed in enginery. It explains the value of compounding, condensing, pre-heating and expansion, together with the methods used to calculate and transmit power. Numerous original illustrations.
AEROPLANES
This work is not intended to set forth the exploits of aviators nor to give a history of the Art. It is a book of instructions intended to point out the theories of flying, as given by the pioneers, the practical application of power to the various flying structures; how they are built; the different methods of controlling them; the advantages and disadvantages of the types now in use; and suggestions as to the directions in which improvements are required. It distinctly points out wherein mechanical flight differs from bird flight, and what are the relations of shape, form, size and weight. It treats of kites, gliders and model aeroplanes, and has an interesting chapter on the aeroplane and its uses in the great war. All the illustrations have been specially prepared for the work.
CUPPLES & LEON CO., Publishers, NEW YORK
Every Boy's Mechanical Library
MOTORS
BY
J. S. ZERBE, M.E.
Author of
Aeroplanes—Automobiles
ILLUSTRATED
NEW YORK
CUPPLES & LEON COMPANY
Copyright, 1915, by
CUPPLES & LEON COMPANY
| PAGE | |
| Introductory | 1 |
| The Subject. The Inquisitive Trait. The Reasons for Doing Things. The Mystery of Mechanism. Curiosity which prompts Investigation. The Sum of Knowledge. | |
| Chapter I. Motors and Motive Power | 5-21 |
| The Water Fall. Water moves in One Direction only. What is Energy. Stored or Potential Energy. Kinetic Energy. Friction. Resistance. Inertia. The Law of Bodies. Internal and External Resistance. Momentum. Energy Indestructible. Wind Power. Rectilinear Motion. Oscillating Motion. Movements in Nature. How Man Utilizes the Various Movements. Kinds of Potential Energy. The Power in Heat. Energy in Steam. Energy from the Sun. Power from Water. The Turbine. Calculating Power of a Turbine. Horse Power. Foot Pounds. Power and Time. Gravitation. Utilizing the pull of Gravity. Taking Advantages of Forces. Pitting Forces Against each Other. Centripetal and Centrifugal Forces. Power not Created. Developing the Power of Motors. Experimenting. | |
| Chapter II. The Steam Generator | 22-31 |
| Water as an absorbent of Heat. Classification of Boilers. Mode of applying Heat. The Cylindrical Boiler. The Cornish Boiler. The Water Tube Boiler. Various Boiler Types. Compound Steam Boiler. Locomotive Steam Boiler. Vertical Steam Boiler. | |
| Chapter III. Steam Engines | 32-59 |
| The Original Turbine Engine. The Reciprocating Engine. Atmospheric Engine. The Piston. Importance of the Valve. Expanding the Steam. Balanced Valve. Rotary Valve. Engine Accessories. Efficiency of Engines. How Steam acts in a Cylinder. Indicating the Engine. Mean Efficiency. Calculating Horse Power. Condensation. Atmospheric Pressure. The Condenser. Pre-heating. Superheaters. Compounding. Triple and Quadruple Expansion Engines. The Steam Turbine. Pressure and Velocity. Form of Blades. Compounding the Jet. | |
| Chapter IV. Fuels and Combustion | 60-67 |
| Solid Fuels. Liquid Fuels. Combustion. Oxidation. The Hydro-Carbon Gases. Oxygen and the Atmosphere. Internal Combustion. Vaporizing Fuel. Explosion by Heat Compression. How Compression Heats. Elasticity of Gases. Advantages of Compression. The Necessity of Compression. | |
| Chapter V. The Internal Combustion Engine | 68-82 |
| Fixed Gases. Gas Engines. Energy of Carbon and Hydrogen. The Two-Cycle Type. Advantages of the Two-Cycle Engine. The Four-Cycle Engine. The Four Cycles. Ignition Point. Advantages of the Four-Cycle Type. The Loss in Power. Engine Construction. Valve Grinding. The Crank Shaft. The Cams. | |
| Chapter VI. Carbureters | 83-101 |
| Functions of a Carbureter. Rich Mixtures. Lean Mixtures. Types of Carbureters. The Sprayer. The Surface Type. Governing a Carbureter. Primary Air. Needle Valve. Secondary Air. Requirements in a Carbureter. Size of a Carbureter. Rule for Size of Carbureters. The Throttle. Flooding. Adjustability. Surface Carbureters. Float Chamber. | |
| Chapter VII. Ignition, Low Tension System | 102-120 |
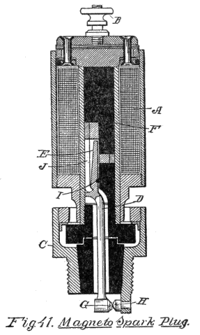
| Electricity. Magnetism. The Armature. Characteristics of Electricity. Make and Break System. Voltage. High and Low Voltage. Low Tension method. Disadvantages of Make and Break. Amperes. Resistance. Direct Current. Alternating Current. Induction. Generating Electricity. Primary Battery. Making a Dry Cell. Energy in a cell. Wiring Methods. Series Connection. Multiple Connection. Series Multiple. Watts. Testing a Cell. Testing with Instruments. Simple Battery Make and Brake System. To Advance the Spark. The Magneto in the Circuit. Magneto Spark Plug. | |
| Chapter VIII. Ignition, High Tension | 121-140 |
| Magnetos. Alternating Current. Cutting Lines of Force. Plurality of Loops. The Electro Magnet. The Dynamo Form. The Magneto Form. Advantages of the Magneto. Induction Coil. Changing the Current. Construction of a Coil. Primary Coil. Secondary Coil. Contact Maker. High Tension with Battery and Coil. Metallic Core for Induction Coil. The Condenser. Operations of a Vibrator Coil. The Distributor. Circuiting with Distributor. | |
| Chapter IX. Mechanical Devices Utilized in Power | 141-157 |
| The Unit of Time. Horse Power. Proney Brake. Reversing Mechanism. Double Eccentric Reversing Gear. Balanced Slide Valve. Balanced Throttle Valve. Engine Governors. Injectors. Feed Water Heaters. | |
| Chapter X. Valves and Valve Fittings | 158-171 |
| Check Valve. Gate Valve. Globe Valve. The Corliss Valve. Corliss Valve-operating Mechanism. Angle Valve. Rotary Valves. Rotable Engine Valves. Throttle Valves. Blow-off Valves. Pop-Safety Valves. | |
| Chapter XI. Cams and Eccentrics | 172-178 |
| Simple Cams. Wiper Wheels. Cylindrical Cam Motion. Eccentrics. Triangularly-formed Eccentrics. | |
| Chapter XII. Gears and Gearing | 179-190 |
| Racks and Pinions. Mangle Rack. Controlling the Pinion. Dead Center. Crank Motion Substitute. Mangle Wheels. Quick Return Motion. Accelerated Motion. Quick-return Gearing. Scroll Gearing. | |
| Chapter XIII. Special Types of Engines | 191-201 |
| Temperatures. Artificial Heat. Zero. Liquids and Gases. Refrigeration. Rotary Engines. Caloric Engines. Adhesion Engines. | |
| Chapter XIV. Enginery in the Development of the Human Race | 202-207 |
| Power in Transportation. Power vs. Education and the Arts. Lack of Power in the Ancient World. The Early Days of the Republic. Lack of Cohesiveness in Countries Without Power. The Railroad as a Factor in Civilization. The Wonderful Effects of Power. England as a User of Power. The Automobile. High Character of Motor Study. The Unlimited Field of Power. | |
| Chapter XV. The Energy of the Sun, and How Heat is Measured | 208-216 |
| Fuel Economy. Direct Conversion. The Measurement of Heat. Caloric. Material Theory. Heat Transmitted in Three Ways. Conduction. Convection. Radiation. | |
| Glossary | 217 |
LIST OF ILLUSTRATIONS
The motor is the great dominating factor in the world of industry. Every wheel and spindle; every shaft and loom, and every piece of mechanism which has motion, derives it from some sort of motor.
The term motor has a wider significance than any other word. A steam engine is a motor, and so, also, is a dynamo, a water wheel or a wind mill.
It would be just as descriptive to call a wind mill a wind motor, or a steam engine a steam motor, as to adhere to the old terms; and, on the other hand, since it would be out of place to call a dynamo or a wind mill an engine, the word motor seems best adapted to express the meaning of every type of mechanism which transforms energy into motion.
In considering the subject I shall proceed on the theory that the boy knows nothing whatsoever of the subject, nor the terms used to designate the various phases, subjects and elements. It must be elementary in its character, and wholly devoid of technical terms or sentences.
While it is necessary to give information in a book of this character, on the methods for figuring out power, it must be done without resorting to the formulas usually employed in engineering works, as they are of such a nature that the boy must have some knowledge of the higher mathematics to follow out the calculations employed.
Indeed, every phase should be brought within the mental view of the boy, and to do this may occasionally necessitate what might appear to be long drawn out explanations, all of which, it is hoped, will be the means of more clearly presenting the subject.
The opening chapters, which treat of the fundamentals, will be as nearly complete as possible, and thus lay a foundation for the work we shall be called upon to perform, when we treat of the structures of the different parts and devices in the various types of motors.
The object is to explain power in its various phases, how derived, and the manner in which advantage is taken of the elements, and substances with which we are brought into contact. The reasons for each step are plainly set forth with the view of teaching the boy what power means, rather than to instruct him how to make some particular part of the machinery.
The Inquisitive Trait.—My experience has impressed [Pg 3] me with the universality of one trait in boys, namely, that of inquisitiveness. Put a machine before a boy and allow him to dissect it, and his curiosity will prompt him to question the motive for the particular construction of each part of its make-up.
The Reasons for Doing Things.—He is interested in knowing the reason why. Every boy has the spirit of the true investigator,—that quality which seeks to go behind or delve down deeply. This is a natural instinct.
The Mystery of Mechanism.—If this taste is gratified, and he thereby learns the mystery of the machine, what a wonderful world is opened to him! The value of the lesson will depend, in a large measure, on the things which he has found out for himself. It is that which counts, because he never forgets that which he has dug out and discovered.
Curiosity Which Prompts Investigation.—I recall a farmer's boy whose curiosity led him to investigate the binding mechanism of a reaper. It was a marvel to him, as it has been to many others. He studied it day after day, and finally, unaided mastered the art. That was something which could not be taken away from him.
It was a pleasure to hear him explain its operation to a group of boys, and men, too, in which he [4] used the knot itself to explain how the various fingers and levers coöperated to perform their functions. It was an open book to him, but there was not one in the group of listeners who could repeat the explanation.
The Sum of Knowledge.—It is the self-taught boy who becomes the expert. The great inventors did not depend on explanations. A book of this character has a field of usefulness if it merely sets forth, as far as possible, the sum of useful knowledge which has been gained by others, so as to enable the boy to go forward from that point, and thus gain immensely in time.
There is so much that has been developed in the past, with reference to the properties of matter, or concerning the utility of movements, and facts in the realm of weights, measures, and values of elements which he must deal with, that, as he studies the mechanical problems, the book becomes a sort of cyclopedia, more than a work designed to guide him in the building of special engines or motors.
The Author.
MOTORS AND MOTIVE POWER
What makes the wheels turn round? This simple question is asked over and over again. To reply means pages of answers and volumes of explanations.
The Water Fall.—Go with me to the little stream I have in mind, and stand on the crest of the hill where we can see the water pouring down over the falls, and watch it whirling away over the rocks below.
The world was very, very old, before man thought of using the water of the falls, or the rushing stream below, to grind his corn or to render him other service.
Water Moves in One Direction Only.—What the original man saw was a body of water moving in one direction only. When he wanted to grind corn he put it in the hollow of a rock, and then beat it with a stone, which he raised by hand at [6] each stroke. In doing so two motions were required in opposite directions, and it took thousands of years for him to learn that the water rushing along in one direction, could be made to move the stone, or the pestle of his primitive grinding mill, in two directions.
It took him thousands of years more to learn another thing, namely, that the water could be made to turn the stone round, or rotate it, and thus cause one stone, when turning on another, to crush and grind the grain between them.
Now, as we go along with the unfolding of the great question of motors, we must learn something of the terms which are employed, to designate the different things we shall deal with, and we ought to have some understanding of the sources of power.
What Is Energy?—The running, as well as the falling water represent energy. This is something which is in the thing, the element, or the substance itself. It does not come from without. It is not imparted to it by anything.
Stored or Potential Energy.—At the top of the falls, look at that immense rock. It has been there for centuries. It, also, has energy. There is stored within it a tremendous power. You smile! Yes, the power has been there for ages, and now by a slight push it is sent crashing down [7] the precipice. The power developed by that fall was thousands of times greater than the push which dislodged it.
But, you say, the push against the stone represented an external force, and such being the case, why do you say that power is within the thing itself? The answer is, that not one iota of the power required to push the stone off its seat was added to the power of the stone when it fell. Furthermore, the power required to dislodge the stone came from within me, and not from any outside source.
Here we have two different forms of energy, but both represent a moving force. The power derived from them is the same.
Kinetic Energy.—The energy of the falling water or stone is called Kinetic energy. In both cases the power developed came from within themselves and not from any exterior source.
The difference between Potential and Kinetic Energy is therefore that Potential Energy represents the capacity to do work, while Kinetic Energy is the actual performance of work.
Friction.—In every form of energy there is always something to detract from it or take away a portion of its full force, called friction. When a shaft turns, it rubs against the bearings, and more or less power is absorbed.
When a wheel travels over the ground friction is ever present. The dislodging of the stone required ten pounds of energy, but a thousand pounds was developed by the fall. The water rushing along its rocky bed has friction all along its path.
Resistance.—This friction is a resistance to the movement of a body, and is ever present. It is necessary to go back and examine the reason for this. As long as the stone was poised at the top of the precipice it had latent or potential energy, which might be termed power at rest. When it fell it had power in motion. In both cases gravity acted upon the stone, and in like manner on the water pouring over the falls.
Inertia.—Inertia or momentum is inherent in all things and represents the resistance of any body or matter, to change its condition of rest or standing still into motion, and is then called Inertia of Rest, or the resistance it offers to increase or decrease its speed when moving, and is then called Inertia of Motion.
Inertia or momentum is composed by the weight of the body and its speed and is measured by multiplying its weight by its speed.
The law is, that when a body is at rest it will remain at rest eternally, and when in motion it will continue in motion forever, unless acted on [9] by some external force or resistance. An object lying on the ground has the frictional resistance of the earth to prevent its moving. When the object is flying through space it meets the air and has also the downward pull of gravity, which seek to bring it to rest.
These resisting forces are less in water, and still less in gases, and there is, therefore, a state of mobility in them which is not found in solids.
Internal and External Resistance.—All bodies are subject to internal, as well as external resistance. The stone on the cliff resisted the movement to push it over. Weight was the resisting internal force, but when the stone was moving through the air, the friction with the air created external resistance.
Energy Indestructible.—There is another thing which should be understood, and that is the absolute indestructibility of energy. Matter may be changed in form, or in the direction of its motion, by the change of kinetic into potential energy, or vice versa, but the sum total of the energy in the world is unalterable or constant.
The tremendous power developed by the stone when it plunged through space and struck the rocks below, developed a heat at its impact. Thus the moving force which was a motion in one direction was converted into another form of energy, [10] heat. The expansion of the material exposed to the heat also represented energy.
When powder explodes and absolutely changes the form of the substance, its volume of expansion, if it should be retained within a vessel, would perform a certain amount of work, and the energy is thus transferred from one form to another without ceasing.
Wind Power.—Primitive man also saw and felt the winds. He noted its tremendous power, but he could not see how a force moving in one direction only could be utilized by him.
Rectilinear Motion.—This movement of the wind in one direction, like the water flowing along the bed of the river, is called rectilinear motion. It required invention to convert rectilinear into circular motion.
Oscillating Motion.—When he threshed his grain and winnowed it by shaking it to and fro, to rid it of the chaff, the idea of using the wind to produce an oscillating motion did not occur to him. After circular motion was produced, the crank was formed and thus the oscillating movement was brought about.
Movements in Nature.—All movements in nature are simple ones, of which the following are illustrations:
1. Rectilinear, which, as stated, means in a straight line.
2. Circular, like the motion of the earth on its axis, once every twenty-four hours.
3. Oscillatory, like a to and fro movement, the swaying branches of trees, or the swinging of a pendulum.
How Man Utilizes the Various Movements.—What man has done is to utilize the great natural forces in nature in such a way as to produce these movements at will, in either direction, with greater or less speed, at regular or irregular intervals, and at such amplitudes as are required to perform the necessary work.
Kinds of Potential Energy.—Now, materials have within themselves potential energy of various kinds. Thus, powder, if ignited, will burn, and in burning will expand, or explode, as we term it. This is true also of oils and gases. The expansion pressure produced from such substances depends on the speed at which they will burn, and in so confining the burning substances that a great pressure is produced.
The Power in Heat.—The pressure of all such substances against the confining medium depends on heat. Any gas which has 523 degrees of heat imparted to it will expand double its volume. If [12] one cubic inch of water is converted into steam the latter will occupy one cubic foot of space under atmospheric pressure,—that is, it will expand over 1700 times.
Energy in Steam.—If the steam thus generated is now subjected to 523 degrees of heat additional, it will occupy over 3400 cubic inches of space. It will thus be seen why steam, gas, and gasoline engines are called heat engines, or heat motors.
Energy From the Sun.—Many attempts have been made to utilize the heat of the sun, to turn machinery, but the difficulty has been to secure sufficient heat, on the one hand, and on the other to properly cool down the heated gases, so that the various liquid and solid fuels are required to make the heat transformations.
Power From Water.—In the use of water two forms are available, one where the water is moving along or falling in a constant open stream; and the other where the flowing water is confined and where its flow can be regulated and controlled. The latter is more available for two reasons:
First: Economy in the use of water.
Second: Ability to control the speed or movement of the motor.
With running or falling streams a large surface [13] is required, and the wheels turn slowly. Two well-recognized forms of wheels have been employed, one called the undershot, or breast wheel, shown in Fig. 1, and the other the overshot, illustrated in Fig. 2.
In both types it is difficult to so arrange them as to shut off the power or water pressure when required, or to regulate the speed.
The Turbine.—Wheels which depend on the controllable pressure of the water are of the turbine type. The word is derived from the Latin word turbo, meaning to whirl, like a top. This is a [14] type of wheel mounted on the lower end of a vertical or horizontal shaft, within, or at the bottom, of a penstock. The perimeter of the wheel has blades, and the whole is enclosed within a drum, so that water from the penstock will rush through the tangentially-formed conduit into the drum, and strike the blades of the wheel.
A column of water one inch square and twenty-eight inches high weighs one pound,—or, to express it in another way, the pressure at the bottom [15] of such a column is one pound, and it is a pound for each additional 28 inches.
If there should be a head or height of water column of seven feet, the pressure on each square inch of water at the bottom of the penstock would be three pounds to the square inch. Assuming the opening or duct leading to the wheel blades should be 12 × 12 inches, and also the blades be 12 × 12 inches, the area would be equal to 144 square inches, and this multiplied by three pounds would equal 432 pounds pressure against the blades.
Calculating Power of a Turbine Wheel.—The power of such a wheel depends principally on two things. First, the arrangement of the blades with reference to the inflowing water; and, second, the discharge port, or ability of the water to free itself from the wheel casing.
Let us assume that the diameter of the wheel at the center of the blades is two feet, which would, roughly estimating, give a circumference of six feet, or a travel of each particular blade that distance at each turn of the wheel.
If the wheel turns one hundred times a minute, and this is multiplied by the circumference of the wheel (six feet), the result is 600 feet. This, again, multiplied by 432 pounds (which represents the pressure of the water on the entire discharge [16] opening), and we have a product of 259,200, which represents foot pounds.
This means the same work as if 259,200 pounds would have been lifted through a space of one foot in one minute of time. To ascertain how much power has been developed we must know how many foot pounds there are in a horse power.
Horse Power.—It is determined in this way: any force which is capable of raising 550 pounds one foot in one second of time, is developing one horse power. A man might have sufficient strength to raise such a weight once, twice, or a dozen times in succession, but if he should try to do it sixty times a minute he would find it a trying, if not impossible task.
Foot Pounds.—If he should be able to lift 550 pounds sixty times within a minute, he would have lifted 33,000 pounds one foot in one minute of time (550 × 60), and thus have developed one horse power.
As the water wheel, in our calculations above, raised 259,200 pounds in that period of time, this figure divided by 33,000 shows that a little more than 73/4 horse power was developed, assuming, of course, that we have not taken into account any waste, or loss by friction, or otherwise.
This method of determining one horse power should be carefully studied. Always keep in mind [17] the main factor, 33,000 pounds, and this multiplied by one foot, the result will be 33,000 foot pounds,—that is, one horse power.
It would be just the same, however, if it were possible to raise one pound 550 times in one second, or one pound 33,000 times within a minute.
Power and Time.—You are thus brought face to face with another thing which is just as important, namely, that, in considering power, time, as well as energy, must be considered. If a man, by superior strength, could be able to raise 550 pounds once within a second, then skip a few seconds, take another hold, and again raise it that distance, he would not be developing one horse power for a minute, but only for one second while he lifted the weight. For the whole minute he would only develop a certain number of foot pounds, and less than 33,000 foot pounds.
If, within a minute, he succeeded in raising it one foot for six times, this would be six times 550, equal to 3,300 foot pounds, or just one-tenth of one horse power for one minute; so time is just as important as the amount lifted at each effort.
Gravitation.—Now, let us examine power from another standpoint. Every attempt which man makes to produce motion is an effort to overcome some resistance. In many cases this is "weight or gravity." While humanity unceasingly antagonizes [18] the force of gravity it is constantly utilizing the laws of gravitation.
Utilizing the Pull of Gravity.—The boy laboriously drags his sled to the top of the hill against gravity, and then depends on that force to carry him down. We have learned to set up one force in nature against the other. The running stream; the moving winds; the tides; the expansive force of all materials under heat, are brought into play to counteract the great prevailing agency which seeks to hold everything down to mother earth.
Utilizing Forces.—The Bible says: Blessed is he who maketh two blades of grass grow where one grew before. To do that means the utilization of forces. Improved machinery is enabling man to make many blades grow where one grew before. New methods to force the plow through the soil; to dig it deeper; to fertilize it; and to harvest it; all require power.
Pitting Forces Against Each Other.—Man has discovered how to pit the forces of nature against each other, and the laws which regulate them.
Centripetal and Centrifugal Forces.—Gravity, that action which seeks to draw all matter toward the center of the earth, is termed centripetal [19] force. But as the earth rotates on its axis another force is exerted which tends to throw substances outwardly, like dirt flying from the rim of a wheel. This is called centrifugal force.
Man utilizes this force in many ways, one of which is illustrated in the engine governor, where the revolving balls raise the arms on which they swing, and by that means the engine valve is regulated.
Power Not Created.—In taking up the study of this subject start with a correct understanding of the source of all power. It is inherent in all things. All we can do is to liberate it, or to put the various materials in such condition, that they will exert their forces for our uses. (See Page nine, "Energy Indestructible.")
A ton of coal, when burned, produces a certain amount of heat, which, if allowed to escape, will not turn a wheel. But if confined, it expands the air, or it may convert water into steam which will turn ponderous machinery. Niagara Falls has sent its great volume into the chasm for untold centuries, but it has never been utilized until within the last twenty years. The energy has been there, nevertheless; and so it is with every substance of which we have knowledge.
The successive steps, wherein the experimenter [20] and the inventor have greatly improved on the original inventions, will be detailed as we go along through the different types of motors.
Developing the Power of Motors.—This development in the art is a most fascinating study. It is like the explorer, forcing his way through a primeval forest. He knows not what is beyond. Often, like the traveler, he has met serious obstructions, and has had to deviate from his course, only to learn that he took the wrong direction and had to retrace his steps.
The study of motors and motive power is one which calls for the highest engineering qualities. In this, as in every other of the mechanical arts, theory, while it has an important function, occupies second place.
Experimenting.—The great improvements have been made by building and testing; the advance has been step by step. Sometimes a most important invention will loom up as a striking example to show how a valuable feature lies hidden and undeveloped.
An illustration of this may be cited with respect to the valve of the steam engine. For four hundred years there was no striking improvement in the valve. The various types of sliding and rocking valves were modified and refined until it was assumed that they typified perfection. At one [21] stroke the Corliss valve made such an immense improvement that the marvel was as much in its simplicity as in its performance.
The reasons and the explanations will be set forth in the section which analyzes valve motion. In this, as in other matters, it shall be our aim to explain why the different improvements were regarded as epochs in the production of motors.
THE STEAM GENERATOR
The most widely known and utilized source of power is the steam engine. Before its discovery wind and water were the only available means, except the muscular power of man, horses and other animals, which was used with the crudest sort of contrivances.
In primitive days men did not value their time, so they laboriously performed the work which machinery now does for us.
The steam engine, like everything else which man has devised, was a growth, and, singular as it may seem, the boiler, that vital part of the organism, was, really, the last to receive due consideration and improvement.
As the boiler is depended upon to produce the steam pressure, and since the pressure depends on the rapid and economical evaporation of water, the importance of the subject will be understood in treating of the steam engine.
Water as an Absorbent of Heat.—Water has the capacity to absorb a greater amount of heat [23] than any other substance. A pewter pot, which melts at 500 degrees, will resist 2000 degrees of heat if it is filled with water, since the latter absorbs the heat so rapidly that the temperature of the metal is kept near the boiling point of water, which is 212 degrees.
Notwithstanding the great heat-absorbing qualities of water, a large portion of the heat of the fuel passes through the flues and escapes from the stack. This fact has caused inventors to devise various forms of boilers, the object being to present as large an area of water as possible to the heat of the burning fuel. How that was accomplished we shall try to make plain.
Classification of Boilers.—Numerous types of boilers have been devised, the object being, in all cases to evaporate the largest amount of water with the minimum quantity of fuel. All boilers may be put under two general heads, namely, those which contain a large quantity of water, and those which are intended to carry only a small charge.
In the first division the boilers are designed to carry a comparatively small pressure, and in the latter high pressures are available.
Mode of Applying Heat.—The most important thing to fully understand is the manner in which heat is applied to the boiler, and the different [24] types which have been adapted to meet this requirement.
The Cylindrical Boiler.—The most primitive type of boiler is a plain cylindrical shell A, shown in Fig. 3, in which the furnace B is placed below, so that the surface of the water in contact with the fire area is exceedingly limited.
In such a type of boiler it would be impossible for water to extract more than quarter the heat of the fuel. Usually it was much less. The next step was to make what is called a return tubular type in which the heat of the burning gases is conveyed to the rear end of the boiler, and then returned to the front end through tubes.
Fig. 4 shows this construction. The head of the shell holds the ends of a plurality of tubes, and the products of combustion pass through the [25] conduit, below the boiler to the rear end, and are conducted upwardly to the tubes. As all the tubes are surrounded by water, it will absorb a large amount of the heat as the gases move through, and before passing out of the stack.
The Cornish Boiler.—One of the most important inventions in the generation of steam was the Cornish boiler, which for many years was the recognized type for marine purposes. It had the advantage that a large amount of water could be carried and be subjected to heat at all times. [26] Aside from that it sought to avoid the great loss due to radiation.
It will be seen from an examination of Fig. 5 that the shell is made very large, and its length does not exceed its diametrical measurement. Two, and sometimes three, fire tubes are placed within the shell, these tubes being secured to the heads. Surrounding these fire tubes, are numerous small tubes, through which the products of combustion pass after leaving the rear ends of the fire tubes.
In these boilers the tubes are the combustion chambers, and are provided with a grating for receiving the coal, and the rear ends of the tubes are provided with bridge walls, to arrest, in a measure, the free exit of the heated gases.
These boilers would be very efficient, if they could be made of sufficient length to permit the water to absorb the heat of the fuel, but it will be seen that it would be difficult to make them of very great length. If made too small diametrically the diameter of the fire boxes would be reduced to such an extent that there would not be sufficient grate surface.
It is obvious, however, that this form of boiler adds greatly to the area of the water surface contact, and in that particular is a great improvement.
The Water Tube Boiler.—In the early days of the development of boilers, the universal practice was to have the products of combustion pass through the flues or the tubes. But quick generation of steam, and high pressures, necessitated a new type. This was accomplished by connecting an upper, or steam drum, with a lower, or water drum, by a plurality of small tubes, and causing the burning fuel to surround these tubes, so that the water, in passing upwardly, would thus be subjected to the action of the fuel.
This form of boiler had two distinct advantages. First, an immense surface of water could be provided for; and, second, the water and steam drums could be made very small, diametrically, and thus permit of very high pressures.
In Fig. 6, which is designed to show a well known type of this structure, A A, represent the water drums and B, the steam drum. The water drums are separated from each other, so as to provide for the grate bars C, and each water drum is connected with the steam drum by a plurality of tubes D.
It will thus be seen that a fire box, or combustion chamber, is formed between the two sets of tubes D, and to retain the heat, or confine it as closely as possible to the tubes, a jacket E is placed around the entire structure.
The ends of the water and steam drums are connected by means of tubes F, shown in side view, Fig. 7, for the return or downward flow of the water. The diagrams are made as simple as possible, to show the principal features only. The structure illustrated has been modified in many ways, principally in simplifying the construction, and in providing means whereby the products of combustion may be brought into more intimate contact with the water during its passage through the structure.
As heretofore stated, this type of boiler is designed to carry only a small quantity of water, so that it is necessary to have practically a constant inflow of feed water, and to economize in this respect the exhaust of the steam engine is used to initially heat up the water, and thus, in a measure, start the water well on its way to the evaporation point before it reaches the boiler.
Various Boiler Types.—The different uses have brought forth many kinds of boilers, in order to [30] adapt them for some particular need. It would be needless to illustrate them, but to show the diversity of structures, we may refer to some of them by their characteristics.
Compound Steam-Boiler.—This is a battery of boilers having their steam and water spaces connected, and acting together to supply steam to a heating apparatus or a steam engine. These are also made by combining two or more boilers and using them as a feed water heater or a superheater, for facilitating the production of steam, or to be used for superheating steam.
The terms feed water heater and super heater are explained in chapter III.
Locomotive Steam-Boiler.—This is a tubular boiler which has a contained furnace and ash pit, and in which the gases of combustion pass from the furnace directly into the horizontal interior tubes, and after passing through the tubes are conveyed directly into the smoke box at the opposite ends of the tubes. The name is derived from the use of such boilers on locomotive engines, but it is typical in its application to all boilers having the construction described, and used for generating steam.
Vertical Steam-Boiler.—This is a form of construction in which the shell, or both the shell and the tubes, are vertical, and the tubes themselves [31] may be used to convey the products of combustion, or serve as the means for conveying water through them, as in the well known water tube type.
This form of boiler is frequently used to good advantage where it is desired to utilize ground space, and where there is sufficient head room. Properly constructed, it is economical as a steam generator.
From the foregoing it will be seen that the structural features of all boilers are so arranged as to provide for the exposure of the largest possible area of water to a heated surface so that the greatest amount of heat from the fuel may be absorbed.
STEAM ENGINES
The first steam engine was an exceedingly simple affair. It had neither eccentric, cylinder, crank, nor valves, and it did not depend upon the pressure of the steam acting against a piston to drive it back and forth, because it had no piston.
It is one of the remarkable things in the history and development of mechanism, that in this day of perfected steam engines, the inventors of our time should go back and utilize the principles employed in the first recorded steam engine, namely, the turbine. Instead of pressure exerting a force against a piston, as in the reciprocating engine, the steam acted by impacting against a moving surface, and by obtaining more or less reaction from air-resistance against a freely discharging steam jet or jets.
The original engine, so far as we have any knowledge, had but one moving part, namely, a vertical tubular stem, to which was attached a cross or a horizontal tube.
The Original Engine.—Figure 8 is a side view [33] of the original engine. The vertical stem A is pivoted to a frame B, and has a bore C which leads up to a cross tube D. The ends of the tube D are bent in opposite directions, as shown in the horizontal section, Fig. 9.
Steam enters the vertical stem by means of a pipe, and as it rushes up and out through the lateral tubes D, it strikes the angles E at the discharge ends, so that an impulse is given which drives the ends of the tube in opposite directions. [34] As the fluid emerges from the ends of the tubes, it expands, and on contacting with the air, the latter, to a certain extent, resists the expansion, and this reacts on the tube. Thus, both forces, namely, impact and reaction, serve to give a turning motion to the turbine.
The Reciprocating Engine.—The invention of this type of engine is wrapped in mystery. It has been attributed to several. The English maintain that it was the invention of the Marquis of Worcester, who published an account of such an engine about 1650. The French claim is that Papin discovered and applied the principle before the year 1680.
In fact, the first actual working steam engine was invented and constructed by an Englishman, Captain Savery, who obtained a patent for it in 1698. This engine was so constructed as to raise water by the expansion and condensation of steam, and most engines of early times were devoted solely to the task of raising water, or were employed in mines.
Atmospheric Engines.—When we examine them it is difficult to see how we can designate them as steam engines. The steam did not do the actual work, but a vacuum was depended on for the energy developed by the atmospheric pressure.
A diagram is given, Fig. 10, showing how engines [35] of this character were made and operated. A working beam A was mounted on a standard B, and one end had a chain C on which was placed heavy weights D. Near this end was also attached the upper end of a rod E, which extended down to a pump.
The other end of the working beam had a chain F, which supported a piston G working within a vertically-disposed cylinder H. This cylinder was located directly above a boiler I, and a pipe J, with a valve therein, was designed to supply steam to the lower end of the cylinder.
A water tank K was also mounted at a point [36] above the cylinder, and this was supplied with water from the pump through a pipe L. Another pipe M from the tank conducted water from the tank to the bottom of the cylinder.
The operation of the mechanism was as follows: The steam cock N, in the short pipe J, was opened to admit steam to the cylinder, below the piston. The stem of the steam cock also turned the cock in the water pipe M, so that during the time the steam was admitted the water was shut off.
When the steam was admitted so that it filled the space below the piston, the cock N was turned to shut off the steam, and in shutting off the steam, water was also admitted. The injection of water at once condensed the steam within the cylinder so a partial vacuum was formed.
It will be remembered that as steam expanded 1700 times, the condensation back into water made a very rarified area within the cylinder, and the result was that the piston was drawn down, thus raising both the weight D and also the pump rod E. This operation was repeated over and over, so long as the cock N was turned.
The turning of the stem of this cock was performed manually,—that is, it had to be done by hand, and boys were usually employed for doing this. When, later on, some bright genius discovered [37] that the valve could be turned by the machinery itself, it was regarded as a most wonderful advance.
The discovery of this useful function has been attributed to Watt. Of this there is no conclusive proof. The great addition and improvements made by Watt, and which so greatly simplified and perfected the engine, were through the addition of a separate condenser and air pump, and on these improvements his fame rests.
From the foregoing it will be seen that the weight D caused the piston to travel upwardly, and not the force of the steam, and the suction produced by the vacuum within the cylinder did the work of actuating the pump piston, so that it drew up the water.
The Piston.—From this crude attempt to use steam came the next step, in which the steam was actually used to move the piston back and forth and thus actually do the work. In doing so the ponderous walking beam was dispensed with, and while, for a long period the pistons were vertically-placed, in time a single cylinder was used, and a crank employed to convert the reciprocating into a circular motion.
Fig. 11 shows a simple diagram of a steam engine, so arranged that the operation of the valves may be readily understood. The cylinder A has [38] a steam chest B, which contains therein a slide valve C to cover the ports at the ends of the cylinder. This figure shows the crank turning to the right, and the eccentric D on the engine shaft is so placed, that while the crank E is turning past the dead center, from 1 to 2, the slide valve C is moved to the position shown in Fig. 12, thereby covering port F and opening port G.
It will be seen that the slide valve is hollowed within, as at H, and that the exhaust port I leads from this hollowed portion while the live steam [39] from the boiler enters through pipe J and fills the space K of the chest.
In Fig. 11 live steam has been entering port F, thus driving the piston to the right. At the same time the exhaust steam at the right side of the piston is discharging through the port G and entering the hollow space within the slide valve. In Fig. 12 the conditions are reversed, and now live steam enters port G, and the exhaust passes out through port F.
When the engine crank reaches the point 3, which is directly opposite 1, the reverse action takes place with the slide valve, and it is again moved to its original position, shown in Fig. 12.
Importance of the Valve.—Every improvement which has been made in the engine has been directed to the valve. The importance of this should be fully understood. As the eccentric is constantly turning it is a difficult matter to so arrange the valve as to open or close it at the correct time, absolutely, and many devices have been resorted to to accomplish this.
Expanding the Steam.—As all improvements were in the direction of economizing the use of steam, it was early appreciated that it would be a waste to permit the steam to enter the cylinder during the entire period that the engine traveled from end to end, so that the valve had to be constructed [40] in such a way that while it would cut off the admission of steam at half or three-quarters stroke, the exhaust would remain on until the entire stroke was completed.
Some engines do this with a fair degree of accuracy, but many of them were too complicated for general use. In the form of slide valve shown the pressure of the steam on the upper side, which is constant at all times, produces a great wearing action on its seat. This necessitated the designing of a type of valve which would have a firm bearing and be steam tight without grinding.
Balanced Valve.—One of the inventions for this purpose is a valve so balanced by the steam pressure that but little wear results. This has been the subject of many patents. Another type also largely used in engines is known as the oscillating valve, which is cylindrical or conical in its structure, and which revolves through less than a complete revolution in opening and closing the ports.
Rotary Valve.—The rotary valve, which constantly turns, is employed where low pressures are used, but it is not effectual with high pressures. This is also cylindrical in its structure, and has one or more ports through it, which coincide with the ports through the walls of the engine, as it turns, and thus opens the port for admitting [41] live steam and closing the discharge port at the same time or at a later period in its rotation.
Engine Accessories.—While the steam engine is merely a device for utilizing the expansive force of steam, and thus push a cylinder back and forth, its successful operation, from the standpoint of economy, depends on a number of things, which are rarely ever heard of except by users and engineers.
Many of these devices are understood only by those who have given the matter thorough study and application. To the layman, or the ordinary user, they are, apparently, worth but little consideration. They are the things, however, which have more than doubled the value of the steam engine as a motor.
Efficiency of Engines.—When it is understood that with all the refinements referred to the actual efficiency of a steam engine is less than 30 per cent. some idea may be gained of the value which the various improvements have added to the motor.
Efficiency refers to the relative amount of power which is obtained from the burning fuel. For instance, in burning petroleum about 14,000 heat units are developed from each pound. If this is used to evaporate water, and the steam therefrom [42] drives an engine, less than 4200 heat units are actually utilized, the remaining 9800 heat units being lost in the transformation from the fuel to power.
The value of considering and providing for condensation, compression, superheating, re-heating, compounding, and radiation, and to properly arrange the clearance spaces, the steam jackets, the valve adjustments, the sizes of the ports and passages, and the governor, all form parts of the knowledge which must be gained and utilized.
How Steam Acts in a Cylinder.—Reference has been made to the practice of cutting off steam before the piston has made a full stroke, and permitting the expansive power of the steam to drive the piston the rest of the way, needs some explanation.
As stated in a preceding chapter the work done [43] is estimated in foot pounds. For the purpose of more easily comprehending the manner in which the steam acts, and the value obtained by expansion, let us take a cylinder, such as is shown in Fig. 13, and assume that it has a stroke of four feet. Let the cylinder have a diameter of a little less than one foot, so that by using steam at fifty pounds pressure on every square inch of surface, we shall have a pressure of about 5000 pounds on the piston with live steam from the boiler.
In the diagram the piston moves forwardly to the right from 0 to 1, which represents a distance of one foot, so that the full pressure of the steam of the boiler, representing 5000 pounds, is exerted on the piston. At 1 the steam is cut off, and the piston is now permitted to continue the stroke through the remaining three feet by the action of the steam within the cylinder, the expansive force alone being depended on.
As the pressure of the steam within the cylinder is now much less and decreases as the piston moves along, we have taken a theoretical indication of the combined pressure at each six inch of the travel of the piston. The result is that we have the following figures, namely, 4000, 2700, 1750, 1000, 450 and 100. The sum of these figures is 10,000 pounds.
The piston, in moving from 0 to 1, moved one [44] foot, we will say, in one second of time, hence the work done by the direct boiler pressure was 5000 foot pounds; and since the piston was moved three feet more by the expansion of the steam only, after the steam pressure was shut off, the work done in the three seconds required to move the piston, was an additional 5000 foot pounds, making a total of 10,000 foot pounds for four seconds, 150,000 foot pounds per minute, or about 45 horse power.
This movement of the piston to the right, represented only a half revolution of the crank, and the same thing occurs when the piston moves back, to complete the entire revolution.
Indicating the Engine.—We now come to the important part of engine testing, namely, to ascertain how much power we have obtained from the engine. To do this an indicator card must be [45] furnished. A card to indicate the pressure, as we have shown it in the foregoing diagram would look like Fig. 14.
The essential thing, however, is to learn how to take a card from a steam engine cylinder, and we shall attempt to make this plain, by a diagram of the mechanism so simplified as to be readily understood.
In Fig. 15 we have shown a cylinder A, having within a piston B, and a steam inlet pipe C. Above the cylinder is a drum D, mounted on a vertical axis, and so geared up with the engine shaft that it makes one complete turn with each shaft revolution. A sheet of paper E, ruled with cross lines, is fixed around the drum.
The cylinder A has a small vertical cylinder [46] F connected therewith by a pipe A, and in this cylinder is a piston H, the stem I of which extends up alongside of the drum, and has a pointed or pencil J which presses against the paper E.
Now, when the engine is set in motion the drum turns in unison with the engine shaft, and the pressure of the steam in the cylinder A, as it pushes piston B along, also pushes the piston H upwardly, so that the pencil point J traces a line on the ruled paper.
It will be understood that a spring is arranged on the stem I in such a manner that it will always force the piston H downwardly against the pressure of the steam.
Mean Efficiency.—We must now use a term which expresses the thing that is at the bottom of all calculations in determining how much power is developed. You will note that the pressure on the piston during the first foot of its movement was 10,000 pounds, but that from the point 1, Fig. 13, to the end of the cylinder, the pressure constantly decreased, so that the pressure was not a uniform one, but varied.
Suppose we divide the cylinder into six inch spaces, as shown in Fig. 13, then the pressure of the steam at the end of each six inches will be the figures given at bottom of diagram, the sum total [47] of which is 30,000, and the figures at the lower side show that there are eight factors.
The figure 10,000 represents, of course, two six inch spaces in the first foot of travel.
The result is, that, if we divide the sum total of the pressures at the eight points by 8, we will get 3750, as the mean pressure of the steam on the piston during the full stroke of the piston.
In referring to the foot pounds in a previous paragraph, it was assumed that the piston moved along each foot in one second of time. That was done to simplify the statement concerning the use of foot pounds, and not to indicate the time that the piston actually travels.
Calculating Horse Power.—We now have the first and most important factor in the problem,—that is, how much pressure is exerted against the piston at every half revolution of the crank shaft. The next factor to be determined is the distance that the piston travels in one minute of time.
This must be calculated in feet. Let us assume that the engine turns the crank shaft at a speed of 50 revolutions a minute. As the piston travels 8 feet at each revolution, the total distance traveled is 400 feet.
If, now, we have a constant pressure of 3750 pounds on the piston, and it moves along at the [48] rate of 400 feet per minute, it is obvious that by multiplying these two together, we will get the figure which will indicate how many pounds the steam has lifted in that time.
This figure is found to be 1,500,000, which means foot pounds, as we have by this means measured pressure by feet, or pounds lifted at each foot of the movement of the piston.
As heretofore stated, we must now use the value of a horse power, so that we may measure the foot pounds by it. If we had a lot of wheat in bulk, and we wanted to determine how much we had, a bushel measure would be used. So with power. The measure, as we have explained, is 33,000, and 1,500,000 foot pounds should give as a result a little over 45 horse power.
Condensation.—We now come to the refinements in engine construction,—that which adds so greatly to the economy of operation. The first of these is condensation. The first reciprocating engine depended on this to do the actual work. In this age it is depended upon simply as an aid.
The first thing however that the engineer tries to do is to prevent condensation. This is done by jacketing the outside of the cylinder with some material which will prevent radiation of heat, or protect the steam within from being turned back [49] into water by the cool air striking the outside of the cylinder.
Atmospheric Pressure.—On the other hand, there is a time when condensation can be made available. The pressure of air on every square inch of surface is 143/4 pounds. When a piston moves along and steam is being exhausted from the cylinder, it must act against a pressure of 143/4 pounds on every square inch of its surface.
The problem now is to get rid of that back pressure, and the old type engines give a hint how it may be done. Why not condense the steam discharged from the engine cylinder? In doing so a vacuum is produced on the exhaust side of the piston, at the same time a pressure is exerted on its other side.
The Condenser.—Thus the condenser is brought into existence, as an aid. By jacketing condensation is prevented; it is fought as an enemy. It is also utilized as a friend. It is so with many of the forces of nature, where man for years vainly fought some principle, only to find, later on, that a friend is more valuable than a foe, and to utilize a material agency in nature is more economical than to fight it.
Pre-heating.—The condenser does two things, both of which are of great value to the economical [50] operation of the engine. For the purpose of rapidly converting the steam back into water as it issues from the engine cylinder, water is used. The steam from the cylinder has a temperature of 212 degrees and upwards, dependent on its pressure.
Water, ordinarily, has a temperature of 70 degrees, or less, so that when the steam strikes a surface which is cooled down by the water, it is converted back into liquid form, but at a temperature less than boiling water. The water thus converted back from the steam gives up part of its heat to the water which cools the condenser, and the water from the condenser, as well as the water used to cool the condenser, are thus made available to be fed into the boiler, and thus assist in again converting it into a steam.
The economy thus lies in helping the coal, or other fuel, do its work, or, to put it more specifically, it conserves the heat previously put out by the coal, and thus saves by using part of the heat over again.
Superheaters.—Another refinement, and one which goes to the very essence of a heat motor, is the method of superheating the steam. This is a device located between the boiler and the engine, so that the steam, in its transit from the boiler to the engine, will be heated up to a high [51] degree, and in the doing of which the pressure may be doubled, or wonderfully increased.
This may be done in an economical manner in various ways, but the usual practice is to take advantage of the exhaust gases of the boiler, in the doing of which none of the heat is taken from the water in the boiler.
The products of combustion escaping from the stacks of boilers vary. Sometimes the temperature will be 800 degrees and over, so that if pipes are placed within the path of the heated gases, and the supply steam from the boiler permitted to pass through them a large amount of heat is imparted to the steam from a source which is of no further use to the water being generated in the boiler.
Compounding.—When reference was made to the condensation of steam as it issued from the boiler, no allusion was made to the pressure at which it emerged. If the cylinder was well jacketed, so that the amount of condensation in the cylinder was small, then the pressure would still be considerable at the exhaust. Or, the steam might be cut off before the piston had traveled very far at each stroke, in which case the exhaust would be very weak.
In practice it has been found to be most economical to provide a high boiler pressure, and [52] also to superheat the steam, but where it is not superheated, and a comparatively high boiler pressure is provided, compounding is resorted to.
To compound steam means to use the exhaust to drive a piston. In such a case two cylinders are placed side by side, one, called the high pressure cylinder, being smaller than the low pressure cylinder, which takes the exhaust from the high pressure.
The exhaust from the second, or low pressure cylinder may then be supplied to a condenser, and in that case the mechanism would be termed a compound condensing engine. If a condenser is not used, then it is simply a compound engine.
Triple and Quadruple Expansion Engines.—Instead of using two cylinders, three, or four, are employed, each succeeding cylinder being larger than the last. As steam expands it loses its pressure, or, stated in another way, whenever it loses pressure it increases in volume. For that reason when steam enters the first cylinder at a pressure of say 250 pounds, it may exhaust therefrom into the next cylinder at a pressure of 175 pounds, with a corresponding increase in volume.
To receive this increased volume, without causing a sensible back pressure on the first cylinder, the second cylinder must be larger in area than [53] the first; in like manner when it issues from the exhaust of the second cylinder at 125 pounds pressure, there is again an increase in volume, and so on.
Examine Fig. 16, which shows a pair of cylinders, A being the high, and B the low pressure cylinders, the exhausts of the high pressure being connected up with the inlets of the low pressure, as indicated by the pipes, C D.
The diagram does not show the valve operations in detail, it being sufficient to explain that when the valve E in the pipe C is closed, the valve F, at the other end of the cylinders, in the pipe D, is closed. The same principle is employed in the triple and quadruple expansion engines, whereby the force of the steam at each exhaust is put to work immediately in the next cylinder, until [54] it reaches such a low pressure that condensation is more effective than its pressure.
The diagram, as given, is merely theoretical, and it shows the following factors:
First: The diameter of each piston.
Second: The area of each piston in square inches.
Third: The steam pressure in each cylinder.
Fourth: The piston pressure of each cylinder.
It will be seen that an engine so arranged is able to get substantially the same pressure in each of the second, third and fourth cylinders, as in the first (see Fig. 16a), and by condensing the discharge from the fourth cylinder a most economical use of steam is provided for. [55] The Steam Turbine.—We must now consider an entirely new use of steam as a motive power. Heretofore we have been considering steam as a matter of pressure only, in the development of power. It has been observed that when the pressure of steam decreases at the same temperature it is because it has a greater volume, or a greater volume results.
When steam issues from the end of a pipe its velocity depends on its pressure. The higher the pressure the greater its velocity. The elastic character of steam is shown by its action when ejected from the end of a pipe, by the gradually enlarging area of the discharging column.
In a reciprocating engine the power is derived from the pressure of the steam; in a turbine the power results from the impact force of the steam jet. Such being the case velocity in the movement of the steam is of first importance.
Pressure and Velocity.—To show the effectiveness of velocity, as compared with pressure, examine Fig. 17. A is a pipe discharging steam at a pressure of 100 pounds. To hold the steam in [56] the pipe would require a pressure of 100 pounds against the disk B, when held at 1, the first position.
Suppose, now, the disk is moved away from the end of the pipe to position 2. The steam, in issuing forth, strikes the disk over a larger area, and in escaping it expands, with the result that its velocity from 1 to 2 is greater than the movement of the steam within the pipe that same distance.
The disk is now moved successively to positions 3, 4, 5, and so on. If we had a measuring device to determine the push against the disk at the various positions, it would be found that there is a point at some distance from the end of the pipe, at which the steam has the greatest striking force, which might be called the focal point.
A blow pipe exhibits this same phase; the hottest point is not at the end of the pipe, but at an area some distance away, called the focal point of heat.
The first feature of value, therefore, is to understand that pressure can be converted into velocity, and that to get a great impact force, the steam must be made to strike the hardest and most effective blow.
When a jet of steam strikes a surface it is diverted or it glances in a direction opposite the angle at which it strikes the object. In directing a jet against the blades of a turbine it is impossible to make it strike squarely against the surface.
Let us assume that a wheel A, Fig. 20, has a set of blades B, and a steam jet is directed against it by the pipe C. It will be seen that after the first impact the steam is forced across the blades, and no further force is transferred to them.
Form of Blades.—The blades are therefore so curved, that the steam after the first impact cannot freely pass along the blade, as it does on a straight blade, but imparts on every element of the curved-back blade, thereby giving up continually part of its speed to the blade.
This is clearly shown in Fig. 21, where the pipe D ejects the stream of steam against the concaved blades E. Many modifications have been made in the shapes of these blades, all designed to take advantage of this action.
Compounding the Jet.—We may extend the advantages gained by this form of blades, and diverting the course of the jet, so that it will be directed through a series of wheels, each of which will get the benefit of the moving mass from the pipes.
Such a structure is shown in Fig. 22, in which three bladed wheels A, B, C, are caused to rotate, a set of stationary blades D, E, being placed between the three moving wheels, but the stationary [59] blades are disposed in reverse directions. When the steam from pipes F, F, impinges against the blades of the first wheel A, it is directed by the stationary blade D to the next wheel B, and from the stationary blade E to the blades of the next wheel C, thus, in a manner somewhat similar to the compounding effect of the steam engine, utilizes the pressure which is not used at the first impulse.
FUELS AND COMBUSTION
All fuels must be put into a gaseous state before they will burn. This is true of coal as well as of hydro-carbon oils.
Neither coal nor petroleum will burn in its native state, without the addition of oxygen. This is absolutely necessary to support combustion. Burning is caused by the chemical union of oxygen with such substances as will burn.
This burning process may be slow, and extend over a period of years, or it may be instantaneous, in which latter case the expansion of the heated gases is so great as to cause an explosion. When a sufficient amount of oxygen has been mixed with a fuel to permit it to burn, a high temperature is necessary to cause the immediate burning of the entire mass.
If such a temperature is not present the course of combustion is not arrested, but it will, on its own account, start to oxydize, and eventually be reduced to the same condition that would take place if exploded by means of a flame.
Solid Fuels.—The great fuels in nature are carbon and hydrogen, carbon being the substance most widely known and depended upon. Hard coal, for instance, is composed almost wholly of carbon; whereas soft coal has a considerable quantity of hydrogen.
As coal was formed by wood, which, through long process of time became carbonized, it contains considerable foreign matter which will not burn, forming ash.
Liquid Fuels.—The volatile oils, however, have very little non-combustible matter. Ordinary petroleum contains about 80 per cent, of carbon, and from 12 to 15 per cent. of hydrogen, the residue being foreign matter, all more or less susceptible of being consumed at high temperatures.
Combustion.—The term combustion, in its general sense, means the act of burning; but in a larger and more correct application it refers to that change which takes place in matter when oxygen unites with it.
Oxygen is a wonderful element, and will unite with all known substances, unlike all other elements in this respect. It may take years for it to form a complete unity. Thus, wood, in time, will crumble, or rot, as it is called. This is a slow process of combustion, brought about without [62] applying heat to it, the change taking place in a gradual way, because oxygen unites with only a small portion of the wood.
Oxidation.—Iron will rust. This is another instance of combustion, called oxidation. When oxygen unites with a substance it may produce an acid, or an alkali, or a neutral compound. When wood is burned it produces an ash, and this ash contains a large amount of potash, or lye, which is an alkali, or a salt. So when other substances are burnt the result may be an acid, like sulphur, or it may be unlike either acid or the alkali.
The unity of oxygen with the food in the body is another instance of oxidation, which produces and maintains the heat necessary for existence.
Carbon or hydrogen, as a fuel, are inert without oxygen, so that in considering the evolution of a force which is dependent on heat, we should know something of its nature, thereby enabling us to utilize it to the best advantage.
The Hydro-carbon Gases.—If petroleum, or gasoline, should be put into the form of a gas, and as such be confined in a receiver, without adding any oxygen, it would be impossible to ignite it.
The character of the material is such that it would instantaneously extinguish any flame. Now, to make a burning mixture, at least three [63] parts of oxygen must be mixed with one of the hydro-carbon, before it is combustible.
Oxygen and Atmosphere.—The atmosphere is not oxygen. Only one-fifth of common air is oxygen, the residue being, principally, nitrogen, which is not a fuel. To produce the proper aëration, therefore, at least fifteen parts of air must be mixed with one part of hydro-carbon gas.
The term hydro-carbon is applied to petroleum, and its products, because the elements carbon and hydrogen make up the largest part of the oil, whereas this is not the case with most of the other oils.
We are now dealing with a fuel such as is needed in Internal Combustion Engines, and it is well to know some of the problems involved in the use of the fuel, as this will give a better understanding of the structure of the devices which handle and evolve the gases, and properly burn them within the engine.
Vaporizing Fuel.—As the pure liquid will not burn in that state the first essential is to put it into a gaseous form, or to generate a vapor from it. The vapor thus made is not a gas, in the true sense of that term, but it is composed of minute globules of finely-divided particles of oil.
Nearly all liquids will vaporize if permitted to [64] come into contact with air. The greater the surface exposed to air the more rapidly will it turn into a vapor.
By forcibly ejecting the liquid from a pipe or spraying device, and mingling air with it, evaporation is facilitated, and at the same time the proper admixture of air is provided to make a combustible substance the moment sufficient heat is brought into contact with it.
This is what actually takes place in a gasoline engine, and all the mechanism is built with this end in view.
It has been the universal practice to make an explosive mixture of this character, and then ignite it by means of an electric spark, but it is now known that such a fuel can be exploded by pressure, and this needs some explanation.
Explosion by Compression.—The study of the compressibility of gases is an interesting one. As we have previously stated, the atoms, comprising the gases, are constantly moving among themselves with great rapidity, so that they bombard the sides of the receiver in which they are confined, and also contact with each other in their restless movements.
When compression takes place the speed of the movements of the atoms is greatly accelerated, [65] the friction of their movements is increased, and heat is evolved. As the pressure becomes greater the heat increases until it is of such intensity that the gas ignites, and an explosion follows.
How Compression Heats.—The theory of the compressibility of gases may be stated as follows: Let us assume that the temperature of the air is 70 degrees Fahrenheit, and we have a receiver which holds two cubic feet of this air.
If the contained air is now compressed to a volume of one cubic foot, the temperature of two cubic feet is compressed into one cubic foot, and there is now 140 degrees of heat within the receiver.
If this cubic foot of air is again compressed to half its volume, the temperature is correspondingly increased. While this it not absolutely true in practice, owing to the immense loss caused by radiation, still, it will enable the mind to grasp the significance of compression, when the subject of heat is concerned.
Elasticity of Gases.—The great elasticity of gases, and the perfected mechanical devices for compressing the same, afford means whereby ten or twenty atmospheres can be forced into a receiver, and thereby produce pressures of several [66] hundred pounds, which would mean sufficiently high temperatures to ignite oils having the higher flash point.
Advantages of Compression.—The compression system permits of the introduction of a larger quantity of fuel than is usually drawn into the cylinder, and thereby a greater and more efficient action is produced on the piston of the engine on account of quicker combustion and therefore higher gas pressures.
The compression, however, rarely if ever exceeds six atmospheres or about 90 pounds per square inch.
The Necessity of Compression.—There are two reasons why compression is necessary before igniting it. First, because it is essential to put sufficient gas in the cylinder to make the engine efficient.
To illustrate: Suppose we have a cylinder capable of drawing in 150 cubic inches of gas, and this is compressed down to 25 cubic inches, the space then occupied by the gas would represent what is called the clearance space at the head of the cylinder. To compress it to a greater degree the clearance space might be made smaller, which could be done in several ways, but whether the gas thus drawn in should be compressed to 30, or 25, or even 10 cubic inches, it is obvious that [67] there would be no more fuel in the cylinder in one case than in the other. As however the mean effective pressure, which determines the efficiency of the motor, increases with the compression pressure, the latter should be as high as possible, but not so high that premature explosion takes place owing to the heat created by compression.
Second: The more perfect the mixture of the vaporized product with the air, the more vigorous will be the explosion. The downward movement of the piston draws in the charge of air and sprayed jet of gasoline, and the only time for mixing it is during the period that it travels from the carbureter through the pipes and manifold to the cylinder.
Having in mind the statement formerly made that compression causes a more rapid movement of the molecules of a gas, it is obvious that the upward movement of the piston, in the act of compressing the gas has a more positive action in causing an intimate mixture of the hydro-carbon gases than took place when the gases were traveling through the pipes on their way to the cylinder.
THE INTERNAL COMBUSTION ENGINE
It will be observed that in a steam engine the heat is developed outside of the cylinders and the latter used solely for the purpose of taking the steam and utilizing it, by causing its expansion to push a piston to and fro.
We shall now consider that type of motor which creates the heat within the cylinder itself and causes an expansion which is at once used and discharged at the reciprocating motion of the piston.
The original method of utilizing what is called Internal combustion Motors, was to employ a fixed gas. A fixed gas is one which will remain permanently in that condition, unlike a vapor made from gasoline. The difference may be explained as follows:
Fixed Gases.—If the vapor of gasoline, or petroleum, is subjected to a high heat, upwards of 1500 degrees, it is so changed chemically, that it will not again return to a liquid state. This is called fixing it. Gas is made in that way from the [69] vapor of coal, and fixed, producing what is called illuminating gas.
Although the temperature of fixing it is fully three times greater than is required to explode it, the fact that it is heated in closed retorts, and oxygen is prevented from mixing with it, prevents it from burning, or exploding.
Gas Engines.—Such a gas has been used for many years in engines which were usually of the horizontal type, and were made exceedingly heavy and cumbrous, and provided with enormous fly wheels. Gases thus made are not as rich as those generated direct from the hydro-carbon fuels, because, being usually made from coal they did not have a large percentage of hydrogen.
Energy of Carbon and Hydrogen.—When a pound of carbon is burned, it develops 14,500 heat units, and a pound of hydrogen over 52,000 heat units. Assuming that 85 per cent. of a pound of petroleum is carbon, and 15 per cent. is hydrogen, the heat units of the carbon would be 12,225, and the heat units of the 15 per cent. of hydrogen would be 12,800. The combined value is, therefore, 25,025, which is almost double that of coal gas.
This fact makes the gasoline engine so much more efficient, and for the same horse power the [70] cylinders can be made smaller, and the whole structure much lighter in every way.
Gasoline motors are of two types, one in which an explosion takes place at every revolution of the crank, called the two-cycle, and the other the four-cycle, in which the explosion occurs at every other turn of the crank.
The terms two-cycle is derived from the movement of the piston, as that moves downwardly during the period when the crank is making a half turn, and returns in its upward stroke when the crank completes the turn, or that two half turns of the crankshaft complete the cycle. Four-cycle engines have two such complete movements at each impulse, or require four half turns of the crankshaft to complete the cycle.
The Two-Cycle Type.—In order to clearly distinguish between this and the four-cycle, it would be well to examine the diagram, Fig. 23. For a clearer understanding the drawing is explained in detail.
The cylinder A, within which the piston works, has a removable cap B, and at its lower end a removable crank case C. The case is designed to entirely close the lower end of the cylinder so that it is air tight, for reasons which will be explained.
The outer jacket, or casing D, at the upper end of the cylinder, is designed to provide a space E, [71] for the circulation of water, to cool the cylinder during its working period. The crankshaft F passes through the crank case, the latter having suitable bearings G for taking care of the wear.
The piston H is connected up with the rod I, the latter being hinged at a point within the piston, as shown. The crank case has an inlet port, provided with a valve which opens inwardly, so [72] that when the piston moves upwardly the valve will open and air will be drawn into the crank case and space below the piston.
At one side is a vertical duct K, which extends from a point directly above the crank case, to such a position that when the piston is at its lowest point gas can be discharged into the space above the piston.
On the opposite side of the cylinder, and a little above the inlet port of the duct K, is a discharge port M. The inlet port and the discharge port, thus described, are both above the lower end of the piston when it is at its highest point.
The spark plug is shown at N. On the upper end of the piston, and close to the side wall through which the inlet port K is formed, is an upwardly-projecting deflecting plate O, the uses of which will be explained in the description of its operation.
Fig. 23 shows the piston at its highest point, and we will now assume that ignition takes place, thus driving the piston downwardly until the upper end of the piston has fully uncovered the discharge port M, as shown in Fig. 24. This permits the exhaust to commence, and as the piston proceeds down still further, so as to uncover the inlet port K, the gas, which at the down stroke has been compressed in the space below the piston, [73] rushes in, and as it strikes the deflecting plate O, is caused to flow upwardly, and thus helps to drive out the burnt gases remaining at the upper end of the cylinder.
This action is called scavenging the cylinder, and the efficiency of this type of engine is largely due to the manner in which this is done. It is obvious that more or less of the unburnt gases [74] will remain, or that some of the unburnt carbureted air will pass out at each discharge, and thus, in either case, detract from the power of the subsequent explosion.
As the piston now moves upwardly to complete the cycle, the piston closes both of the ports, thus confining the gas which was previously partly compressed, and as the piston proceeds the gas is still further compressed until the piston again reaches the upward limit of its motion.
Advantages of the Two-Cycle Engine.—This kind of engine has several distinct advantages. It has less weight than the four-cycle; it gives double the number of impulses for a given number of revolutions of the crankshaft; and it dispenses with valves, springs, cam-shafts, stems and push rods.
More or less danger, however, attends the operation of a two-cycle engine, principally from the fact that an explosive mixture in a partially compressed condition is forced into the space which the instant before was occupied by a flame, and it is only because the expansion of the burst gases at the previous charge has its temperature decreased so far below the explosion point, that the fresh gas is not ignited, although there have been occasions when explosions have taken place during the upstroke.
The Four-Cycle Engine.—The most approved type is that which is known as the four-cycle. This will also be fully diagrammed so as to enable us to point out the distinctive difference.
Figs. 26 and 27 show sections of a typical four-cycle engine, in which the inlet and the exhaust valves are mechanically operated. The cylinder A is either cast with or separate from the crank case B, and has a removable head C. The upper end of the cylinder has a water space formed by the jacket D.
The inlet port E and the discharge port F are both at the upper end of the cylinder. The crank shaft G passes horizontally through the crank [76] case, and it is not necessary, as in the case of the two-cycle-engine, to have the case closed tight.
The piston H is attached to the connecting rod I, which is coupled to the crank, as shown. The crank shaft has a small gear J, which meshes with two gears of double size on opposite sides of the crank shaft, one of the gears K, being designed to carry the cam L for actuating the stem L´, which opens the valve M in the port that admits the carbureted air.
The other large gear N is mounted on a shaft which carries a cam O that engages the lower end of a push rod P, to open the valve Q in the discharge port F. It should be observed that the stems L´, P, are made in two parts, with interposing [77] springs R, so the valves may be firmly seated when the stems drop from the cams.
The spark plug S is located in the head, close to the inlet port. The character of the igniting system is immaterial, as the object of the present diagrams is to show the cycle and method of operating the engine at each explosion, and to fully illustrate the manner in which it is distinguished from the two-cycle type.
A fly wheel is necessary in this as in the other type, and in practice the two gear wheels, K, N, are placed outside of the case B, and only the small gear, and the cam shafts, on which the cams are mounted, are within the case.
The operation is as follows: In Fig. 26 the piston is shown in a position about to commence its downward movement, and we will assume that the ignition has just taken place. Both valves M, Q, are closed, as it will be noticed that the cams L, O, are not in contact with the lower ends of the push rods.
The explosion drives the piston down to the position shown in Fig. 27, when the cam O begins to raise the stem P, and thus opens the discharge valve Q, permitting the burnt gases to escape as the piston travels upwardly to the position shown in Fig. 28.
At this position the valve Q closes, and the cam [78] L opens the inlet valve M, so that as the piston descends the second revolution, the carbureted air is drawn in until the crank has just turned at its lowest limit of movement, as shown in Fig. 29.
The upward stroke of the piston now performs the work of compressing the carbureted air in the cylinder, and it is ready for the ignition the moment it again reaches the position shown in Fig. 26.
The Four Cycles.—The four distinct operations thus performed are as follows: First, the explosion, and downward movement of the piston. Second, the upward movement of the piston, and the discharge of the burnt gases. Third, the down stroke of the piston, and the indrawing of a fresh charge of carbureted air. Fourth, the upward movement of the piston, and the compression of the charge of carbureted air.
The order of the engine performance may be designated as follows: 1. Impulse. 2. Exhaust. 3. Admission. 4. Compression.
Ignition Point.—While the point of ignition, shown in the foregoing diagrams, represents them as taking place after the crank has passed the dead center, the firing, in practice, is so adjusted that the spark flashes before the crank turns past the dead center.
The reason for this will be apparent on a little [79] reflection. As the crank turns very rapidly the spark should be advanced, as it is called, because it takes an interval of time for the spark to take effect and start the explosion. If the sparking did not take place until the crank had actually passed the dead center, the full effect of the compression and subsequent explosion pressure would not be had.
Advantage of the Four-Cycle Type.—The most marked advantage in the four-cycle type is its efficiency. As it has one full stroke within which to exhaust the burnt gases, the cylinder is in a proper condition to receive a full value of the incoming charge, and there is no liability of any of the unburnt gases escaping during the exhaust from the previous explosion.
The next important advantage of this type is in the fact that it can be operated at a higher speed than the two-cycle type, and this is a great advantage, notwithstanding the less number of impulses in the four-cycle type.
The Loss in Power.—The great disadvantage in all engines of this class is the great loss resulting from their action. The explosion which takes place raises the temperature to fully 2000 degrees of heat, and unless some provision is made to keep the cylinder down to a much lower temperature the engine would soon be useless.
High temperatures of this character absolutely prevent lubrication, a thing which is necessary to insure proper working. For this reason a water jacket is provided, although there are engines which are cooled by the action of air.
In any event, the heat imparted to the cylinder is carried away and cannot be used effectively, so that fully one-half of the power is dissipated in this direction alone.
The next most serious loss is in the escape of heat through the burnt gases, which amounts to seventeen per cent. If the expansive force of the burnt gases at the time of ignition is 250 pounds per square inch, and at the time of the discharge it is fifty pounds, only four-fifths of its power is effectively used.
As, however, the discharge is against the air pressure of nearly fifteen pounds per square inch, it is obvious that thirty-five pounds per inch is driven away and lost.
The third loss is by conduction and radiation, which amounts to fifteen per cent. or more, so that the total loss from all sources is about eighty-four per cent., leaving not more than sixteen per cent. of the value of the fuel which is converted into power.
Engine Construction.—In the construction of engines the utmost care should be exercised in [81] making the various parts. The particular features which require special care are the valves, which should be ground to fit tightly, the proper fitting of the piston rings, crank shaft and connecting rod bearings as well as the accurate relining of these bearings.
Valve Grinding.—Fig. 30 shows a valve and valve seat. The valve has usually a cross groove so that a screw driver in a drill stock may be used to turn it and to exert the proper pressure. The finest emery powder and a first class quality of oil should be used. The valve is seated and [82] after the oil and emery powder are applied the drill stock is used to turn the valve.
After twenty or thirty turns, wipe off the parts and examine the contact edges, to see whether the entire surfaces are bright, which will indicate that the valve fits true on its seat. Never overgrind. This is entirely unnecessary. It is better also to rock the crank of the drill stock back and forth, instead of turning it in one direction only.
The Crank Shaft.—The crank shaft is the most difficult part of the engine to build. It is usually made of a single forging of special steel and the cranks and bearings are turned out of this, requiring the utmost care. Formerly these were subject to breakage, but improved methods have eliminated all danger in this direction.
The Cams.—Notwithstanding the ends of the push rods are provided with rollers to make the contact with the cams, the latter will wear, and in doing so they will open the valves too late. The slightest wear will make considerable difference in the inlet valve, and it requires care and attention for this reason, in properly designing the cams, so that wear will be brought to a minimum.
CARBURETERS
A carbureter is a device which receives and mixes gasoline and air in proper proportions, and in which a vapor is formed for gasoline engines.
The product of the carbureter is a mixture of gasoline vapor and air, not a gas. A gas, as explained, is of such a character that it remains fixed and will not stratify or condense.
Functions of a Carbureter.—The function of a carbureter is to supply air and gasoline by means of its adjustable features so as to make the best mixture. The proportions of air and gasoline will vary, but generally the average is fifteen parts of air to one of gasoline vapor.
If there is too much gasoline, proportionately, a waste of fuel results, as a great amount of soot is formed under those conditions. If there is an excess of air the mixture, when ignited, will not have such a high temperature, hence the expansive force is less, and the result is a decrease of power.
While it is possible to get a rapid evaporation [84] from gasoline by heating it, experience has shown that it is more economical to keep the gasoline cool, or at ordinary temperatures, provided the carbureter is properly constructed, because the vapor, if heated, when drawn into the engine, will be unduly expanded, and less fuel in that case is drawn in at each charge, and less power results.
Rich Mixtures.—There are conditions under which rich mixtures are advantageous. This is a mixture in which there is a larger percentage of gasoline than is necessary for instantaneous combustion. For ordinary uses such a mixture would not be economical.
At low speeds, however, or when carrying heavy loads, it is desirable, for the reasons that at a slow speed the combustion is slower.
Rich mixtures are objectionable at high speeds because, as the combustion is slow, incomplete combustion within the power stroke results, the temperature of the gas at the end of the stroke is very high, and this will seriously affect the exhaust valves. Furthermore, there is likelihood of the gas continuing to burn after it is discharged from the cylinder.
Lean Mixtures.—Such a mixture is one which has a less amount of gasoline than is necessary to make a perfectly explosive compound. For [85] high speeds a lean mixture is desirable, principally because it burns more rapidly than a rich mixture.
Types of Carbureters.—There are two distinct types of carbureters, one which sprays the gasoline into a conduit through which air is passing, and the other in which a large surface of gasoline is placed in the path of the moving air column, which was originally used, but has been absolutely replaced by the jet carbureters on account of their better control features.
It will be remembered that reference was made to the manner in which vaporization takes place, this term being used to designate that tendency of all liquids to change into a gaseous state. All carbureters are designed with the object of mechanically presenting the largest possible area of oil to the air, so that the latter will become impregnated with the vapor.
The Sprayer.—The best known type depends on dividing up the gasoline into fine globules, by ejecting it from a small pipe or jet. The spray thus formed is caught by the air column produced by the suction of the engine pistons, and during its passage through the throttle and the manifold, is in condition where a fair mixture of air and vapor is formed, which will readily ignite.
The Surface Type.—This form of carbureter [86] provides a pool of gasoline with a large surface, within the shell, so arranged that as the air is drawn past the pool it must come into contact with the oil, and thus take up the necessary quantity of evaporated gasoline for charging the air.
The surface type has not been used to a large extent, but the sprayer is universally used, and of this kind there are many examples of construction, each having some particular merit.
Governing a Carbureter.—It is a curious thing that one carbureter will work admirably with one engine, and be entirely useless in another. This is due to several factors, both in the engine design and in the carbureter itself. The quality of mixture that an engine will take depends on its speed. The suction of the pistons depends on the speed of the engine.
If, at ordinary speed the carbureter gives a proper mixture, the throats and passages through the pipes and manifold, as well as the valve which discharges the gasoline, may be in a prime condition to do good work; but when the pistons work at double speed the inrush of air may not carry with it the proper amount of fuel; or, under those conditions, the air may receive too great an amount of gasoline, proportionally.
The latter is usually the case, hence provision must be made for such a contingency, and we [87] shall therefore take up the various features essential in the construction of the carbureter, so as to show what steps have been taken to meet the problems arising from varying speeds, differences in the character of the fuel, regulating the inflow and mixture of gasoline and air, and adjustments.
So many different types of carbureters have been devised, that it is difficult to select one which typifies all the best elements of construction.
In Fig. 31 we have shown a well known construction, and which will illustrate the features of the sprayer type to good advantage. The body of the device, represented by A, has a flange by means of which it is secured to the pipe which carries the carbureted air to the engine. The lower end of this tubular body is contracted, as shown at B, so as to form what is called a venturi tube.
Exteriorly this contracted tube is threaded, as shown at C, so as to receive thereon a threaded body D, the lower end of the body having an enlarged disk-head E, integral therewith, and an upwardly-projecting annular flange F is formed around this disk to receive and hold a cylinder G, which constitutes the float and fuel chamber.
The upper end of this cylinder rests against a seat cast with the body A, and packing rings are placed at the ends of the cylinder to prevent the oil from leaking out. Within the tubular body D is a vertical tube H, integral with the disk head E, and oil is supplied to this tube through ducts I, which communicate with the chamber within the reservoir G.
A drain cock is at the lower end of this tube, and an adjustable cap K screws on the tubular stem of the drain tube, around which air is admitted, the air passing upwardly through vertical [89] ducts L, as shown, and thus mixes with air at the contracted part of the venturi tube.
A ring-like float N is placed within the glass chamber, and this is adapted to engage with the inner end of a lever N´, this lever being pivoted at O, within a side extension P of the carbureter shell. The inner end of this lever has a link hinged thereto, the lower end of which serves as a needle valve to close the ejecting orifice of the tube L.
The outer end of the lever N´ engages a shoulder on a vertically-disposed needle valve Q, which has its point in the inlet opening of the pipe R, through which gasoline is supplied to the glass chamber. A spring T serves to keep the valve stem normally on its seat.
Directly opposite this chambered extension P is another extension U, also cast with the shell, through which is a vertical stem V. This stem carries a downwardly-opening valve W, that seats against a plug, and a spring X below the valve, serves to keep it against its seat, unless there should be an extraordinarily heavy pull or suction.
This is the auxiliary air inlet, and the lower spring is actuated only when the engine is running at moderate speeds, but when running at high speed and an additional quantity of air is [90] required the upper spring Y is compressed, and thus a much greater quantity of air is allowed to pass in and mingle with the spray at the throttle valve Z.
The throttle valve is mounted in the discharge opening, and is controlled by a lever on the outside of the carbureter.
The device operates as follows: Primary air enters the opening between the cup K and the disk-head E, passing up into the space around the oil tube H. As the spring T, around the needle valve Q, draws up the valve from its seat, oil is permitted to flow in through the duct R and fill the chamber, until the float engages with the inner end of the lever N, and raises it, thus uncovering the ejecting end of the tube H, and at the same time closing the inlet tube R.
The suction from the engine then draws air through the primary duct, as stated, and also an additional quantity through the secondary source, by way of the valve W, this valve being so regulated as to supply the requisite quantity.
The auxiliary air source serves the purpose that means should be provided to supply more than the ordinary amount of air, when running at high speeds.
From the foregoing it will be observed that a carbureter must be so constructed that it will [91] perform a variety of work. These are: First, Automatic means for filling the float chamber when the gasoline goes below a certain level. Second, Cutting off the supply of gasoline. Third, Providing a primary supply of gasoline for spraying purposes. Fourth, Furnishing an auxiliary air supply. Fifth, Throttling means in the discharge opening.
It is thus a most wonderful contrivance, and considering that all the elements necessary to make it work satisfactorily are provided with adjustable devices, it may be seen that to make it perform correctly requires a perfect understanding of its various features.
Requirements in a Carbureter.—In view of the foregoing it might be well to know how to select a carbureter that is ideal in its operation.
First. The adjustment of the auxiliary valve should be of such a character that at the slowest speed the valve should not be lifted from its seat.
Second. It must be so arranged that it is not difficult to change the relative amount of air and gasoline.
Third. The floating chamber should be so arranged that the float will act on the lever which lifts the valve of the injecting pipe, even though the carbureter body should be tilted at an angle. [92] This is particularly important when the carbureter is used in automobiles.
Fourth. The valves should be in such position that they are readily accessible for cleaning or for examination.
Fifth. The float should be so arranged that it is adjustable with reference to the lever that it contacts with.
Sixth. A gauze strainer should be placed at the gasoline inlet, and it is also advisable to have a similar strainer above the mixing chamber, beyond the throttle.
Seventh. There should be no pockets at any point in the body to hold the gasoline which might condense.
Eighth. The body of the carbureter should be so constructed that every part is easily accessible, and draining means provided so that every particle of gasoline can be withdrawn.
Ninth. Means for heating it, in case of cold weather.
Size of the Carbureter.—The proper size of a carbureter for an engine has been the subject of considerable discussion and experimenting. If its passages are too large, difficulty will be experienced in starting the engine, because the pulling draft through the primary will not be sufficient to make a spray that will unite with the air.
A carbureter too large will only waste fuel, even after the engine has been cranked up so it will start.
If the carbureter is too small the engine will not develop its required output of power. While it might work satisfactorily at low speeds it would be entirely inefficient at high speeds.
Rule for Size of Carbureter.—In all cases the valve opening and cylinder capacity in the engine should determine this. The size of the opening of the carbureter outlet should be the same as that of the engine valve, which is also the case where the carbureter supplies a multi-cylinder, as there is only one valve open at the same time.
It was formerly the custom to use a carbureter for each cylinder but the practice has been abandoned, because it is obvious that a single carbureter will, owing to the continuous suction, supply a mixture of more nearly uniform character than two or more, even though they should supply the mixture to a common manifold.
The Throttle.—Much of the economy in running an engine depends on the manipulation of the throttle. As an example, with a certain motor and carbureter it will be found that for maximum speed the throttle should be open about one-eighth of the way. The proper way, in starting the engine, is to open the throttle fully half way, and [94] to retard the spark. As soon as the engine begins to run properly, the spark is advanced and the throttle closed down to the required point.
The engine speed may always be maintained by the throttle under a constant varying load, by adjusting the throttle valve. A rich mixture may be obtained by throttling the primary air supply.
The throttle may also be a most effective means of economizing fuel when the engine has a first class sparking device, as in that case the throttle can be closed down to provide a very small opening.
Flooding.—One of the most prevalent troubles in carbureters is the liability to flood. This is usually caused by foreign matter getting under or in the float valve, so that it will not properly seat. Sometimes the mere moving of the float will dislodge the particle.
Another cause of flooding is due, frequently, to an improperly-arranged float, which, when the engine is inclined, will prevent improper seating of the valve, and flooding follows.
The greatest care should be exercised in seeing that the gasoline supply is free from all impurities when it is poured into the tank. To strain it is the best precaution, and it pays to be particular in this respect. It is surprising to see the [95] smallest speck, either stop the flow entirely, or produce an overflow, either of which will cause a world of trouble.
Water is another element which has no place in a carbureter. An indication of this is the irregular movement of the engine. The only remedy is to stop and drain the carbureter. A few drops may cause all the trouble.
Types of Carbureters.—In Fig. 32 we show another type of carbureter, which is simple in construction, and has many desirable features. The cylindrical body of the carbureter, A, has a downwardly-projecting [96] globular extension B, at one side of which is a flange C to secure it to the pipe, and through this is the discharge opening D. This globular extension serves as the mixing chamber.
Within the cylindrical shell is an upwardly-projecting circularly-formed extension E, and the top or cap F of the cylindrical body A has a downwardly-projecting cylindrical rim G which overlaps the lower circular extension E, and it is so constructed that a very thin annular slit H is thus formed between the two parts, through which fuel oil flows from the float chamber I into the space around the central tube J which passes down through the two circular extensions E, G.
This central tube J is designed for the auxiliary air supply. It extends down to the globular base B, and has a valve K seated against its end. The stem L of the valve is vertically-movable within an adjustable stem M, and a helical spring N, capable of having its tension adjusted by the stem M, bears upwardly against the valve so as to keep it normally against the lower end of the tube J.
The auxiliary air, therefore, passes down centrally through the tube J, while the primary air supply passes through openings O, surrounding the tube J, downwardly past the slitted opening H, and thence to the discharge port D.
Surrounding the tubular projections E, G, and within the float chamber I, is the float P. This is designed to strike the bifurcated ends of a lever Q, which is hinged near its outer end, as at R, and has its short projecting end resting beneath the collar of a vertical needle valve S.
This needle valve is vertically placed within a chambered extension T at the side of the shell A, and its lower end rests within the opening of the inlet U which supplies the gasoline to the chamber I. The upper end of the valve stem passes through a plug V, through which is a vent hole W.
A spring X is used between the plug and the collar on the lower end of the needle valve, so that the valve is kept on its seat thereby, unless the gasoline in the chamber should fall so low as to cause the float to rest on the inner end of the lever Q, when the needle valve would be unseated thereby.
All the parts of this device seem to be accessible, and it is presented as an example of construction that seems to meet pretty nearly all of the ideal requirements of a device for furnishing a perfect admixture.
Surface Carbureter.—This type of carbureter also requires a float but does not have secondary air inlet mechanism. It has one striking advantage [98] over the sprayer system, in the particular that the suction of the engine is not depended upon to draw the gasoline from the float chamber. It is much more sensitive to adjustment in the float level and needle valve than the other type.
The diagram, Fig. 33, shows a body A, somewhat bowl-shaped, with a chambered extension, B, at one side, at the lower side of which is the fuel inlet duct C. Directly above this duct the upper wall of the extension has a plug D, the lower end of which carries therein the upper end of a vertically-movable needle valve, E, the lower end of the valve resting within the duct C.
A float F within the bowl-shaped body is secured [99] at one side to a lever G, which is hinged at a point near the needle valve E, and the short end of this lever connects with this needle valve in such a manner that as the float moves upwardly the valve is seated, and when the level of the fuel oil falls below a certain point the needle is lifted from its seat, and oil is permitted to flow into the float chamber.
The cap H of the float chamber has cast therewith a U-shaped tube, the inlet end I being horizontally-disposed, while the discharge end J is vertical. Directly above the lowest part of the bend in this tube, the vertical dimension of the tube is contracted by a downwardly-projecting wall K, so as to form a narrow throat L.
Below this contracted point, the U-shaped tube has integral therewith a downwardly-projecting stem M, the lower end of which passes through an opening in the float chamber, and is threaded, so as to receive a nut, by means of which the cap H may be firmly fixed to the float chamber.
This stem M has a vertical duct N, which communicates with the float chamber, and is provided with a drain plug O. Alongside of this duct is a tube P which extends up into the U-shaped tube and is open at its lower end so that the level of the gasoline within the bent tube cannot extend above the end of this drain tube P.
An adjustable valve stem Q passes through one side of the bent tube, the lower end being pointed and adapted to regulate the inflow of gasoline through the duct N, and into the U-shaped tube.
A throttle valve R is placed in the discharge end of the U-shaped tube, which is susceptible of regulation by means of a lever S. The diagram shows the gasoline within the U-shaped tube, so that it is on a level with the gasoline in the float chamber.
In operation a sufficient amount of gasoline is permitted to enter the float chamber so that a pool is formed in the bottom of the U-shaped tube. When suction takes place the air rushes through the tube, at I, down beneath the wall K, and in doing so it sweeps past the surface of the pool at that point, absorbing a greater or less amount of the vapor.
In order to adjust the device so that a smaller amount of the liquid fuel will be exposed, the carbureter is adjusted so it will close the needle valve before the level of the liquid is so high, and thereby a less surface of oil is formed within the U-shaped tube.
It is obvious that this type of carbureter, owing to the absence of the secondary air-supply mechanism, can be readily regulated and all adjustments [101] made while running, while for automobile uses the lever S, which controls the throttle, can be connected up with a dash-board control.
IGNITION. LOW TENSION SYSTEM
Electricity, that subtle force, which manifests itself in so many ways, is nevertheless beyond the power of man to see. The only way in which we know of its presence is by the results produced by its movements, because it can make itself known to our senses only by some form of motion.
The authorities regard light, heat and electricity as merely different forms of motion. The most that can be done with such a force is to learn the laws governing it.
Magnetism.—This is a form of electricity. In fact, it is one of the most universal manifestations, for without it electricity would be useless. When the first permanent magnet was found at Magnesia, it was not considered electricity. The sciences had not arrived at that point where they were able to classify it as belonging to lightning and other manifestations of that kind which we now know to be electricity.
The Armature.—But magnetism can no more be seen than electricity flowing through a wire. [103] If a piece of metal has magnetism it will attract a piece of iron or steel placed in close proximity, and thus we are permitted to see the action.
The lightning in the upper atmosphere burns the gases in its path. This enables us to see, not the current, but its action,—the result produced by its power.
The electric current has many peculiar manifestations, the causes of some of them being known and utilized. In the use of this medium for igniting the fuel gas, many of the phases of electrical phenomena are brought into play, and it is necessary, therefore, to know something of the fundamentals of the science to enable us to apply it.
Characteristics of Electricity.—When a current passes along a wire, it does not describe a straight path, but it moves around the conductor in the form of circles. The current is not confined wholly to the wire itself, but it extends out a certain distance from it at all points.
Magnetic Field.—Every part of a wire which is carrying a current of electricity has, surrounding it, a magnetic field, of the same character, and to all intents and purposes, of the same nature as the magnetic field at the ends of a magnet.
Elasticity.—This current has also something akin to elasticity. That is, it surges to and fro, [104] particularly when a current is interrupted in the circuit. At the instant of breaking a current in an electric light circuit there is a momentary flash which is much brighter than the normal light, which is due to the regular flow of the current.
This is due to the surging movement, or the elastic tension, in the current. Advantage is taken of this characteristic, in making a spark. This spark is produced at the instant that the ends of the wires are separated.
The Make and Break System.—No spark is caused by putting the two ends together, or by making the connection, but only by breaking it, hence it is termed the make and break method of ignition.
When the connection is broken the current tries to leap across the gap, and in doing so develops such an intense heat that the spark follows. As a result of the high temperature it is necessary to use such a material where the gap is formed that it will not be burned. For this purpose platinum, and other metals are now employed.
Voltage.—This plays an important part in ignition. Voltage is that quality which gives pressure or intensity to a current. It is the driving force, just as a head of water gives pressure to a stream of water.
High and Low Voltage.—A high tension current,—that [105] is, one having a high voltage, will leap across a gap, whereas a low voltage must have an easy path. When the ends of a wire in a circuit are separated, air acts as a perfect insulator between them, and the slightest separation will prevent a low current from jumping across.
This is not the case with a high tension current, where it will leap across and produce the flash known as the jump spark.
Low Tension System.—Two distinct types of ignition have grown out of the voltage referred to, in which the make and break system uses the low tension, because of its simplicity in the electrical equipment.
Disadvantages of the Make and Break.—There is one serious drawback to the extended use of this system, and that is the necessity of using a moving part within the cylinder, to make and break the contact in the conductor, as it is obvious that this part of the mechanism must be placed within the compressed mixture in order to ignite it.
Amperes.—A current is also measured by amperes,—that is, the quantity flowing. A large conductor will take a greater quantity of current than a small one, just as in the case of water a large pipe will convey a greater amount of the liquid.
Resistance.—All conductors offer resistance to the flow of a current, and this is measured in Ohms. The best conductor is silver and the next best is copper, this latter material being used universally, owing to its comparative cheapness.
Iron is a relatively poor conductor. Resistance can be overcome to a certain extent, however, if a large conductor is used, but it is more economical to use a small conductor which has small resistance, like copper, than a heavy conductor, as iron, even though pound for pound the latter may be cheaper.
Direct Current.—There are two kinds of current, one which flows in one direction only, called the Direct. It is produced in a dynamo which has a pair of commutator brushes so arranged that as the armature turns and its wires move through the magnetic fields of a magnet, and have direction of the current alternate, these brushes will change the alternations so the current will travel over the working conductors in one direction only.
Primary and secondary batteries produce a direct current. These will be described in their appropriate places.
Alternating Current.—This is a natural current. All dynamos originally make this kind of current, but the commutator and brushes in the direct current machine change the output method [107] only. The movement of this current is likened to a rapid to and fro motion, first flowing, for an instant, to one pole, and then back again, from which the term alternating is derived.
While the sudden breaking in a circuit will produce a spark with either the direct or the alternating currents, the direct is usually employed for the make and break system, since batteries are used as the electrical source.
On the other hand the jump spark method employs the alternating current, because the high tension can be most effectively produced through the use of induction coils, which will be explained in connection with the jump spark method of ignition.
Generating Electricity.—There are two ways to produce a current for operating an ignition system, one by a primary battery, and the other by means of a magneto, a special type of dynamo, which will be fully explained in its proper place.
Primary Battery.—As we are now concerned with the make and break system, the battery type of generation, and method of wiring up the same, should first be explained.
Thus, in Fig. 34, a primary battery is shown, in which the zinc cell A has an upwardly-projecting wing B at one side, to which the conductor is attached; and within, centrally, is a carbon bar [108] C. An electrolyte, which may be either acid or alkali, must be placed within the cell.
Making a Dry Cell.—The zinc is the negative, and the carbon the positive electrode. The best material for the electrolyte is crushed coke, which is carbon, and dioxide of manganese is used for this purpose, and the interstices are filled with a solution of sal-ammoniac.
The top of the cell is covered with asphaltum, so as to retain the moistened material and the liquid within the cell, and thus constituted, it is called a dry cell.
Energy in a Cell.—A battery is made up of a number of these cells. Each cell has a certain [109] electric energy, usually from one and a half to one and three-quarter volts, and from twenty-five to forty amperes.
The amperage of a cell depends on its size, or rather by the area of the electrodes; but the voltage is a constant one, and is not increased by the change, formation, or size of the electrodes.
For this reason the cells are used in groups, forming, as stated, a battery, and to get efficient results, various methods of connecting them up are employed.
Wiring Methods.—As at least six cells are required to operate a coil, the following diagrams will show that number to illustrate the different types of connections.
Series Connection.—The six cells, Fig. 35, show the carbon electrodes A, of one cell, connected by means of a wire B with the zinc electrode wing C of the next cell, and so on, the cell at one end having a terminal wire D connected with the zinc, and the cell at the other end a wire E connected with the carbon electrode.
The current, therefore, flows directly through the six cells, and the pressure between the terminal wires D, E, is equal to the combined pressure of the six cells, namely, 11/2 × 6, which is equal to 9 volts. The amperage, however, is that of one cell, which, in these diagrams, will be assumed to be 25.
Parallel Connection.—Now examine Fig. 36. In this case the carbon electrodes A are all connected up in series, that is, one following the other in a direct line, by wires B, and the zinc electrodes C, are, in like manner, connected up in series with each other by wires D. The difference in potential at these terminals B, D, is the same as that of a single cell, namely, one and a half volt.
The amperage, on the other hand, is that of the six cells combined, or 150. This method of connecting the cells is also called parallel, since the two wires forming the connections are parallel with each other, and remembering this it may be better to so term it.
Multiple Connections.—This is also designated as series multiple since the two sets of cells each have the connections made like the series method, Fig. 35. The particular difference being, that the zinc terminals of the two sets of cells are connected up with one terminal wire A, and the carbon terminals of the two sets are joined to a terminal B.
The result of this form of connection is to increase the voltage equal to that of one cell multiplied by the number of cells in one set, and the amperage is determined by that of one cell multiplied by the two sets.
Each set of cells in this arrangement is called a battery, and we will designate them as No. 1, and No. 2. Each battery, therefore, being connected in series, has a voltage equal to 41/2 volts, and the amperage 50, since there are two batteries.
Now the different arrangement of volts and amperes does not mean that the current strength [112] is changed in the batteries or in the cells. If the pressure is increased the flow is lessened. If the current flow, or the quantity sent over the wires is increased, the voltage is comparatively less.
Watts.—This brings in another element that should be understood. If the current is multiplied by the amperes a factor is obtained, called Watts. Thus, as each cell has 11/2 volts and 25 amperes, their product is 371/2 watts.
To show that the same energy is present in each form of connection let us compare the watts derived from each:
Series connection: 9 volts × 25 amperes, equal 225 watts.
Parallel connection: 11/2 volts × 150 amperes, equal 225 watts.
Series Multiple connection: 41/2 volts × 50 amperes, equal 225 watts.
From the foregoing, it will be seen that the changes in the wiring did not affect the output, but it enables the user of the current to effect such changes that he may, for instance, in case a battery should be weak, or have but little voltage, so change connections as to temporarily increase it, although in doing so it is at the expense of the amperage, which is correspondingly decreased.
It would be well to study the foregoing comparative [113] analysis of the three forms of connections, so far as the energy is concerned, because there is an impression that increasing the voltage, is adding to the power of a current. It does nothing but increase the pressure. There is not one particle of increase in the energy by so doing.
Testing a Cell.—The cells should be frequently tested, to show what loss there is in the amperage. This is done by putting an ammeter in the circuit. If a meter of this kind is not handy, a good plan is to take off one of the wire connections, and snap the wire on the terminal, and the character of the spark will show what energy there is in the cell.
Testing With Instruments.—The method of testing with voltmeter and ammeter, is shown in Fig. 38. The voltmeter is placed in a short circuit between the two terminal wires, whereas the ammeter is placed in circuit with one of the wires. The reason for this is that the voltmeter registers [114] the pressure, the power, or the difference of potential between the two sides of the cell, and the ammeter shows the quantity of current flowing over the wire.
In practice batteries are not used continuously for igniting. They are temporarily employed, principally for starting, because their continued use would quickly deplete them.
Simple Battery Make and Break System.—In order to show this method in its simplest form, examine Fig. 39, which diagrams the various parts belonging to the system.
We have illustrated it with two cylinders, portions of the heads being shown by the outlines A, A. B, B represent terminals which project into the cylinders, and are insulated from the engine [115] heads. Through the sides of the engine heads are rock shafts C, the ends within the cylinder having fingers D which are adapted to engage with the inner ends of terminals B, B.
On the ends of the rock shafts outside of the cylinders, they are provided with levers E, E, one end of each being attached to a spring F, so that the tension of the spring will normally keep the upper end of the finger D in contact with the terminal B. The cut shows one finger engaging with B, and the other not in contact.
The other end of the lever E rests beneath a collar or shoulder G on a vertical rod H. The lower end of this rod engages with a cam I on a shaft J, and when the cam rotates the rod drops off the elevated part of the cam, and in doing so the shoulder G strikes the end of the lever E and causes the finger to rapidly break away from the terminal B, where the spark is produced.
To Advance the Spark.—For the purpose of advancing or retarding the spark, this rod has, near its lower end, a horizontally-movable bar K, which may be moved to and fro a limited distance by a lever L, this lever being the substitute in this sketch of the lever on the steering wheel of an automobile.
The spark is advanced or retarded by causing the lower end of the rod H to be moved to the left [116] or to the right, so that it will drop off of the raised portion of the cam earlier or later.
The wiring up is a very simple matter. The battery M has one end connected up with one terminal of a switch N, while the other terminal of the switch has a wire connection with the terminal plugs B, B, in the cylinder heads.
The other end of the battery is connected with the metal of the engine, which may be indicated by the dotted line O which runs to the rock shaft C, and thus forms a complete circuit.
The operation is as follows: When the key P of the switch is moved over so that it contacts with the terminal N, the battery is thrown into the circuit, and the current then passes to the plug B of the first cylinder, as the finger D in that cylinder is in contact with that terminal, and it passes along the finger D, and rock-shaft C, to the metal of the engine, and passes thence to the battery, this course being indicated by the dotted line O.
At the same time, while cylinder No. 2 is also connected up with the battery, the shoulder of the rod H has drawn the finger D from its contact with the plug B, hence the current cannot pass in that direction.
As the cam I, of cylinder No. 1, turns in the direction of the arrow, the rod drops down [117] and suddenly makes a break in the terminal of this cylinder, causing the ignition, to be followed by a like action in No. 2.
The Magneto in the Circuit.—To insure the life of the battery, so that it may be in service only during that period at the starting, when the magneto is not active, the latter is so placed in the circuit, that, at the starting, when, for instance, the automobile is being cranked, it is cut out by the switch on the dash board.
In Fig. 40, a simple two-pole switch is used. With the magneto it is necessary to have a three-point switch, R, and a plain coil S is placed between the switch and battery.
One side of the magneto T is connected by wire U with one of the points of the switch R, and the [118] other side of the magneto is connected with the metal of the engine, which is indicated by the dotted line V.
In all other respects the mechanism is the same. The starting operation has been explained with reference to the preceding figure, and when the engine has picked up, and is properly started, the switch bar is thrown over so it contacts with the point connected up with the wire U leading to the magneto.
This, of course, cuts out the battery, and the engine is now running on the magneto alone. The object of the coil S is to oppose a rapid change of the current at the moment of the interruption. The coil induces a counter current the moment the break is made, and as the current continues to flow for a very short period after the break a spark of greater intensity is produced than if the circuit should be permitted to go from the battery to the sparker directly, as in the previous illustration.
The best spark is produced by quickly making the break between the points B, D, so that particular attention has been given to mechanism which will do this effectively.
Magneto Spark Plug.—One of the devices to obviate the difficulty of providing moving mechanism outside of the engine cylinder, is shown in [119] Fig. 41. In this the coil A is connected with a terminal B at the head of the device and the other is connected to the plug C which screws into the cylinder head.
Within the core is a pivotally-mounted lever D, the upper end E of which is attracted by the tubular metallic core F, and the lower end having a contact point G, which is adapted to engage with a stationary point H.
The pivot I, on which the lever D is mounted, provides a means whereby the lever swings, and a spring J is so arranged that when the lower end of the lever is disengaged from the contact, the spring will return it to its normal position.
In its operation when a contact is formed by the timing device of the magneto, so as to give a spark, the circuit passes to the terminal B, coil A, and plug C, thus forming a complete circuit. This energizes the core A, pulling the upper end of the lever, and at the same time causes the lower end to disengage the two contacts G, H, which breaks the circuit and produces a spark.
The breaking of the circuit deënergizes the core, and the spring again draws the lever back to its normal position, ready for the next completion of the circuit by the timing device.
Such an arrangement is as simple as the spark plug usually employed in the use of the high tension system, although it is more expensive than the plug.
IGNITION. HIGH TENSION
This system is used to the largest extent, so that we ought to have a full explanation of the devices which are required to do the work. While magnetos are used with the low tension system, for the reasons stated, they are especially necessary with the Jump Spark method.
Magnetos.—The most important element in this system is the magneto, so we shall try and make the subject as explicit as possible. As stated, a magneto is a special type of dynamo which will now be explained. For this purpose it will be necessary to show the elementary operation of an alternating current dynamo.
Alternating Current.—In Fig. 42 A is a bar of soft iron, around which is a coil of wire B, the wire being insulated, so that it will not touch the bar. There is no magnetism in this bar, and this simple form of structure is shown, merely to represent what is called the field of a dynamo.
The object of the coil of wire is to make a magnet of the bar, for the moment a current is sent [122] over the wire, a magnet is formed, and the magnetism leaves the bar the moment the current ceases to flow. If this bar should be of hard steel it would retain the magnetism.
Now, the primary difference between the magneto and the dynamo, is that this field bar is a permanent magnet in the magneto, whereas the field is only a temporary magnet in the dynamo. This should always be kept in mind.
The end of a magnet, whether it is a temporary one, or permanent, has a magnetic field of force at the ends as well as at all parts of it, exterior to the surface of the bar. Such a field is [123] indicated, and in the dynamo, no such field exists unless a current is passing over the wire B, which is called the field winding.
The U-shaped piece of metal C represents the armature. It is shown hinged to the top of two posts, for clearness in understanding, and is adapted to turn to the right, and in turning the loop passes the end of the field bar B, and passes through the magnetic field which is indicated by the dotted lines D.
Now, if the loop is simply permitted to remain in the position shown in Fig. 42, a current would flow through the loop, this transference of the current being called induction, and this characteristic of the flow of electricity will be explained and its utility explained.
Cutting Lines of Force.—The loop will now be turned to the right so that it passes the magnetic field and goes beyond it in its revolution. This motion of passing the armature through the magnetic field is called cutting the lines of force. [124] While the loop was lying within the magnetic field, and also when it was moving through the field, the current set up in the loop flowed in the direction of the darts F, or to the right, through the pivots D.
In Fig. 43 the loop is shown as having made a quarter turn, and it is now vertical, or at right angles to its former position. The loop in thus passing away loses its force, until it reaches the position shown in Fig. 44, when there is a surging back of the current to the opposite direction, as indicated by the arrows.
When the loop reaches the lowest position, shown in Fig. 45, it again begins to get the influence of the magnetic field, and a reversal back to its former direction takes place, this surging movement back and forth being due to the reversal of the polarity in the coil brought about by the position in which it is placed relative to the magnetic field.
It is now an easy matter to connect the ends of [125] the loop with wire conductors. This is shown in Fig. 46, where a small metal wheel G is placed on each end of the spindle, and in having a strip of metal bearing H on the wheel. These are not commutator brushes, but are merely wiping brushes to take the current from the turning parts. Wires I connect with these wiping bars, and through them the current is transmitted to perform the work.
Plurality of Loops.—The dynamo may have a plurality of loops, which are called coils, and there may be a single magnet or any number of magnets. Instead of driving these coils past the face of the magnet, or magnets, the latter may be driven past the coils. In fact with most of the alternating current machines the fields are the rotating parts and the armatures, or the coils, are fixed.
The voltage is increased if the coils have a large number of turns on the armature, and also if the armature, or the turning part, is speeded [126] up. Voltage will also be higher if larger or more powerful magnets are used in the magnetos.
The Electro-Magnet.—The permanent magnet, such as is used in the magneto, is distinguished by the fact that it contains a permanent charge of magnetism, but this is not an electro-magnet. This is a magnet made of soft iron, so it will be readily demagnetized. While not shown in the diagrams, an iron core may be placed within the loop or coil, and this is done in all dynamos, because the iron core acts as a carrier of the magnetism, concentrating it at the center, because it is a much better conductor than air.
The Dynamo Form.—Consult the diagram, Fig. 47. The iron heads A represent the bar in the [127] previous diagrams, and B the wire around the bar. C is the armature, which in this case represents a number of loops, or coils, and D is the commutator, which is used in the direct current machine to correct the alternations referred to in the previous diagrams, so as to send the current in one direction only, the commutator brushes E being used to carry off the current for use.
The Magneto Form.—The metal loop F, in Fig. 48, being a permanent magnet, the armature, G, formed of a plurality of loops, has no field wires to connect with it, as in the case of the dynamo.
Advantage of the Magneto.—The magneto has a pronounced advantage over the dynamo, as a source of power for ignition purposes, in the particular that the strength of the magnetic field is constant. In a dynamo this varies with the output, because when used on an automobile where the speed is irregular, the voltage will vary. The voltage of the magneto is a constant one, and is thus better adapted to meet the needs of ignition.
Induction Coil.—The induction coil is a device which is designed to produce a very high voltage from a low tension, so that a current from it will leap across a gap and make a hot spark.
We stated in a previous section that a current leaps across from one conductor to another, so that electricity can be transferred from a wire [128] to another not touching it, by means of induction.
Look at Fig. 49, which represents two wires side by side. The current is flowing over one wire A, and by bringing wire B close to A, but not touching it, a current will be induced to leap across the gap and the wire B will be charged. If the ends of the wire B are brought together, so as to form a circuit, and a current detector is placed in the circuit it will be found that a current is actually flowing through it, but it is now moving in a direction opposite to the current flowing through A.
Changing the Current.—But we have still another thing to learn. If the two wires are not of the same thickness it would not prevent the current from leaping across, but another astonishing thing would result.
First, we shall use a wire B double the thickness of wire A. If now, we had an instrument to test the voltage and the amperage, it would be found that the voltage in B is less than that in A, and also that the amperage is greater.
Second, if the conditions are reversed, and the wire A is thicker than B, the latter will have an [129] increase of voltage, but a lower ampere flow than in A.
Now this latter condition is just what is necessary to give a high tension. Voltage is necessary to make a current leap across a gap. By this simple illustration we have made an induction coil which may be used for making a high tension jump spark.
Construction of a Coil.—Two wires side by side do not have the appearance of a coil, and even though such an arrangement might make a high tension current, it would be difficult to apply. To put the device in such a shape that it can be utilized, a spool is made, as shown in Fig. 50.
This spool A has a number of layers of thick, insulated wire B first wound around it, the layers being well insulated from each other, and the opposite [130] ends brought out at one end or at the opposite ends, as shown at C, D. On this is a layer of finer wire, also insulated, this wire E having its terminals also brought out at the ends of the spool, and after the whole is thus wound, the outside of the coil is covered with a moisture proof material.
The Primary Coil.—The winding of thick wire is called the primary coil. The current from the battery or the electric generator is led to this inner coil.
The Secondary Coil.—The fine wire wrapping represents the secondary coil, which is raised to a high voltage, and this actuates the sparking mechanism.
In the art it is customary to illustrate the various contrivances by certain conventional forms. Fig. 51 shows the manner of designating an induction coil in a diagram, in which the heavy zig-zag line indicates the primary, and the lighter zig-zag lines the secondary coil.
Contact Maker.—A simple little device used in the primary circuit of an induction coil, is known as a contact maker. This, as shown in Fig. 52, is merely a case A, through which is a shaft B that carries within the shell a cam C. A spring finger D has its free end normally bearing against the cam, and when the nose on the cam moves out the spring finger, the latter is moved outwardly so it contacts with a plug E in the side wall of the case, although it is insulated therefrom. This contact establishes a current through the plug, spring finger and case.
The diagram, Fig. 53, illustrates the principles of construction and arrangement of a high tension jump spark ignition, in which the electrical source is a battery actuating an induction coil.
High Tension With Battery and Coil.—The battery A has one side connected up by wire B with one terminal of the primary C in the induction coil, and the other side of the battery has a [132] wire D leading to the contact maker. A switch E is placed in the line of this wire.
The other terminal of the primary has a wire F leading to the insulated contact plug G of the contact maker. This completes the generating circuit. The cam H is on a shaft I, which travels one half the speed of the engine shaft.
One side of the secondary coil J has a wire K leading to the spark plug, while the other terminal of the secondary has a wire L which is grounded on the engine M.
When the nose of the cam pushes over the [133] spring finger and closes the cam, the circuit through the finger flows through the primary coil and excites the secondary. When the cam again immediately breaks the circuit a high tension current is momentarily induced in the secondary, so that the current leaps the gap in the spark plug and makes the spark.
Metallic Core for Induction Coil.—In the previous description of the induction coil it was stated that the spool might be made of wood. These coils are also provided with metal cores, which can be used to make what is called a vibratory coil.
The Condenser.—A necessary addition to the circuiting provided by an induction coil, is a condenser. This is used in the primary circuit to absorb the self-induced current of the primary and thus cause it to oppose the rapid fall of the primary current.
The condenser is constructed of a number of tinfoil sheets, of suitable size, each sheet having [134] a wing at one end, and these sheets are laid on top of each other, with the wings of the alternate sheets at opposite ends. Very thin sheets of waxed paper are placed between the tin foil sheets so that they are thus insulated from each other.
The wings at the ends are used to make connections for the conducting wires. The device is not designed to conduct electricity, but to act as a sort of absorbent, if it might so be termed. The large surface affords a means where more or less of the current moves from the conductor at one end to the conductor at the other end, and as it is designed to absorb a portion of the current in the line it is merely bridged across from one side of the circuit to the other.
The diagram, Fig. 55, represents the conventional form of illustrating it in sketching electrical devices.
Operation of a Vibrator Coil.—The illustration, Fig. 56, shows the manner in which a vibrator coil is constructed and operated. The coil comprises a metal core A, the primary winding [135] B being connected at one terminal, by a wire C, with a post D, and the other terminal by a wire E with one side of a battery F. A switch G is in the line of this conductor.
The post D holds the end of a vibrating spring H, which has a hammer H´ on its free end, which is adapted to contact with the end of the metal core A, but is normally held out of contact, so that it rests against the end of an adjusting screw I which passes through a post J.
The post J is connected up with the battery by a wire K, and a wire L also runs from the wire K to the conductor C, through a condenser M.
The secondary coil N, has the outlet wires O, P, which run to the spark plug Q on the engine.
The operation is as follows: When the switch G closes the circuit, the battery thus thrown in the primary coil magnetizes the core A, and the hammer H´ is attracted to the end of the core, thus breaking the circuit at the contact screw I. The result is that the core is immediately demagnetized, and the spring H draws the hammer back to be again attracted by the core which is again magnetized, so that the hammer on the vibrator arm H goes back and forth with great rapidity.
From the foregoing explanations it will be understood how the primary induces a high tension current in the secondary, and in order that the spark may occur at the right time, a timer for closing and opening the primary circuit must be provided. By this means an induced high tension current is caused to flow at the time the spark is needed in the cycle of the engine operation.
The Distributer.—The distributer is a timing device which controls both the primary and the secondary currents, and it also has reference to the revolving switch on the shaft of a magneto whereby the current is distributed to the various cylinders in regular order.
Fig. 57 shows a form of distributer which [137] will illustrate the construction. A is the shaft which is driven at one half the engine speed. It is usually run by suitable gearing direct from the shaft of the magneto.
Its outer end rests in a bearing plate B, of insulating material, which plate serves as the disk to hold the contact plates, 1, 2, 3, 4, to correspond with the four cylinders to which the current is to be distributed.
Wires 5, 6, 7, and 8, run to the respective spark plugs C from these contact plates. The projecting end of the shaft A carries thereon a contact finger D, which is designed to contact with the respective plates, and an insulating ring E is interposed [138] between the shaft and finger so as to prevent short circuiting of the high tension current.
On the side of the finger is a hub F, integral therewith, and a wiper attached to a post bears against the hub so as to form continuous contact. A wire leads from the post to one terminal of the secondary coil.
Circuiting With Distributer.—The diagram Fig. 58 shows the complete connections of a system [139] which comprises a magneto, induction coil, condenser, and a distributer. The magneto A has on its armature shaft B two revolving disks C, D, one of which must be insulated from the shaft, and one end of the coil E of the armature is connected with one of these disks, and the other end of the coil is attached to the other disk.
Alongside of these disks is another disk F which has projecting points G to engage with and make temporary contact with a spring finger which actuates the interrupter I, this being a contact breaker which breaks the primary current at the time a spark is required.
One terminal of this interrupter is connected by a wire J with one end of the primary winding K, of the induction coil, and the other end of the primary has a wire L which runs to the disk C.
The other terminal of the interrupter has a wire M leading to a condenser N, and from the other side of the condenser is a wire O leading to the wire J before described. The wiper of the other disk D has a wire connection with the wire M.
The distributer shaft P is so mounted that it may receive its motion from the shaft of the magneto, and for this purpose the latter shaft has a gear Q one half the diameter of the gear R on the distributer shaft.
The distributer S has been described with sufficient [140] clearness in a preceding diagram, to show how the wires T lead therefrom and connect up with the spark plugs U. One terminal of the secondary coil V is connected by a wire W with the wiper X which contacts with the hub of the distributer finger X´, and the other terminal of the primary is grounded at Y, which represents the metal of the engine.
MECHANICAL DEVICES UTILIZED IN POWER
One of the most important things in enginery is the capacity to determine the power developed. Although the method of ascertaining this appears to be somewhat complicated, it is really simple, and will be comprehended the more readily if it is constantly borne in mind that a certain weight must be lifted a definite distance within a particular time.
The Unit of Time.—The unit of time is either the second, or the minute, usually the latter, because it would be exceedingly difficult to make the calculations, or rather to note the periods as short as a second, and a very simple piece of mechanism to ascertain this, is to mount a horizontal shaft A, Fig. 59, in bearings B, B, and affix a crank C at one end.
It will be assumed that the shaft is in anti-friction bearings so that for the present we shall not take into account any loss by way of friction.
A cord, with one end attached to the shaft and the other fixed to a weight D, the latter weighing, [142] say 550 pounds, is adapted to be wound on the shaft as it is turned by the crank.
Knowing the length of the cord and the time required to wind it up, it will be an easy matter to figure out the power exerted to lift the weight, which means, the power developed in doing it.
Suppose the cord is 100 feet long, and it requires one and a half minutes to raise the weight the full limit of the cord. It is thus raising 550 pounds 100 feet in 45 seconds.
One horse power means that we must raise 550 pounds one foot in one second of time, hence we have developed only 1/45th of one horse power.
Instead of using the crank, this shaft may be attached to the engine shaft so it will turn slowly. Then add sufficient weight so that the engine will just lift it, and wind the cord on the shaft.
You can then note the time, for, say, one minute, and when the weight is lifted, make the following calculation: Weight lifted one hundred feet in one minute of time was 825 pounds. Multiply 100 by 825, which equals 82,500. This represents foot pounds.
As there are 33,000 foot pounds in a horse power, 82,500 divided by this figure will show that 21/2 horse power were developed.
The Proney Brake.—Such a device is difficult to handle, but it is illustrated merely to show the simplicity of the calculation. As a substitute for this mechanism, a device, called the Proney brake has been devised, which can be used without rewinding of a cord. This is accomplished by frictional means to indicate the power, and by the use of weights to determine the lift.
The following is a brief description of its construction: The engine shaft A, Fig. 60, which is giving out its power, and which we want to test, [144] has thereon a pulley B, which turns in the direction of the arrow. Resting on the upper side of the pulley is a block C, which is attached to a horizontal lever D by means of bolts E, these bolts passing through the block C and lever D, and having their lower ends attached to the terminals of a short sprocket chain F.
Block segments G are placed between the chain and pulley B, and when the bolts E are tightened the pulley is held by frictional contact between the block C and the segments G.
The free end of the lever has a limited vertical movement between the stops H, and a swinging receptacle I, on this end of the lever, is designed to receive weights J.
The first thing to do is to get the dimensions of the pulley, its speed, and length of the lever. By measurement, the diameter of the pulley is six inches. To get the circumference multiply this by 3.1416. The distance around, therefore, is a little over 18.84 inches. The speed of the pulley being 225 times per minute, this figure, multiplied by 18.84, gives the perimeter of the pulley 4239 inches.
As we must have the figures in feet, dividing 4239 by 12, we have 353.25 feet.
The length of the lever from the center of the pulley to the suspension point of the receptacle, [145] is 4 feet, and this divided by the radius of the pulley (which is 6 inches), gives the leverage. One half of six inches, is three inches, or 1/4 of one foot, and 4 divided by this number, is 1' 4", or 11/3 feet, which is the leverage.
Now, let us suppose the weight J is 1200 pounds. This must be multiplied by the leverage, 11/3 feet, which equals 1800, and this must be multiplied by the feet of travel in the pulley, namely, 353.25, which is equal to 635,850. This represents foot pounds.
Now, following out the rule, as there are 33,000 foot pounds in a horse power, the foregoing figure, 635,850, divided by 33,000, equals 19 horse power within a fraction.
Reversing Mechanism.—A thorough knowledge of the principles underlying the various mechanical devices, and their construction, is a part of the education belonging to motors. One of the important structures, although it is very simple, when understood, requires some study to fully master.
This has reference to reversing mechanism, which is, in substance a controllable valve motion, whereby the direction of the valve is regulated at will.
All motions of this character throw the valve to a neutral point which is intermediate the two [146] extremes, and the approach to the neutral means a gradual decrease in the travel of the valve until the reciprocating motion ceases entirely at the neutral position.
Double Eccentric Reversing Gear.—A well known form of gear is shown in Fig. 61, in which the engine shaft A has two eccentrics B, C, the upper eccentric B being connected with the upper end of a slotted segment D by means of a stem E, and the other eccentric C is connected with the lower end of the segment by the stem F. The eccentrics [147] B, C, are mounted on the shaft so they project in opposite directions.
The slotted segment carries therewith the pin G of a valve rod H, and the upper end of the segment has an eye I, to which eye is a rod J operated by a lever.
By this arrangement the link may be raised or lowered, and as the valve rod pin has no vertical movement, either the connecting link E or F may be brought into direct line with the valve rod H.
Fig. 61 shows the first position, in which the valve rod H is in direct line with the upper [148] connecting rod E, actuated by the cam B.
Fig. 62 shows the neutral position. Here the pin G serves as a fulcrum for the rocking movement of the segment; whereas in Fig. 63 the valve rod H is in line with the lower connecting rod F, so that the valve is pushed to and fro by the eccentric C.
It is more desirable, in many cases, to use a single eccentric on the engine shaft, which can be done by pivoting the segment L, Fig. 64, to a stationary support M, and connecting one end of the segment by a link N with the single eccentric O.
In this construction the valve rod P is shifted vertically by a rod Q, operated from the reversing lever, thus providing a changeable motion through one eccentric.
Balanced Slide Valves.—In the chapter pertaining [149] to the steam engine, a simple form of slide valve was shown, and it was stated therein that the pressure of the steam bearing on the valve would quickly grind it down. To prevent this various types of balanced valves have been made, a sample of which is shown in Fig. 64.
The valve chest A has in its bottom two ports C, D, leading to the opposite ends of the cylinder, and within is the sliding valve E, which moves beneath an adjustable plate F connected with the top or cover G of the valve chest.
This is also modified, as shown in Fig. 66, in which case the slide valve H bears against the cover I at two points, so that as there is steam on the upper surface to a slightly greater area than on the lower side, there is sufficient downward pressure to hold it firmly on its seat, and at the same time not cause any undue grinding. This valve also has double exhaust ports J, J.
Balanced Throttle Valve.—Fig. 67 will give a fair idea of the construction of throttle valves, the illustration showing its connection with a simple type of governor.
Engine Governors.—Probably the oldest and best known governor for regulating the inlet of steam to an engine, is what is known as the Watt design. This is shown in Fig. 68.
The pedestal A which supports the mechanism, has an upwardly-projecting stem B, to the upper end of which is a collar C, to which the oppositely-projecting [151] pendent arms D are hinged. These arms carry balls E at their free ends.
The lower part of the stem has thereon a sliding collar F, and links G, with their lower ends hinged to the collar, have their upper ends attached to the swinging arms D. The collar has an annular groove at its lower end, to receive therein the forked end of one limb of a bell-crank lever H, the other limb of this lever being connected up with the engine throttle, by means of a link L.
Centrifugal motion serves to throw out the balls, as indicated by the dotted lines J, and this action raises the bell-crank lever, and opens the throttle valve.
Numerous types of governors have been constructed, some of which operate by gravity, in connection with centrifugal action. Some are made with the balls adapted to swing downwardly, and thrown back by the action of springs. Others have the balls sliding on horizontally-disposed arms, and thrown back by the action of springs; and gyroscopic governors are also made which are very effective.
Fly wheel governors are not uncommon, which are placed directly on the engine shaft, or placed within the fly wheel itself, the latter being a well known form for engines which move slowly.
Injectors.—The Injector is one of the anomalies in mechanism. It actually forces water into a boiler by the action of the steam itself, against its [153] own pressure. It is through the agency of condensation that it is enabled to do this.
The illustration, Fig. 69, which represents the original type of the device, comprises a shell A, within which is a pair of conically formed tubes, B, C, in line with each other, the small ends of the tubes being pointed towards each other, and slightly separated. The large end of the conical tube C, which points toward the pipe D, which leads to the water space of the boiler, has therein a check valve E.
The steam inlet pipe F, has a contracted nozzle G, to eject steam into the large end of the conical tube B, and surrounding the nozzle F is a chamber which has a pipe H leading out at one side, through which cold water is drawn into the injector.
Surrounding the conical pipes B, C, is a chamber I, which has a discharge pipe J. The action of the device is very simple. When steam is permitted to flow into the conical tube B, from the nozzle G, it passes out through the drain port J, and this produces a partial vacuum to form in the space surrounding the nozzle G.
As a result water is drawn up through the pipe H, and meeting with the steam condenses the latter, thereby causing a still greater vacuum, and this vacuum finally becomes so great that, with [154] the inrushing steam, and the rapid movement through the conical tubes, past their separated ends, a full discharge through the drain J is prevented.
As it now has no other place to go the check valve E is unseated, and the cold water is forced into the boiler through the pipe D, and this action will continue as long as condensation takes place at the nozzle G.
Many improvements have been made on the original form, mostly in the direction of adjusting the steam nozzle, and to provide the proper proportion of flow between the steam and water, as this must be adjusted to a nicety to be most effective.
An example of a movable tube which closes the [155] outlet to the overflow, is shown in Fig. 70. The steam inlet tube A is at one end of the shell, and the outlet tube B to the boiler, at the other end, and intermediate the two is a tube C, with its open flaring end adapted to receive the steam from the tube A. This tube is longitudinally-movable, so that the controlling lever D may move it to and fro.
A chamber E surrounds the nozzle A, and has a water inlet pipe F, while the space G between the ends of the pipes B, C, has an outlet H, a single check valve I being interposed. In operation the tube C may be adjusted the proper distance from the end of the pipe B, and when the current is once established through the injector, the pipe C may be brought into contact with B, and thus entirely cut out the movement of the water to the overflow.
Feed Water Heater.—An apparatus of this kind is designed to take the exhaust steam from the engine and condense it, and from the condenser it is again returned to the boiler. The water thus used over again goes into the boiler at a temperature of over 180 degrees, and thus utilizes the heat that would otherwise be required to raise the temperature of the water from the natural heat, say 70, up to that point.
In Fig. 71 the illustration shows a typical [156] heater, which comprises an outer shell A, each end having a double head, the inner head B being designed to receive the ends of a plurality of horizontally disposed pipes, and the outer heads C, separated from the inner head so as to provide chambers, one end having one, and the other head being provided with two horizontal partitions D, so the water may be diverted back and forth through the three sets of pipes within the shell.
The three sets of pipes, E, F, and G, are so arranged that they carry the water back and forth from one head to the other, and for this purpose the water for cooling the steam enters the port H at one end, passes through the upper set of pipes E to the other end, then back through the same set of pipes on the other side of a partition, not shown, and back and forth through the two lower sets of pipes F, G.
The steam enters at the port I at the top of the shell, and passes down, as it is condensed, being discharged at the outlet J.
VALVES AND VALVE FITTINGS
In the use of steam, compressed gas, or any medium which must have a controllable flow, valves are a necessary element; and the important point is to know what is best adapted for the use which is required in each case.
For this reason one of the best guides is to fully understand the construction of each. The following illustrations and descriptions will give a good idea of the various types in use.
Check Valve.—Fig. 72 shows a longitudinal section of a check valve, which is designed to prevent [159] the water from returning or backing up from the pressure side. The cylindrical body A is threaded at each end, and has an inclined partition B therein which has a circular aperture.
The upper side of the shell has an opening, adapted to be closed by a cap C, large enough to insert the valve D, which is hinged to the upper side of the partition. Water or gas is forced in through the valve in the direction of the arrow, and the hinged valve is always in position to close the opening in the partition.
In case the valve should leak it may be readily ground by taking the small plug E from the opening, and with a screw driver, turning the valve, and thereby fit it snugly on its seat.
Gate Valve.—The cylindrical shell A has its ends internally threaded, and is provided, midway between its ends, with a partition wall B, having a central aperture. The upper side of the shell has an opening to receive the bonnet C, through which the valve stem D passes. This stem carries at its lower end a gate E which rests against the partition B.
The stem D is threaded to screw into the threaded bore of the gate. A packing gland F surrounds the stem D. It will thus be seen that the turning of the stem D draws the gate up or down, and thus effects an opening, which provides a direct passage for the water through the valve body.
Globe Valve.—A globe valve has the advantage that the valve is forced against its seat by the pressure of the wheel, differing from the gate valve, that depends on the pressure of the fluid to keep it tight.
The valve body A has therein a Z-shaped partition B, the intermediate, horizontally-disposed limb of the partition being directly below the opening through the body, which is designed to receive the bonnet C.
The bonnet has a central vertical bore, the lower end of which is threaded to receive the wheel spindle. The lower end of the spindle carries the circular valve, which is seated in the opening of the Z-shaped partition.
The Corliss Valve.—The valve itself is of the rotary type, as shown in Fig. 75, in which the port A goes to the cylinder, and B is the passage for the steam from the boiler. The cylindrical valve body C has within the aperture B a gate D, one edge of which rests against the abutment through [162] which the port A is formed, and this gate has within it the bar E which is connected with the crank outside of the casing.
The Corliss Valve-Operating Mechanism.—As the operation of the valves in the Corliss type of engine is so radically different from the ordinary reciprocation engine, a side view of the valve grouping and its connecting mechanism are shown in Fig. 76.
The cylinder has an inlet valve A at each end, and an outlet valve B at each end for the discharge of the steam. C is a valve rod from the eccentric which operates the valves, and D a wrist plate, having an oscillatory or rocking motion around its center E. The attachments F F, of the steam rods, open the inlet ports A A, and G G, are the attachments of exhaust rods which open and close the exhaust valves B B. H H are catches which can be unhooked from the stems of the valves A by the governor rods J J.
The vertical links K, K are connected at their lower ends with the pistons of dash pots, and have their upper ends attached to the valve spindles, and act to close the valves A A when the catches H are released by the governor rods J by means of the weights of the pistons in the dash pots.
The dash pots L L act in such a manner as to cushion the descent of the links K and thus prevent undue shock. M is a wrist plate pin by which the valve rod C can be released from the wrist plate.
The whole purpose of the mechanism is to provide a means for closing the valves which are at [164] the steam inlet ports, by a sudden action. The exhaust valves, on the other hand, are not so tripped but are connected directly with the wrist plate which drives all four of the valves.
The wrist plate or spider has a rocking motion, being driven by an eccentric rod from the engine-shaft. The mechanism thus described gives a variable admission as the load varies, but a constant release of the exhaust and a constant compression to act as a cushion.
It gives a high initial pressure in the cylinder, and a sharp cut off, hence it is found to be very efficient.
Angle Valve.—One of the most useful is the angle valve, which is designed to take the place of an angle bend or knee in the line of the piping. The mechanism is the same as in the well known [165] globe valve construction, the bonnet A being on a line with one of the right-angled limbs of the body.
The pressure of the fluid should always be on the lower side of the valve C, coming from the direction of the arrow B, for the reason that should the steam pressure be constant on the other side, it would be difficult to repack the gland D without cutting off the steam from the pipe line.
Referring back to the illustration of the globe valve, it will be noticed that the same thing, so far as it pertains to the direction of the steam, applies in that construction, and a common mistake is to permit the pressure of the steam to be exerted so that it is constantly acting against the packing of the spindle.
Rotary Valves.—Two forms of rotary valves are shown, one as illustrated in Fig. 78, where the [166] rotating part, or plug, A has one straight-way opening B, which coincides with two oppositely-projecting ports C, D.
The other form, Fig. 79, has an L-shaped opening E through the rotating plug F, and the casing, in which the plug is mounted has three ports, one, G, being the inlet, and the other two H, I, at right angles for the discharge of the fluid.
Rotable Engine Valves.—So many different forms of the rotable valve have been made, that it is impossible to give more than a type of each. For engine purposes the plugs are usually rotated in unison with the engine shaft, and a single delivery valve of this kind is shown in Fig. 80.
This has three ports in the casing, namely the inlet port A, and two outlet ports C, D. The plug has a curved cut out channel E, and this extends around the plug a distance equal to nearly one-half [167] of the circumference, so that the steam will be diverted into, say, B, for a period equal to one-quarter turn of the plug, and then into port C, for the same length of time.
Fig. 81 shows a valve which has a double action. The plug G has two oppositely-disposed curved channels, H, I, and the casing has a single inlet port J, and two oppositely-disposed outlet ports K, L.
When the plug turns the port L serves to convey the live steam to the engine, while the other port K at the same time acts as the exhaust, and this condition is alternately reversed so that L acts as the discharge port.
Throttle Valves.—The throttle valves here illustrated are those used in connection with gasoline engines. The best known is the Butterfly valve, shown in Fig. 82, and this is also used as a [168] damper, for regulating the draft in furnaces and stoves.
This type is made in two forms, one in which the two wings of the valve are made to swing up or down in unison, and the other, as illustrated, where the disk A is in one piece, and turns with the spindle B to which it is fixed.
In Fig. 83 the wing C is curved, so that by swinging it around the circle, the opening of the discharge pipe D is opened or closed.
Another design of throttle is represented in Fig. 84. One side of the pipe A has a lateral extension B, which is double, so as to receive therein a sliding plate C, which is easily controllable from the outside.
Fig. 85 shows a form of double sliding plate, where the double lateral extensions project out in opposite directions, as at D, D, and within these extensions are sliding plates which are secured together in such a way that as one is pushed in [169] the other also moves in, and thus acts in unison to close or to open the space between them. It is the most perfect form of throttle valve, as it causes the gases to open directly into the center of the outgoing pipe.
Blow-off Valves.—The illustration shows a type of valve which is used on steamboats and very largely on farm boilers throughout the country. The pipe A from the boiler has cast therewith, or otherwise attached, a collar B, which has a standard C projecting upwardly at one side, to the upper end of which is hinged a horizontal lever D, which has a weight at its other end.
The upper end of the pipe has a conically-ground seat, to receive a conical valve E, the stem of which is hinged, as at F, to the level. The weight may be adjusted to the pressure desired before blowing out and the only feature in this type of valve is the character of the valve seat, [170] which is liable, through rust, and other causes, to leak.
Pop, or Safety Valve.—As it has been found more desirable and practical to use a form of valve which is not liable to deterioration, and also to so arrange it that it may be manually opened, the Safety Pop valve was devised.
This is shown in Fig. 87, in which the valve seat base A, which is attached to the top of the boiler, has a cup-shaped outlet B, that is screwed to it, and this carries a lever C, by means of which the valve may be manually opened.
A vertical shell D is attached to the cup-shaped portion, and this has a removable cap E. The valve F is seated within a socket in the base, and has a disk head, to receive the lower end of a coiled spring G.
The spring is supported in position by a stem H which extends down from the head, and an adjusting nut I serves to regulate the pressure desired before the steam in the boiler can act.
CAMS AND ECCENTRICS
More or less confusion arises from the terms cams and eccentrics. A cam is a wheel which may be either regular in shape, like a heart-wheel, or irregular, like a wiper-wheel.
The object in all forms of cams is to change motion from a regular into an irregular, or reversely, and the motion may be accelerated or retarded at certain points, or inverted into an intermittent or reciprocating movement, dependent on the shape of the cam.
A cam may be in the shape of a slotted or grooved plate, like the needle bar of a sewing machine, where a crank pin works in the slot, and this transmits an irregular vertical movement to the needle.
A cam may have its edge provided with teeth, which engage with the teeth of the engaging wheel, and thus impart, not only an irregular motion but also a turning movement, such forms being largely used to give a quickly rising or falling motion.
What are called wiper-wheels are designed to give an abrupt motion and such types are used in trip hammers, and to operate stamp mills. In harvesters, printing presses, sewing machines, and mechanism of that type, the cam is used in a variety of forms, some of them very ingenious and complicated.
Cams are also used for cutting machines, or in tracing apparatus where it would be impossible to use ordinary mechanism. All such forms are special, requiring care and study to make their movements co-relate with the other parts of the mechanism that they are connected up with.
Simple Cams.—Fig. 88 shows a form of the most simple character, used, with some modifications, to a larger extent than any other. It is called the heart-shaped cam, and is the regular type.
Fig. 89 is an elliptical cam, which is also regular. What is meant by regular is a form that is the same in each half portion of its rotation.
Fig. 90 is a double elliptic, which gives a regular movement double the number of times of that produced by the preceding figure, and the differences between the measurements across the major and minor axes may vary, relatively, to any extent.
Wiper Wheels.—Wiper wheels are cams which give a quick motion to mechanism, the most common form being the single wiper, as shown in Fig. 91.
The double wiper cam, Fig. 92, has, in some mechanism, a pronounced difference between the lengths of the two fingers which form the wipers.
The form of cam shown in Fig. 93 is one much used in iron works for setting in motion the tilt hammer. Only three fingers are shown, and by enlarging the cam at least a dozen of these projecting points may be employed.
Cam Sectors.—Fig. 94 shows a type of cam [175] which is designed for rock shafts. The object of this form of cam is to impart a gradually increasing motion to a shaft. Assuming that A is the driving shaft, and B the driven shaft, the cam C, with its short end D, in contact with the long end E of the sector F, causes the shaft B to travel at a more accelerated speed as the other edges G, H, approach each other.
Cylinder Cam.—Fig. 95 shows one form of cylinder A with a groove B in it, which serves [176] as a means for moving a bar C back and forth. The bar has a projecting pin D, which travels in the groove.
This form of movement may be modified in many ways, as for instance in Fig. 96, where the drum E has a sinuous groove F to reciprocate a bar G to and fro, the groove being either regular, so as to give a continuous back and forth movement of the bar; or adapted to give an irregular motion to the bar.
Double Cam Motion.—Cams may also be so arranged that a single one will produce motions in different directions successively, as illustrated in Fig. 97. The horizontal bar A, hinged at B to the upper end of a link C, has its free end resting on the cam D.
The arm A has also a right-angled arm E extending downwardly, and is kept in contact with [177] the cam by means of a spring F. Connecting rods G, H, may be hinged to the arm E and bar A, respectively, so as to give motion to them in opposite directions as the cam revolves.
Eccentrics.—An eccentric is one in which the cam or wheel itself is circular in form, but is mounted on a shaft out of its true center. An eccentric may be a cam, but a cam is not always eccentric in its shape. The term is one in direct contrast with the word eccentric.
Fig. 98 shows the wheel, or the cam, which is regular in outline, that is circular in form, but is mounted on the shaft out of its true center. In this case it is properly called an eccentric cam but in enginery parlance it is known as the eccentric, as represented in Fig. 99.
Triangularly-Formed Eccentric.—Fig. 100 illustrates a form of cam which has been used on engines. The yoke A being integral with the bar B, gives a reciprocating motion to the latter, and [178] the triangular form of the cam C, which is mounted on the shaft D, makes a stop motion at each half-revolution, then produces a quick motion, and a slight stop only, at the half turn, and the return is then as sudden as the motion in the other direction.
GEARS AND GEARING
For the purpose of showing how motion may be converted from a straight line or from a circular movement into any other form or direction, and how such change may be varied in speed, or made regular or irregular, the following examples are given, which may be an aid in determining other mechanical devices which can be specially arranged to do particular work.
While cams and eccentrics may be relied on to a certain extent, there are numerous places where the motion must be made positive and continued. This can be done only by using gearing in some form, or such devices as require teeth to transmit the motion from one element to the other.
The following illustrations do not by any means show all the forms which have been constructed and used in different machines, but they have been selected as types merely, in order to give the suggestions for other forms.
Racks and Pinions.—The rack and pinion is the most universal piece of mechanism for changing [180] motion. Fig. 101 illustrates it in its most simple form. When constructed in the manner shown in this figure it is necessary that the shaft which carries the pinion shall have a rocking motion, or the rack itself must reciprocate in order to impart a rocking motion to the shaft.
This is the case also in the device shown in Fig. 102, where two rack bars are employed. A study of the cams and eccentrics will show that the transference of motion is limited, the distances being generally very small; so that the rack and pinions add considerably to the scope of the movement.
The Mangle Rack.—The device called the mangle rack is resorted to where a back and forth, or [181] a reciprocating movement is to be imparted to an element by a continuous rotary motion.
The plain mangle racks are shown in Figs. 103 and 104, the former of which has teeth on the inside of the opposite parallel limbs, and the latter, Fig. 104, having teeth not only on the parallel sides, but also around the circular parts at the ends.
This form of rack may be modified so that an alternate circular motion will be produced during [182] the movement of the rack in either direction. Fig. 105 is such an instance. A pinion within such a rack will turn first in one direction, and then in the next in the other direction, and so on.
If the rack is drawn back and forth the motion imparted to the pinion will be such as to give a continuous rocking motion to the pinion.
Controlling the Pinion.—Many devices have been resorted to for the purpose of keeping the pinion in engagement with the teeth of the mangle rack. One such method is shown in Fig. 106.
The rack A has at one side a plate B, within which is a groove C, to receive the end of the shaft D, which carries the pinion E. As the mangle rack moves to such a position that it reaches the end of the teeth F on one limb, the groove C diverts the pinion over to the other set of teeth G.
All these mangle forms are substitutes for cranks, with the advantage that the mangle gives a uniform motion to a bar, whereas the to and fro [183] motion of the crank is not the same at all points of its travel.
Examine the diagram, Fig. 107, and note the movement of the pin A which moves along the path B. The crank C in its turning movement around the circle D, moves the pin A into the different positions 1, 2, 3, etc., which correspond with the positions on the circle D.
The Dead Centers.—There is also another advantage which the rack possesses. Where reciprocating motion is converted into circular motion, as in the case of the ordinary steam engine, there are two points in the travel of a crank where the thrust of the piston is not effective, and that is at what is called the dead centers.
In the diagram, Fig. 108, the ineffectiveness of the thrust is shown at those points.
Let A represent the piston pushing in the direction of the arrow B against the crank C. When in this position the thrust is the most effective, and through the arc running from D to E, and [184] from H to G, the cylinder does fully four-fifths of the work of the engine.
While the crank is turning from G to D, or from I to J, and from K to L, no work is done which is of any value as power.
If, therefore, a mangle bar should be used instead of the crank it would add greatly to the effectiveness of the steam used in the cylinder.
Crank Motion Substitute.—In Fig. 109 the pinion A is mounted so that its shaft is in a vertical [185] slot B in a frame C. The mangle rack D, in this case, has teeth on its outer edge, and is made in an elongated form. The pinion shaft moves up and down the slot and thus guides the pinion around the ends of the rack.
Mangle Wheels.—The form which is the most universal in its application is what is called the mangle wheel. In Fig. 110 is shown a type wherein the motion in both directions is uniform.
Mangle wheels take their names from the ironing machines called mangles. In apparatus of this kind the movement back and forth is a slow one, and the particular form of wheels was made in order to facilitate the operation of such machines. In some mangles the work between the rollers is uniform back and forth. In others the [186] work is done in one direction only, requiring a quick return.
In still other machines arrangements are made to provide for short strokes, and for different speeds in the opposite directions, under certain conditions, so that this requirement has called forth the production of many forms of wheels, some of them very ingenious.
The figure referred to has a wheel A, on one side of which is a peculiarly-formed continuous slot B, somewhat heart-shaped in general outline, one portion of the slot being concentric with the shaft C.
Within the convolutions of the groove is a set of teeth D, concentric with the shaft C. The pinion E, which meshes with the teeth D, has the end of its shaft F resting in the groove B, and it is also guided within a vertical slotted bar G.
The pinion E, therefore, travels over the same teeth in both directions, and gives a regular to and fro motion.
Quick Return Motion.—In contradistinction to this is a wheel A, Fig. 111, which has a pair of curved parallel slots, with teeth surrounding the slots. When the wheel turns nearly the entire revolution, with the pinion in contact with the outer set of teeth, the movement transmitted to the mangle wheel is a slow one.
When the pinion arrives at the turn in the groove and is carried around so the inner teeth are in engagement with the pinion, a quick return is imparted to the wheel.
Accelerated Motion.—Aside from the rack and mangle type of movement, are those which are [188] strictly gears, one of them being a volute form, shown in Fig. 112. This gear is a face plate A, which has teeth B on one face, which are spirally-formed around the plate. These mesh with a pinion C, carried on a horizontal shaft D. This shaft is feathered, as shown at E, so that it will carry the gear along from end to end.
The gear has cheek-pieces F to guide it along the track of teeth. As the teeth approach the center of the wheel A, the latter impart a motion to the gear which is more than twice the speed that it receives at the starting point, the speed being a gradually increasing one.
Quick Return Gearing.—Another much more simple type of gearing, which gives a slow forward [189] speed and a quick return action, is illustrated in Fig. 113. A is a gear with internal teeth through one half of its circumference, and its hub B has teeth on its half which is opposite the teeth of the rim.
A pinion C on a shaft D is so journaled that during one half of the rotation of the wheel A, it engages with the rim teeth, and during the other half with the hub teeth. As the hub B and gear C are the same diameter, one half turn of the pinion C will give a half turn to the wheel A.
As the rim teeth of the wheel A are three times the diameter of the pinion C, the latter must turn once and a half around to make a half revolution of the wheel A.
Scroll Gearing.—This is a type of gearing [190] whereby at the close of each revolution the speed may be greater or less than at the beginning. It comprises two similarly-constructed gears A, B, each with its perimeter scroll-shaped, as shown.
The diagram shows their positions at the beginning of the rotation, the short radial limb of one gear being in line with the long limb of the other gear, hence, when the gears rotate, their speeds relative to each other change, being constantly accelerated in one or decreased in the other.
SPECIAL TYPES OF ENGINES
In describing various special types of motors, attention is first directed to that class which depend on the development of heat in various gases, and this also necessitates some explanation of ice-making machinery, and the principles underlying refrigeration.
It is not an anomaly to say that to make ice requires heat. Ice and boiling water represent merely the opposites of a certain scale in the condition of matter, just as we speak of light and darkness, up and down, and like expressions.
We are apt to think zero weather is very cold. Freezing weather is a temperature of 32 degrees. At the poles 70 degrees below have been recorded. In interstellar space,—that is, the region between the planets, it is assumed that the temperature is about 513 degrees Fahrenheit, below zero, called absolute zero.
The highest heat which we are able to produce artificially, is about 10,000 degrees by means of the electric arc. We thus have a range of over [192] 10,500 degrees of heat, but it is well known that heat extends over a much higher range.
Assuming, however, that the figures given represent the limit, it will be seen that the difference between ice and boiling water, namely, 180 degrees, is a very small range compared with the temperatures referred to.
In order to effect this change power is necessary, and power requires a motor of some kind. Hence it is, that to make a lower temperature, a higher degree of heat is necessary, and in the transit between a high and a low temperature, there is considerable loss in this respect, as in every other phase of power mechanism, as has been pointed out in a previous chapter.
In order that we may clearly understand the phenomena of heat and cold, let us take a receiver which holds a cubic foot of gas or liquid, and exhaust all the air from it so the vacuum will be equivalent to the atmospheric pressure, namely, 14.7 pounds per square inch.
Alongside is a small vessel containing one cubic inch of water, which is heated so that it is converted into steam, and is permitted to exhaust into the receiver. When all the water is converted into steam and fills the receiver we shall have the same pressure inside the receiver as on the outside.
It will be assumed, of course, that there has been no loss by condensation, and that the cubic inch of water has been expanded 1700 times by its conversion into steam.
In a short time the steam will condense into water, and we now have, again, a partial vacuum in the receiver, due, of course, to the change in bulk from steam to water. Each time the liquid is heated it produces a pressure, and the pressure indicates the presence of heat; and whenever it cools a loss of pressure is indicated, and that represents cold, or the opposite of heat.
Now, putting these two things together, we get the starting point necessary in the development of power. Let us carry the experiment a step further. Liquids are not compressible. Gases are. The first step then is to take a gas and compress it, which gives it an increase of heat temperature, dependent on the pressure.
If the same receiver is used, and say, two atmospheres are compressed within it, so that it has two temperatures, and the exterior air cools it down to the same temperature of the surrounding atmosphere, we are ready to use the air within to continue the experiment.
Let us convey this compressed gas through pipes, and thus permit it to expand; in doing so the area within the pipes, which is very much [194] greater than that of the receiver, grows colder, due to the rarefied gases within. Now bearing in mind the previous statement, that loss of pressure indicates a lowering of temperature, we can see that first expanding the gas, or air, by heat, and then allowing it to cool, or to produce the heat by compressing it, and afterwards permitting it to exhaust into a space which rarefies it, will make a lower temperature.
It is this principle which is used in all refrigerating machines, whereby the cool pipes extract the heat from the surrounding atmosphere, or when making ice, from the water itself, and this temperature may be lowered to any extent desired, dependent on the degree of rarefaction produced.
Let us now see how this applies to the generation of power in which we are more particularly interested.
All liquids do not evaporate at the same temperature as water. Some require a great deal more than 212 degrees; others, like, for instance, dioxide-of-carbon, will evaporate at 110 degrees, or about one half the heat necessary to turn water into steam.
On the other hand, all gases act alike so far as their heat absorption is concerned, so that by using a material with a low evaporative unit, less [195] fuel will be required to get the same expansion, which means the same power.
To illustrate this, let us assume that we have equal quantities of water, and of dioxide-of-carbon, and that is to be converted into a gas. It will take just double the amount of fuel to convert the water into a gaseous state. As both are now in the same condition, the law of heat absorption is the same from this time on.
The dioxide-of-carbon engine is one, therefore, which uses the vapor of this material, which, after passing through the engine, is condensed and pumped back to the boiler to be used over and over.
In like manner, also, ether, which has a low point of vaporization, is used in some engines, the principle being the same as the foregoing type.
Rotary Engines.—Many attempts have been made to produce a rotary type of steam engine, and also to adapt it for use as an internal combustion motor.
The problem is a complicated one for the following reasons: First, it is difficult to provide for cut-off and expansion. A rotating type, to be efficient, must turn at a high rate of speed, and this makes the task a more trying one. Second, the apparent impossibility of properly packing [196] the pistons. The result is a waste of steam, or the gas used to furnish the power. Third, the difficulty in providing a suitable abutment so as to confine the steam or gas, and make it operative against the piston.
In Fig. 115 is shown a type of rotary which is a fair sample of the characteristics of all motors of this form. It comprises an outer cylindrical shell, or casing, A, having a bore through the ends, which is above the true center of the shell, to receive a shaft B.
This shaft carries a revolving drum C of such [197] dimensions that it is in contact with the shell at its upper side only, as shown at D, leaving a channel E around the other portions of the drum.
The steam inlet is at F, which is one-eighth of the distance around the cylinder, and the exhaust is at G, the same distance from the point D, on the other side. The inlet and the outlet pipes are, therefore, at the contracted parts of the channel.
The drum has a pair of radially-movable blades H H´, which may move independently of each other, but usually they are connected together, thus dispensing with the use of any springs to keep their ends in contact with the shell.
When steam enters the inlet F the pressure against the blade H drives the drum to the right, and the drum and shell, by contacting at D, form an abutment. Each charge of steam drives the drum a little over a half revolution.
A great deal of ingenuity has been exercised to arrange this abutment so that the blades may pass and provide a steam space for a new supply of steam. In certain types a revolving abutment is formed, as shown, for instance, in Fig. 116.
The shell A, in this case, has two oppositely-disposed inlet and outlet ports, B, C, respectively, and between each set of ports is a revolving gate, formed of four wings D, mounted on a shaft E, [198] in a housing outside of the circular path F, between the drum G and shell A.
The drum G is mounted on a shaft H which is centrally within the shell, and it has two oppositely-projecting rigid blades I. When steam enters either of the supply ports B, the drum is rotated, and when the blades reach the revolving gates, the latter are turned by the blades, or, they may be actuated by mechanism connected up with the driving shaft.
Caloric Engine.—This is an engine which is dependent on its action upon the elastic force of [199] air which is expanded by heat. The cylinder of such a motor has means for heating it, and thus expanding the air, and a compressor is usually employed which is operated by the engine itself, to force compressed air into the cylinder.
It is not an economical engine to work, but it is frequently used in mines, in which case the compressor is located at the surface, and the engine operated within the mine, thus serving a double purpose, that of supplying power, and also furnishing the interior with fresh air.
All engines of this character must run at a slow speed, for the reason that air does not absorb heat rapidly, and sufficient time must be given to heat up and expand the air, so as to make it effective.
Adhesion Engine.—A curious exhibition of the action of a gas against a solid, is shown in what is called an Adhesion Engine. Fig. 117 shows its construction. A plurality of disks A are mounted on a shaft B, these disks being slightly separated from each other.
The steam discharge pipe C is flattened at its emission end, as shown at D, so the steam will contact with all the disks. The steam merely contacts with the sides of the disks, the movement of the steam being substantially on the plane of the disks themselves, and the action sets up a rapid [200] rotation, and develops a wonderful amount of power.
It will be understood that the disks are enclosed by a suitable casing, so that the steam is carried around and discharged at a point about three quarters of the distance in the circumference.
This motor is given to illustrate a phase of the subject in the application of a motor fluid, like steam, or heated gases, that shows great possibilities. It also points out a third direction in which an expansive fluid may be used.
Thus the two well-known methods, namely, pressure, and impact forces, may be supplemented by the principle of adhesion, in which the expansive [201] force of a gas, passing alongside of and in contact with a plain surface, may drag along the surface in its train.
Such an exhibition of force has an analogy in nature by what is known as capillary attraction, which shows adhesion. For instance, sap flowing up the pores of trees, or water moving along the fibers of blotting paper, illustrates movement of liquids when brought into contact with solids.
ENGINERY IN THE DEVELOPMENT OF THE HUMAN RACE
The energy of a nation may be expressed by its horse power. It is not numbers, or intellect, or character, or beliefs that indicate the progress of a people in a material sense.
It is curious how closely related enginery is with the advancement of a people. Nothing can be more striking to illustrate this than railroads as a feature of development in any country.
Power in Transportation.—Without the construction and maintenance of mechanical power, railroads would be impossible. To be able to quickly and cheaply move from place to place, is the most important factor in human life. The ability of people to interchange commodities, and to associate with others who are not in their own intimate community, are the greatest civilizing agencies in the world.
Power vs. Education and the Arts.—Education, the cultivation of the fine arts, and the desire for luxuries, without the capacity for quickly interchanging commodities and to intermingle with [203] each other, are ineffectual to advance the interests of any nation, or to maintain its prosperity.
Lack of Power in the Ancient World.—The Greeks and the Romans had a civilization which is a wonder even to the people of our day. They had the arts and architecture which are now regarded as superb and incomparable. They had schools of philosophy and academies of learning; their sculpture excites the admiration of the world; and they laid the foundation theories of government from which we have obtained the basis of our laws.
The Early Days of the Republic.—When our forefathers established the Republic there were many misgivings as to the wisdom of including within its scope such a large area as the entire Atlantic seacoast. From Maine to Florida the distance is 1250 miles; and from New York to the Mississippi 900 miles, comprising an area of 1,200,000 square miles.
How could such an immense country ever hold itself together? It was an area nearly as large as that controlled by Rome when at the height of her power. If it was impossible for the force of Roman arms to hold such a region within its control, how much more difficult it would be for the Colonies to expect cohesion among their scattered peoples.
Lack of Cohesiveness in a Country Without Power.—Those arguments were based on the knowledge that every country in ancient times broke apart because there was no unity of interest established, and because the different parts of the same empire did not become acquainted or associated with each other.
The Railroad as a Factor in Civilization.—The introduction of railroads, by virtue of motive power, changed the whole philosophy of history in this respect. Even in our own country an example of the value of railroads was shown in the binding effect which they produced between the East and the West prior to the Civil War.
All railroads, before that period, ran east and west. Few extended north and south. It is popularly assumed that the antagonism between the North and the South grew out of the question of slavery. This is, no doubt, largely so, as an immediate cause, but it was the direct cause which prevented the building of railroads between the two sections.
It simply reënforces the argument that the motor, the great power of enginery, was not brought into play to unite people who were antagonistic, and who could not, due to imperfect communication, understand each other.
To-day the United States contains an area [205] nearly as great as the whole of Europe, including Russia, with their twenty, or more, different governments. Here we have a united country, with similar laws, habits, customs and religions throughout. In many of those foreign countries the people of adjoining provinces are totally unlike in their characteristics.
It has been shown that wherever this is the case it is due to lack of quick and cheap intercommunication.
The Wonderful Effects of Power.—This remarkable similarity in the conditions of the people throughout the United States is due to the railroads, that great personification of power, notwithstanding the diverse customs and habits of the people which daily come to our shores and spread out over our vast country.
It has unified the people. It has made San Francisco nearer to New York than Berlin was to Paris in the time of Napoleon. The people in Maine and Texas are neighbors. The results have been so far reaching that it has given stability to the government greater than any other force.
But there is another lesson just as wonderful to contemplate. England has an area of only about 58,000 square miles, about the same size as either Florida, Illinois, or Wisconsin.
England as a User of Power.—The enginery within her borders is greater than the combined energy of all the people on the globe. Through the wonderful force thus set in motion by her remarkable industries she has become the great manufacturing empire of the world, and has called into existence a carrying fleet of vessels, also controlled by motors, so stupendous as to be beyond belief.
We may well contemplate the great changes which have been brought about by the fact that man has developed and is using power in every line of work which engages his activities.
The Automobile.—He does not, in progressive countries, depend on the muscle of the man, or on the sinews of animals. These are too weak and too slow for his needs. Look at the changes brought about by the automobile industry within the past ten years. What will the next century bring forth?
Artificial power, if we may so term it, is a late development. It is very young when compared with the history of man.
High Character of Motor Study.—The study of motors requires intellect of a high order. It is a theme which is not only interesting and attractive to the boy, but the mastery of the subject [207] in only one of its many details, opens up a field of profit and emoluments.
The Unlimited Field of Power.—It is a field which is ever broadening. The student need not fear that competition will be too great, or the opportunities too limited, and if these pages will succeed, in only a small measure, in teaching the fundamental ideas, we shall be repaid for the efforts in bringing together the facts presented.
THE ENERGY OF THE SUN, AND HOW HEAT IS MEASURED
In the first chapter we tried to give a clear view of the prime factors necessary to develop motion. The boy must thoroughly understand the principles involved, before his mind can fully grasp the ideas essential in the undertaking.
While the steam engine has been the prime motor for moving machinery, it is far from being efficient, owing to the loss of two-thirds of the energy of the fuel in the various steps from the coal pile to the turning machinery.
First, the fuel is imperfectly consumed, the amount of air admitted to the burning mass being inadequate to produce perfect combustion.
Second, the mechanical device, known as the boiler, is not so constructed that the water is able to completely absorb the heat of the fuel.
Third, the engine is not able to continuously utilize the expansive force of the steam at every point in the revolution of the crankshaft.
Fourth, radiation, the dissipation of heat, and condensation, are always at work, and thus detract from the efficiency of the engine.
The gasoline motor, the next prime motor of importance, is still less efficient in point of fuel economy, since less than one-third of the fuel is actually represented in the mechanism which it turns.
The production of energy, in both cases, involves the construction of a multiplicity of devices and accessories, many of them difficult to make and hard to understand.
To produce power for commercial purposes, at least two things are absolutely essential. First, there must be uniformity in the character of the power produced; and, second, it must be available everywhere.
Water is the cheapest prime power, but its use is limited to streams or moving bodies of water. If derived from the air currents no dependence can be placed on the regularity of the energy.
Heat is the only universal power on the globe. The sun is the great source of energy. Each year it expends in heat a sufficient force to consume over sixty lumps of coal, each equal to the weight of the earth.
Of that vast amount the earth receives only a small part, but the portion which does come to it is equal to about one horse power acting continuously over every thirty square feet of the surface of our globe.
The great problem, in the minds of engineers, from the time the steam engine became a factor, was to find some means whereby that energy might be utilized, instead of getting it by way of burning a fuel.
One of the first methods proposed was to use a lens or a series of mirrors, by means of which the rays might be focused on some object, or materials, and thus produce the heat necessary for expansion, without the use of fuel.
Wonderful results have been produced by this method; but here, again, man meets with a great obstacle. The heat of the sun does not reach us uniformly in its intensity; clouds intervene and cut off the rays; the seasons modify the temperature; and the rotation of the globe constantly changes the direction of the beams which fall upon the lens.
The second method consists in using boxes covered with glass, the interior being blackened to absorb the heat, and by that means transmit the energy to water, or other substances adapted to produce the expansive force.
Devices of this character are so effective that temperatures much above the boiling point of water have been obtained. The system is, however, subject to the same drawbacks that are urged against the lens, namely, that the heat is irregular, and open to great variations.
These defects, in time, may be overcome, in conserving the force, by using storage batteries, but to do so means the change from one form of energy to another, and every change means loss in power.
The great problem of the day is this one of the conversion of heat into work. It is being done daily, but the boy should understand that the direct conversion is what is required. For instance, to convert the energy, which is in coal, into the light of an electric lamp, requires at least five transformations in the form of power, which may be designated as follows:
1. The burning of the coal.
2. The conversion of the heat thus produced into steam.
3. The pressure of the steam into a continuous circular motion in the steam engine.
4. The circular motion of the steam engine into an electric current by means of a dynamo.
5. The change from the current form of energy to the production of an incandescent light in the lamp itself, by the resistance which the carbon film offers to the passage of the current. Should an inventor succeed in eliminating only one of the foregoing steps, he would be hailed as a genius, and millions would not be sufficient to compensate the fortunate one who should be able [212] to dispense with three of the steps set forth.
The Measurement of Heat.—To measure heat means something more than simply to take the temperature. As heat is work, or energy, there must be a means whereby that energy can be expressed.
It has been said that the basis of all true science consists in correct definitions. The terms used, therefore, must be uniform, and should be used to express certain definite things. When those are understood then it is an easy matter for the student to grope his way along, as he meets the different obstacles, for he will know how to recognize them.
Before specifically explaining the measurement it might be well to understand some of the terms used in connection with heat. The original theory of heat was, that it was composed of certain material, although that matter was supposed to be subtle, imponderable and pervading everything.
This imponderable substance was called Caloric. It was supposed that these particles mutually attracted and repelled each other, and were also attracted and repelled by other bodies, so that they contracted and expanded.
The phenomenon of heat was thus accounted for by the explanation that the expansion and [213] contraction made the heat. This was known as the Material Theory of Heat.
But that phase of the explanation has now been abandoned, in favor of what is known as the dynamical, or mechanical theory, which is regarded merely as a mode of motion, or a sort of vibration, wherein the particles move among each other, with greater or less rapidity or in some particular manner.
Thus, the movements of the atoms may be accelerated, or caused to act in a certain way, by friction, by percussion, by compression, or by combustion. Heat is the universal result of either of those physical movements.
Notwithstanding that the material theory of heat is now abandoned, scientists have retained, as the basis of all heat measurements, the name which was given to the imponderable substance, namely, Caloric.
It is generally written Calorie, in the text books. A calorie has reference to the quantity of heat which will raise the temperature of one kilogram of water, one degree Centigrade.
As one kilogram is equal to about two pounds, three and a quarter ounces, and one degree Centigrade is the same as one and two-thirds degrees Fahrenheit, it would be more clearly expressed by stating that a caloric is the quantity of heat required [214] to raise the temperature of one and one-fifth pound of water one degree Fahrenheit.
This is known as the scientific unit of the thermal or heat value of a caloric. But the engineering unit is what is called the British Thermal Unit, and designated in all books as B. T. U.
This is calculated by the amount of heat which is necessary to raise a kilogram of water one degree Fahrenheit. According to Berthelot, the relative value of calorics and B. T. U. are as follows:
HEATS OF COMBUSTION
| Substance. | Calories. | B. T. U. |
| Hydrogen | 34,500 | 62,100 |
| Carbon to carbon dioxide | 8,137 | 14,647 |
| Carbon to carbon monoxide | 2,489 | 4,480 |
| Carbon monoxide | 2,435 | 4,383 |
| Methane | 13,343 | 24,017 |
| Ethylene | 12,182 | 21,898 |
| Cellulose | 4,200 | 7,560 |
| Acetylene | 12,142 | 21,856 |
| Peat | 5,940 | 10,692 |
| Naphthalene | 9,690 | 10,842 |
| Sulphur | 2,500 | 4,500 |
When it is understood that heat is transmitted in three different ways, the value of a measuring instrument, or a unit, will become apparent.
Thus, heat may be transmitted either by conduction, convection, or radiation.
Conduction is the method whereby heat is transmitted from one particle to another particle, or from one end of a rod, or other material to the other end. Some materials will conduct the heat much quicker than others, but if we have a standard, such as the calorie, then the amount of heat transmitted and also the amount lost on the way may be measured.
Convection applies to the transmission of heat through liquids and gases. If heat is applied to the top or surface of a liquid, the lower part will not be affected by it. If the heat is applied below, then a movement of the gas or liquid begins to take place, the heated part moving to the top, and the cooler portions going down and thus setting up what are called convection currents.
Radiation has reference to the transference of heat from one body to another, either through a vacuum, the air, or even through a solid.
By means of the foregoing table, which gives the heats developed by the principal fuels, it is a comparatively easy matter to determine the calorific value of fuels, which is ascertained by making an analysis of the fuel.
The elements are then taken together, and the table used to calculate the value. Suppose, for instance, that the analysis shows that the fuel has seventy-five per cent. of carbon and twenty-five [216] per cent. of hydrogen. It is obvious that if we take seventy-five per cent. of 8,137 (which is the index for carbon), and twenty-five per cent. of 43,500 (the index of hydrogen), and adding the two together, the result, 14,727, would represent the calorific value of the fuel.
GLOSSARY OF WORDS
USED IN TEXT OF THIS VOLUME
| A | |
| Absolute. | Independent; free from all limitations. |
| Amplitude. | Greatness of extent; the state or quality of being sufficient. |
| Absorbent. | A material which will take up a liquid. |
| Absorbing. | Taking up, or taking in. |
| Absorption. | The act or process of taking up or fully occupying. |
| Abutment. | A wall; a stop. |
| Accuracy. | Correctness; positiveness. |
| Accession. | Added to; addition, or increase. |
| Accelerate. | Quickened; hurried. |
| Accessible. | Available; capable of being reached. |
| Accelerated. | A quickening, as of process or action. |
| Actuating. | Moved or incited by some motive. |
| Advance Spark. | The term applied to the movement of the mechanism in an internal combustion engine, which will cause the electric spark to act before the crank has passed the dead center. |
| Aeration. | To add air; to impregnate with oxygen. |
| Alkali. | In chemistry it is known as a compound of hydrogen and oxygen, with certain chemicals. Anything which will neutralize an acid. |
| Allusion. | Referring to; noticed. |
| Anomaly. | A deviation from an ordinary rule; irregular. |
| Adhesion. | To cling to; to stick together. |
| Adjustment. | To arrange in proper order; to set into working condition. |
| Alternating current.[218] | A current which goes back and forth in opposite directions; unlike a direct current which flows continuously in one direction. |
| Ampere. | The unit of current; the term in which strength of current is measured. An ampere is an electromotive force of one volt through a resistance of one ohm. |
| Amplitude. | The state or quality of being broad, or full. |
| Analysis. | The separation into its primitive or original parts. |
| Annular. | Pertaining to or formed like a ring. |
| Armature. | The part of a dynamo or motor which revolves, and on which the wire coils are wound. |
| Assuming. | Taking on; considered to be correct or otherwise. |
| Asphaltum. | A bituminous composition used for pavements, properly made from natural bitumen, or from asphalt rock. |
| Atmospheric. | Referring to; noticed. |
| Available. | Capable of being employed or used. |
| B | |
| Bearings. | The part in mechanism in which journals or spindles rest and turn. |
| Bifurcated. | In two parts; branching, like a fork. |
| Blow-off valve. | A valve so arranged that at certain pressures the valve will automatically open and allow the steam to escape from the boiler. |
| Bombard. | An assault; an attack by shot or shell. |
| Bonnet. | The cap of a valve, which is so arranged that while it permits the valve stem to turn, will also prevent leakage. |
| Butterfly-valve. | A form of valve which is usually flat, and adapted to open out, or turn within the throat or pipe. |
| C | |
| Caloric. | Pertaining to heat. |
| Cam. | A rotating wheel, or piece, either regular or irregular, non-circular, or eccentric. |
| Carbon.[219] | A material like coke, ground or crushed. It required high heat to burn it, and it is used for the burning material in electric arc lamps. |
| Carbureter. | The device used to mix air and gaseous fuel in an internal combustion engine. |
| Carbonized. | Put into a charred form; coke is carbonized coal; charcoal is carbonized wood. |
| Carbureted. | Air or gas to which has been added the gaseous product of petroleum, or some distillate. |
| Centripetal. | That which draws inwardly, or to the center, like the gravitational action of the earth. |
| Centrifugal. | That which throws outwardly; the opposite of centripetal. |
| Check valve. | A form of valve which will permit liquids to freely flow in one direction, but which will open automatically, so as to allow the liquid to flow in the opposite direction. |
| Chemical. | Pertaining to the composition of matter; or relating to chemistry. |
| Chambered. | Having compartments, or divided up into recesses. |
| Circumference. | Around the outside. |
| Circularly. | Around; about the circumference. |
| Circulation. | The movement of water to and fro through conduits. |
| Clearance. | The space at the head of a cylinder within which the steam or gases are compressed by the piston. |
| Classification. | To put in order in a systematic way. |
| Coincide. | To correspond with identity of parts. |
| Cohesion. | To stick together. The attraction of material substances of the same kind for each other. |
| Coöperate. | To work together harmoniously. |
| Compounding. | Composed of or produced by the union of two or more parts, or elements. |
| Complicated.[220] | Very much involved; not simple. |
| Commutator. | The revolving part on the armature of a dynamo or motor, which is divided up into a multiplicity of insulated plates, which are connected with the coils of the wire around the armature. |
| Combustion. | Burning; the action of the unity of oxygen with any substance, which causes it to be destroyed or changed. |
| Commodity. | Any product, or kind of goods. |
| Concaved. | Hollowed. |
| Condensation. | The change from a gaseous to a liquid or solid state. |
| Condenser. | An apparatus which converts a gas into a liquid. |
| Concentric. | A line which at any point is at the same distance from a common center. |
| Conductor. | A substance which will convey either heat or electricity from one end to the other. |
| Conical. | In the form of a cone. |
| Conically. | In the form of a cone. |
| Conduit. | A trough, tube, or other contrivance, which will convey liquids or gases from place to place. |
| Conduction. | The capacity to transmit from one point to another. |
| Connecting Rod. | That part of mechanism which connects the piston rod with the crank. |
| Conserve. | To take care of; to use judiciously. |
| Constant. | Being the same thing at all times; not varying. |
| Contrivance. | Any mechanism, or device which will serve a certain purpose. |
| Contradistinction. | That which is opposite to, comparatively; taken in conjunction with for the purpose of comparison. |
| Cornish. | A form of boiler which has the fire tubes within the water space. |
| Contact Breaker. | A device which has the current normally in circuit, and is so arranged that the circuit is broken at [221] certain intervals, and again immediately reëstablished. |
| Co-relate. | Belonging to; having reference to the same order. |
| Conventional. | The regular manner or method. |
| Contact Maker. | A device for making contacts in an electric circuit at regular intervals. |
| Convolution. | The turns or twists taken. The changes or movement or the peculiar flow of a liquid. |
| Control. | Handling with regularity; The act of guiding. |
| Contracted. | Made smaller. |
| Contingency. | An event; under certain conditions. |
| Counteract. | To antagonize; to so act as to go against. |
| Converting. | Changing; to put in an opposite condition. |
| Cylindrical. | In the form of a cylinder; barrel-shaped. |
| Cyclopedia. | A work which gives, in alphabetical order, the explanations of terms and subjects. |
| Cycle. | A period extending over a certain time; a certain order of events. |
| D | |
| Dead Center. | That point in the turn of a crank where the piston has no effective pull in either direction. |
| Deënergize. | To take power away from. |
| Deflecting. | To glance off; to change the regular or orderly course. |
| Demagnetized. | To take magnetism away from. |
| Deterioration. | To take away from; to grow smaller; to lessen; to depreciate in quality. |
| Deviate. | To avoid; to get around; not going or doing in the regular way. |
| Diagram. | A mechanical plan or outline, as distinguished from a perspective drawing. |
| Diametrically. | Across or through the object; through the center. |
| Dioxide.[222] | An oxide containing two atoms of oxygen to the molecule. |
| Direct current. | An electric current which flows continuously in one direction. |
| Dissipated. | Changed, or entirely dispensed with; usually applied to a condition where materials or substances are scattered. |
| Distributer. | A piece of mechanism in an electric circuit, which switches the current from one part to the other. |
| Dissect. | To take apart. |
| Dominating. | Overpowering; having greatest power. |
| Diverse. | Different; unlike. |
| Dry Cell. | A battery in which the electrolyte is not in a fluid state. |
| Duct. | Either an open trough or conduit, or a closed path for the movement of gases or liquids. |
| Dynamo. | A mechanical device for the purpose of generating electricity. |
| E | |
| Eccentric. | A wheel having its perimeter so formed that the center is not in the exact middle portion. |
| Economy. | Prudence; carefulness; not disposed to be excessive. |
| Efficiency. | Well adapted for the situation; mechanism which will do the work perfectly, or cheaply. |
| Effectiveness. | Well done; to the best advantage. |
| Ejecting. | Throwing out; sending forth. |
| Elastic. | That quality of material which tends to cause it to return to its original shape when distorted. |
| Elementary. | Primitive; the first; in the simplest state. |
| Electric arc. | A term applied to the current which leaps across the slightly separated ends of an electric conductor. |
| Electricity. | An agent, incapable of being seen, but which produces great energy. |
| Electrolyte. | The agent, or material in a battery, usually a liquid, [223] which the current passes through in going from one electrode to the other. |
| Elliptical. | A form which might be expressed by the outline shape of an egg, measured from end to end. |
| Emolument. | Pay; remuneration; the amount received for employment of any kind. |
| Emission. | To send out from; a sending or putting out. |
| Energy. | Force; power. |
| Essential. | The main thing; the important element. |
| Evaporate. | To convert into vapor, usually by heat. |
| Exhaust. | The discharge part of an engine, or other apparatus. |
| Excessive. | Too much; more than is required. |
| Expansion. | Enlarged; the occupying of a greater space. |
| Explicit. | Particularly definite; carefully explained and understood. |
| External. | Outside; the outer surface. |
| F | |
| Facilitating. | Helping; aiding in anything. |
| Factor. | An element in a problem. |
| Fahrenheit. | One of the standards of heat measurement. A thermometer scale, in which the freezing point of water is 32, and the boiling temperature is 212. |
| Fascinating. | Attractiveness; capacity to allure. |
| Feathered. | Applied to the shape of an article, or to a rib on the side of a shaft, which is designed to engage with a groove. |
| Fertilizer. | Material for enriching soil and facilitating the growth of vegetables. |
| Field. | A term applied to the windings and the pole pieces of a dynamo or motor, which magnetically influence the armature. |
| Focal. | The point; the place to which all the elements or forces tend. |
| Foot pounds. | The unit of mechanical work, being the work done [224] in moving one pound through a distance of one foot. |
| Four-cycle. | A gasoline engine, in which the ignition of the compressed hydro-carbon gases takes place every other revolution. |
| Formation. | The arrangement of any mechanism, or a series of elements. |
| Formula. | The recipe for the doing of a certain thing; a direction. |
| Friction. | A retarding motion; the prevention of a free movement. |
| Function. | The qualities belonging to an article, machine or thing; that which a person is capable of performing. |
| Fundamental. | The basis; the groundwork of a thing. |
| G | |
| Gaseous. | Of the nature of a gas. |
| Gearing. | Usually applied to two or more sets of toothed wheels which coöperate with each other. |
| Generating. | Producing; manufacturing; bringing out of. |
| Globules. | The small particles of liquids; or the molecules comprising fluids. |
| Gravitation. | The force of the earth which causes all things to move toward it; the attraction of mass for mass. |
| H | |
| Heart Wheel. | A wheel having the outline of a heart. |
| Helical. | A spirally-wound form. |
| High Tension. | A term applied to a current of electricity, which has a very high voltage, but low amperage. |
| Horizontal. | Level, like the surface of water; at right angles to a line which points to the center of the earth. |
| Horse Power. | The unit of the rate of work, equal to 33,000 pounds lifted one foot in one minute. |
| Hydro-carbon. | A gas made from the vaporization of crude petroleum or of its distillates. |
| Hydrogen.[225] | One of the original elements. The lightest of all gases. |
| I | |
| Ignite. | To set on fire. |
| Ignition. | The term applied to the firing of a charge of gas in a gas or gasoline engine. |
| Impact. | A blow; a striking force. |
| Impregnated. | To instill; to add to. |
| Impulse. | A natural tendency to do a certain thing; determination to act in a certain way through some influence. |
| Impinge. | To strike against; usually to contact with at an angle. |
| Incomparable. | Too good or great to measure. |
| Inclined. | Not level; leaning; not horizontal. |
| Induction. | The peculiar capacity of an electric current to pass from one conductor to another through the air. |
| Indication. | That which shows; to point out. |
| Injector. | A device whereby the pressure of the steam in a boiler will force water into the boiler. |
| Initially. | At first; the original act. |
| Injection. | To put into; to eject from an apparatus, into some other element. |
| Insulated. | So covered as to prevent loss of current by contact with outside substances or materials. |
| Intimate. | Close to; on good terms with. |
| Integral. | A complete whole; containing all the parts. |
| Instinct. | Knowledge within; something which influences conduct or action. |
| Interstellar. | The space beyond the earth; that portion of the heavens occupied by the stars. |
| Internal. | Within; that portion of mechanism which is inside. |
| Interposing. | To step into; to place between, or in the midst of. |
| Intensity. | Fierce; strong; above the ordinary. |
| Interrupted.[226] | To stop; to take advantage of. |
| Interstices. | The spaces in between. |
| Instantaneous. | Immediately; at once; without waiting. |
| Intricate. | Difficult; not easy. |
| Inquisitive. | The desire to inquire into. |
| J | |
| Jacketing. | To coat or cover on the outside. |
| Jump Spark. | One of the methods of igniting hydro-carbon gases. A current of sufficiently high voltage is used to cause the current to jump across the space between the separated ends of a conductor. |
| K | |
| Kinetic. | Consisting in or depending on motion. |
| L | |
| Latent. | That which is within itself. |
| Lateral. | Branching out from the sides; usually applied as the meaning for the direction which is at right angles to a fore and aft direction. |
| Lines of force. | Applied to electricity, air, water, or any moving element, which has a well directed movement in a definite direction. |
| Low Tension. | In methods for igniting hydro-carbon charges, any circuiting which has a low voltage. |
| Lubrication. | The oiling of mechanical parts to reduce friction. |
| M | |
| Mangle. | A machine for smoothing out clothing, goods, etc. |
| Magneto. | A dynamo which has the field pieces, or poles made of permanent magnets. |
| Magnetism. | That quality, or agency by virtue of which certain bodies are productive of magnetic force. |
| Manifestation. | Showing or explaining a state of things; an outward show. |
| Make and Break. | An ignition system, which provides for throwing in and cutting out an electric circuit. |
| Manifold. | A system of piping whereby the exhausts of a gasoline [227] engine are brought together into one common discharge. |
| Manganese. | A hard, brittle, grayish white metallic element, used in the manufacture of paints and of glass, and also for alloying metals. |
| Manually. | Doing things by hand; muscular activity. |
| Material. | Substances and parts from which articles are made. |
| Mechanically. | Doing things by means of machinery, or in some regular order. |
| Mobility. | The capacity to move about. |
| Multiple. | A figure used a certain number of times, is said to be a multiple of a number, if it will divide the number equally. Thus 4 is a multiple of 16; 3 is a multiple of 9, and so on. |
| N | |
| Neutral. | Neither; not in favor of any party or thing. |
| Normal. | As usual; in the regular way; without varying from the ordinary manner. |
| O | |
| Ohm's Law. | In electricity, it is expressed as follows: 1. The current strength is equal to the electromotive force divided by its resistance. 2. The electromotive force is equal to the current strength multiplied by the resistance. 3. The resistance is equal to the electromotive force divided by the current strength. |
| Oscillating. | Moving to and fro, like a pendulum. |
| Orifice. | An opening; a hole. |
| Organism. | Any part of the body, or any small germ or animalcule. |
| Oxidation. | The action of air or oxygen on any material, is called oxidation. Thus rust on iron is called oxidation. |
| Oxygen. | A colorless, tasteless gas, the most important in nature, called the acid-maker of the universe, as it [228] unites with all substances, and produces either an acid, an alkali, or a neutral compound. |
| P | |
| Parallel. | Two lines are said to be parallel, when they are lying side by side and are equally distant from each other from end to end. |
| Pendulum. | A bar suspended at one end to a pivot pin, and having its lower end free to swing to and fro. |
| Penstock. | A reservoir designed to receive and discharge water into a turbine or other form of water wheel. |
| Permanent. | That which will last; not easily stopped. |
| Pestle. | An implement of stone or metal used for breaking and grinding up chemicals, and other material in a mortar. |
| Petroleum. | A liquid fuel product, found in many places, its component parts being about 15 per cent. hydrogen and 85 per cent. carbon. |
| Perimeter. | The outer rim, or circle. |
| Piston. | That part of an engine which is attached to the piston rod. |
| Pinion. | A small gear wheel driven by a larger gear wheel. |
| Platinum. | An exceedingly hard metal, used in places for electrical work where the current is liable to burn out ordinary conductors. |
| Polarity. | The quality of having opposite poles. |
| Pre-heating. | To heat before the ordinary process of heating commences. |
| Ponderous. | Large; heavy; difficult to handle. |
| Port. | In nautical parlance the left side of a vessel; the larboard side; also an opening, or a conduit for the transmission of gas or liquid. |
| Pop valve. | A valve designed to open and allow escape of the imprisoned gases when the latter reach a certain pressure. |
| Potential.[229] | The power; the term used in electricity to denote the energy in a motor. |
| Plurality. | More than one; many. |
| Precipice. | A high and very steep cliff. |
| Pressure. | The act of one body placed in contact with another and acting against it or against each other. |
| Precaution. | Taking great care; being assured of safety. |
| Primary battery. | A cell, or a number of cells, made of pairs of metallic couples, immersed in an electrolyte of either an acid or an alkali. |
| Proney Brake. | A device for testing machinery and determining power, by means of friction. |
| Primeval. | The earliest; the first; of a low order. |
| Proportion. | The relation of one thing or number, to another; comparative merit. |
| Proximity. | Close to; near at hand. |
| Q | |
| Quadruple. | Four times. |
| R | |
| Rack. | A bar having a number of teeth, to serve as a step or measure for a pawl, or a toothed wheel. |
| Radial. | Extending out from the center. |
| Radiation. | The property of many substances to give forth heat or cold, or to disperse it. |
| Rarified. | Made less than the normal pressure, as air, which is not as dense at a high as at a low altitude. |
| Receiver. | In telephone apparatus, that part of the mechanism which transmits the message to the ear. |
| Rectilinear. | A right line; a straight direction forwardly. |
| Reaction. | A force which is counter to a movement in another direction. |
| Refrigeration. | Cooling process; the art of freezing. |
| Refined. | Purifying; improved. |
| Re-heating. | The process of further heating or increasing the temperature during the progress of the work. |
| Requisite.[230] | The necessary part; the requirement. |
| Residue. | The balance; what is left over. |
| Resistance. | Opposition; against. |
| Reciprocating. | One for the other; moving from one side to the other. |
| Refinement. | Chastity of thought, taste, manner, or actions. |
| Retort. | A vigorous answer. A receptacle adapted to stand a high heat. |
| Revolution. | Turning, like the earth in its orbit. |
| Rock Shaft. | A shaft which turns part of its rotation in one direction, and then turns in the other direction. |
| Rotation. | The turning of a wheel on its axle; the rotation of the earth on its axis each day. Distinguishing from revolution which is a swinging of the entire body of the earth around the sun in its orbit. |
| S | |
| Sal-Ammoniac. | A white metallic element. |
| Scavenging. | To clean out; to scour. |
| Secondary Battery. | A battery which is charged with a current, and then gives forth an electric current of a definite amount. It is also known as an accumulator, since its elements continue to accumulate electric energy. |
| Secondary coil. | In induction coils two wire wrappings are necessary, the first winding being, usually, of heavy wire, and called the primary; the second winding is of finer wire, and is called the secondary coil. |
| Sector. | An A-shaped piece cut from a disk; distinguish this from a segment, which is a part cut off from a disk by a single straight line. |
| Secondary. | Occupying a second place; not of the first kind, or place. |
| Segment. | A part cut off from a disk, by a single line; the part of a circle included within a chord and its arc. |
| Sewerage.[231] | The conveyance of waste matter from a building. |
| Sinuous. | Systematic draining by means of pipes or conduits. Characterized by bends, or curves, or a serpentine curving, or wave-like outline. |
| Slide Valve. | A form, which moves along a flat surface through which the duct is formed. |
| Solution. | A liquid having therein different substances mixed together. |
| Sprayer. | To eject; to send forth in small particles. |
| Stability. | Fixed; strength to stand without support. |
| Stupendous. | Immense; large; much beyond the largest of the kind. |
| Standard. | A sample of the measure or extent; a type or a model. |
| Stratify. | To deposit, form, or range in strata. |
| Super Heating. | To heat up beyond the ordinary or normal point. |
| Subtle. | Crafty; made of light material; daintily constructed. |
| Supersede. | In place of; to take the place of. |
| Susceptible. | Capable of being changed or influenced. |
| Suspension. | Hanging; floating of a body in fluid. |
| Suction. | The production of a partial vacuum in a space connected with a fluid under pressure. |
| T | |
| Terminal. | The end; the last part. |
| Technical. | Specially or exclusively pertaining to some art or subject. |
| Theoretical. | That which is speculative, as distinguished from practical. |
| Throttle Valve. | A device which is designed to cut off the flow of a fluid. |
| Throttling. | The closing of a port; the cutting down of a supply. |
| Transformation.[232] | A complete change; made over into something else. |
| Transmit. | To convey; to send to another part. |
| Transference. | To convey to another part; the change from one thing to another. |
| Transferred. | Put over. |
| Triple. | Three; thrice. |
| Turbine. | To turn; a form of water wheel and steam engine, where the fluid impinges against the blades arranged around the perimeter of the wheel. |
| Tubular. | Hollowed; like a pipe. |
| Two-Cycle. | A gasoline engine, in which the compressed hydro-carbon gases are fired every turn of the crank shaft. |
| Typical. | The nature or characteristics of a type. |
| U | |
| Undershot. | A type of wheel in which the water shoots past and against the blades on the lower side. |
| Unison. | Together; conjointly; acting with each other. |
| Universally. | All over the world; throughout all space. |
| Utility. | Use; that which is valuable or of service. |
| V | |
| Vacuum. | That part from which all material is taken; in a limited sense, air, which has less density than the normal. |
| Vaporizing. | To convert into gas, usually by heat. |
| Variable. | With differing characteristics; changeable. |
| Venturi Tube. | A form of tube which has a contracted part between its ends. |
| Vertical. | In the direction of a line which points to the center of the earth. |
| Vibrator Coil. | In electrical devices used in the ignition systems of certain types of gasoline engines, a winding is provided on a metallic core, which has an armature that is made so it will vibrate. |
| Volt.[233] | The pressure of an electric current; the unit of electromotive force. |
| Voltage. | Electromotive force as expressed in volts. |
| Volt Meter. | An instrument for indicating the voltage of an electric circuit. |
| W | |
| Watt. | The electrical unit of the rate of working in an electric circuit, the rate being the electromotive force of one volt, and the intensity of one ampere. |
| Weight. | The measure of the force toward the center of the earth, due to gravity. |
| Winnowed. | Taken out; sifted from. |
| Wiping Bar. | A metallic piece which rests against a moving wheel and designed to take a current from or to transmit it to the wheel. |
The Motor Boys Series
(Trade Mark, Reg. U. S. Pat. Of.)
By CLARENCE YOUNG
12mo. Illustrated. Price per volume, 60 cents, postpaid.
|
The Motor Boys |
|
|
The Motor Boys Afloat |
|
|
|
The Motor Boys in the Clouds |
|
|
The Motor Boys After a Fortune |
|
|
Up-to-date Baseball Stories
Baseball Joe Series
By LESTER CHADWICK
Author of "The College Sports Series"
12mo. Illustrated. Price per volume, 60 cents, postpaid.
Ever since the success of Mr. Chadwick's "College Sports Series" we have been urged to get him to write a series dealing exclusively with baseball, a subject in which he is unexcelled by any living American author or coach.
Baseball Joe of the Silver Stars
or The Rivals of Riverside
In this volume, the first of the series, Joe is introduced as an everyday country boy who loves to play baseball and is particularly anxious to make his mark as a pitcher. He finds it almost impossible to get on the local nine, but, after a struggle, he succeeds. A splendid picture of the great national game in the smaller towns of our country.
Baseball Joe on the School Nine
or Pitching for the Blue Banner
Joe's great ambition was to go to boarding school and play on the school team. He got to boarding school but found it harder making the team there than it was getting on the nine at home. He fought his way along, and at last saw his chance and took it, and made good.
Baseball Joe at Yale
or Pitching for the College Championship
From a preparatory school Baseball Joe goes to Yale University. He makes the freshman nine and in his second year becomes a varsity pitcher and pitches in several big games.
Baseball Joe in the Central League
or Making Good as a Professional Pitcher
In this volume the scene of action is shifted from Yale College to a baseball league of our central states. Baseball Joe's work in the box for Old Eli had been noted by one of the managers and Joe gets an offer he cannot resist. Joe accepts the offer and makes good.
Baseball Joe in the Big League
or A Young Pitcher's Hardest Struggle
From the Central League Joe is drafted into the St. Louis Nationals. At first he has little to do in the pitcher's box, but gradually he wins favor. A corking baseball story that fans, both young and old, will enjoy.
The Racer Boys Series
by CLARENCE YOUNG
Author of "The Motor Boys Series", "Jack Ranger Series", etc. etc.
Fine cloth binding. Illustrated. Price per volume, 60c postpaid.
The announcement of a new series of stories by Mr. Clarence Young is always hailed with delight by boys and girls throughout the country, and we predict an even greater success for these new books, than that now enjoyed by the "Motor Boys Series."
The Racer Boys
or The Mystery of the Wreck
This, the first volume of the series, tells who the Racer Boys were and how they chanced to be out on the ocean in a great storm. Adventures follow in rapid succession in a manner that only Mr. Young can describe.
The Racer Boys At Boarding School
or Striving for the Championship
When the Racer Boys arrived at the school everything was at a standstill, and the students lacked ambition and leadership. The Racers took hold with a will, got their father to aid the head of the school financially, and then reorganized the football team.
The Racer Boys To The Rescue
or Stirring Days in a Winter Camp
Here is a story filled with the spirit of good times in winter—skating, ice-boating and hunting.
The Racer Boys on The Prairies
or The Treasure of Golden Peak
From their boarding school the Racer Boys accept an invitation to visit a ranch in the West.
The Racer Boys on Guard
or The Rebellion of Riverview Hall
Once more the boys are back at boarding school, where they have many frolics, and enter more than one athletic contest.
The Racer Boys Forging Ahead
or The Rivals of the School League
Once more the Racer Boys go back to Riverview Hall, to meet their many chums as well as several enemies. Athletics play an important part in this volume, and the rivalry is keen from start to finish. The Racer Boys show what they can do under the most trying circumstances.
The Dorothy Dale Series
By MARGARET PENROSE
Author of "The Motor Girls Series"
12mo. Illustrated. Price per volume, 60 cents, postpaid.
Dorothy Dale: A Girl of To-Day
Dorothy is the daughter of an old Civil War veteran who is running a weekly newspaper in a small Eastern town. When her father falls sick, the girl shows what she can do to support the family.
Dorothy Dale at Glenwood School
More prosperous times have come to the Dale family, and Major Dale resolves to send Dorothy to a boarding school.
Dorothy Dale's Great Secret
A splendid story of one girl's devotion to another. How Dorothy kept the secret makes an absorbing story.
Dorothy Dale and Her Chums
A story of school life, and of strange adventures among the gypsies.
Dorothy Dale's Queer Holidays
Relates the details of a mystery that surrounded Tanglewood Park.
Dorothy Dale's Camping Days
Many things happen, from the time Dorothy and her chums are met coming down the hillside on a treacherous load of hay.
Dorothy Dale's School Rivals
Dorothy and her chum, Tavia, return to Glenwood School. A new student becomes Dorothy's rival and troubles at home add to her difficulties.
Dorothy Dale in the City
Dorothy is invited to New York City by her aunt. This tale presents a clever picture of life in New York as it appears to one who has never before visited the Metropolis.
Dorothy Dale's Promise
Strange indeed was the promise and given under strange circumstances. Only a girl as strong of purpose as was Dorothy Dale would have undertaken the task she set for herself.
Dorothy Dale in the West
Dorothy's father and her aunt inherited a valuable tract of land in the West. The aunt, Dorothy and Tavia, made a long journey to visit the place, where they had many adventures.
The Motor Girls Series
By MARGARET PENROSE
Author of the highly successful "Dorothy Dale Series"
12mo. Illustrated. Price per volume, 60 cents, postpaid.
The Motor Girls
or A Mystery of the Road
When Cora Kimball got her touring car she did not imagine so many adventures were in store for her. A tale all wide awake girls will appreciate.
The Motor Girls on a Tour
or Keeping a Strange Promise
A great many things happen in this volume. A precious heirloom is missing, and how it was traced up is told with absorbing interest.
The Motor Girls at Lookout Beach
or In Quest of the Runaways
There was a great excitement when the Motor Girls decided to go to Lookout Beach for the summer.
The Motor Girls Through New England
or Held by the Gypsies
A strong story and one which will make this series more popular than ever. The girls go on a motoring trip through New England.
The Motor Girls on Cedar Lake
or The Hermit of Fern Island
How Cora and her chums went camping on the lake shore and how they took trips in their motor boat, are told in a way all girls will enjoy.
The Motor Girls on the Coast
or The Waif from the Sea
The scene is shifted to the sea coast where the girls pay a visit. They have their motor boat with them and go out for many good times.
The Motor Girls on Crystal Bay
or The Secret of the Red Oar
More jolly times, on the water and at a cute little bungalow on the shore of the bay. A tale that will interest all girls.
The Motor Girls on Waters Blue
or The Strange Cruise of the Tartar
Before the girls started on a long cruise down to the West Indies, they fell in with a foreign girl and she informed them that her father was being held a political prisoner on one of the islands. A story that is full of fun as well as mystery.
Ruth Fielding Series
By ALICE B. EMERSON
12mo. Illustrated. Price per volume, 40 cents, postpaid.
Ruth Fielding of The Red Mill
or Jaspar Parloe's Secret
Telling how Ruth, an orphan girl, came to live with her miserly uncle, and how the girl's sunny disposition melted the old miller's heart.
Ruth Fielding at Briarwood Hall
or Solving the Campus Mystery
Ruth was sent by her uncle to boarding school. She made many friends, also one enemy, who made much trouble for her.
Ruth Fielding at Snow Camp
or Lost in the Backwoods
A thrilling tale of adventures in the backwoods in winter, is told in a manner to interest every girl.
Ruth Fielding at Lighthouse Point
or Nita, the Girl Castaway
From boarding school the scene is shifted to the Atlantic Coast, where Ruth goes for a summer vacation with some chums.
Ruth Fielding at Silver Ranch
or Schoolgirls Among the Cowboys
A story with a western flavor. How the girls came to the rescue of Bashful Ike, the cowboy, is told in a way that is most absorbing.
Ruth Fielding on Cliff Island
or The Old Hunter's Treasure Box
Ruth and her friends go to Cliff Island, and there have many good times during the winter season.
Ruth Fielding at Sunrise Farm
or What Became of the Raby Orphans
Jolly good times at a farmhouse in the country, where Ruth rescues two orphan children who ran away.
Ruth Fielding and the Gypsies
or The Missing Pearl Necklace
This volume tells of stirring adventures at a Gypsy encampment, of a missing heirloom, and how Ruth has it restored to its owner.
The Dave Dashaway Series
By ROY ROCKWOOD
Author of the "Speedwell Boys Series" and the "Great Marvel Series."
12mo. Illustrated. Price per volume, 40 cents, postpaid.
Never was there a more clever young aviator than Dave Dashaway. All up-to-date lads will surely wish to read about him.
Dave Dashaway the Young Aviator
or In the Clouds for Fame and Fortune
This initial volume tells how the hero ran away from his miserly guardian, fell in with a successful airman, and became a young aviator of note.
Dave Dashaway and His Hydroplane
or Daring Adventures Over the Great Lakes
Showing how Dave continued his career as a birdman and had many adventures over the Great Lakes, and how he foiled the plans of some Canadian smugglers.
Dave Dashaway and His Giant Airship
or A Marvellous Trip Across the Atlantic
How the giant airship was constructed and how the daring young aviator and his friends made the hazardous journey through the clouds from the new world to the old, is told in a way to hold the reader spellbound.
Dave Dashaway Around the World
or A Young Yankee Aviator Among Many Nations
An absorbing tale of a great air flight around the world, of adventures in Alaska, Siberia and elsewhere. A true to life picture of what may be accomplished in the near future.
Dave Dashaway: Air Champion
or Wizard Work in the Clouds
Dave makes several daring trips, and then enters a contest for a big prize. An aviation tale thrilling in the extreme.
The Speedwell Boys Series
By ROY ROCKWOOD
Author of "The Dave Dashaway Series," "Great Marvel Series," etc.
12mo. Illustrated. Price per volume, 40 cents, postpaid.
All boys who love to be on the go will welcome the Speedwell boys. They are clean cut and loyal lads.
The Speedwell Boys on Motor Cycles
or The Mystery of a Great Conflagration
The lads were poor, but they did a rich man a great service and he presented them with their motor cycles. What a great fire led to is exceedingly well told.
The Speedwell Boys and Their Racing Auto
or A Run for the Golden Cup
A tale of automobiling and of intense rivalry on the road. There was an endurance run and the boys entered the contest. On the run they rounded up some men who were wanted by the law.
The Speedwell Boys and Their Power Launch
or To the Rescue of the Castaways
Here is an unusual story. There was a wreck, and the lads, in their power launch, set out to the rescue. A vivid picture of a great storm adds to the interest of the tale.
The Speedwell Boys in a Submarine
or The Lost Treasure of Rocky Cove
An old sailor knows of a treasure lost under water because of a cliff falling into the sea. The boys get a chance to go out in a submarine and they make a hunt for the treasure.
The Speedwell Boys and Their Ice Racer
or The Perils of a Great Blizzard
The boys had an idea for a new sort of iceboat, to be run by combined wind and motor power. How they built the craft, and what fine times they had on board of it, is well related.