Title: Navaho Houses
Author: Cosmos Mindeleff
Release date: April 19, 2006 [eBook #18206]
Most recently updated: September 19, 2010
Language: English
Other information and formats: www.gutenberg.org/ebooks/18206
Credits: Produced by Louise Hope, Carlo Traverso, and the Online
Distributed Proofreading Team at http://www.pgdp.net (This
file was produced from images generously made available
by the Bibliothèque nationale de France (BnF/Gallica) at
http://gallica.bnf.fr and The Internet Archive (American
Libraries).)
This text includes characters that require UTF-8 (Unicode) file encoding:
ă ĕ ĭ Ĭ letters with breve or “short” mark
ŋ “eng” [ng]
ġ g with dot over
Ȼ ȼ c with slash (similar to “cents” sign ¢)
If any of these characters do not display properly—in particular, if the diacritic does not appear directly above the letter—or if the apostrophes and quotation marks in this paragraph appear as garbage, you may have an incompatible browser or unavailable fonts. First, make sure that the browser’s “character set” or “file encoding” is set to Unicode (UTF-8). You may also need to change your browser’s default font.
Typographical errors are marked with mouse-hover popups.

Items in italics were added by the transcriber.
| Page | |
| Introduction | 475 |
| Description of the country | 477 |
| Habits of the people | 481 |
| Legendary and actual winter hogáns | 487 |
| Summer huts or shelters | 494 |
| Sweat houses | 499 |
| Effect of modern conditions | 502 |
| Ceremonies of dedication | 504 |
| The hogán of the Yébĭtcai dance | 509 |
| Hogán nomenclature | 514 |
| Footnotes | |
| Index |
In the original book, the full-page Plates were interleaved with printed pages. For this e-text, they have been placed as close as practical to their referring text.
| Page | ||
| Plate LXXXII. | The Navaho reservation | 475 |
| LXXXIII. | A typical Navaho hogán | 483 |
| LXXXIV. | A hogán in Canyon de Chelly | 485 |
| LXXXV. | A Navaho summer hut | 495 |
| LXXXVI. | A “lean-to” summer shelter | 497 |
| LXXXVII. | Ĭnçá-qoġán, medicine hut | 501 |
| LXXXVIII. | Modern house of a wealthy Navaho | 505 |
| LXXXIX. | A Yébĭtcai house | 511 |
| XC. | Diagram plan of hogán, with names of parts | 514 |
| Figure 230. | The three main timbers of a hogán | 489 |
| 231. | Frame of a hogán, seen from below | 491 |
| 232. | Frame of a doorway | 492 |
| 233. | Ground plan of a summer shelter | 495 |
| 234. | Supporting post in a summer hut | 496 |
| 235. | Ground plan of a summer hut | 496 |
| 236. | Section of a summer hut | 497 |
| 237. | Masonry support for rafters | 497 |
| 238. | A timber-built shelter | 498 |
| 239. | Shelter with partly closed front | 499 |
| 240. | Low earth-covered shelter | 500 |
| 241. | Ground plan of Yébĭtcai house | 510 |
| 242. | Framework of Yébĭtcai house | 512 |
| 243. | Diagram showing measurements of Yébĭtcai house | 513 |
| 244. | Interior of Yébĭtcai house, illustrating nomenclature | 516 |
Plate LXXXII.
MAP OF PARTS OF THE NAVAHO RESERVATION
IN ARIZONA AND NEW MEXICO
from the atlas sheets of the
UNITED STATES GEOLOGICAL SURVEY
The account of the houses or hogáns of the Navaho Indians which is presented here will be of interest to the student of architecture, it is believed, because data concerning such primitive types of house structures are quite rare. It is also thought to be of interest to the archeologist and ethnologist as well as to the general reader, for it is well known that no one product of a people’s art exhibits so clearly their mental attitude and their industrial status as the houses which they build.
Much of the material here presented was obtained some ten years ago, when the recent changes which have taken place in Navaho life had only just begun. Although the same processes are now employed in house construction as formerly, and although the same ceremonies are observed, they are not so universally nor so strictly adhered to as they were. The present tendency is such that in a comparatively short time the rules for the construction of a hogán which have been handed down through many generations and closely followed, and the elaborate ceremonies of dedication which formerly were deemed essential to the well-being of the occupants, will be so far modified as to be no longer recognizable, if, indeed, they are not altogether abandoned. Such being the case, even a bare record of the conditions which have prevailed for at least two centuries must be of value.
As the architecture of a primitive people is influenced largely by the character of the country in which they live, a brief description of the Navaho reservation is deemed necessary. Similarly, the habits of life of the people, what a naturalist would term their life history, which in combination with the physical environment practically dictates their arts, is worthy of notice, for without some knowledge of the conditions under which a people live it is difficult, if not impossible, to obtain an adequate conception of their art products.
The winter hogáns are the real homes of the people, but as the form and construction of these are dictated by certain rules and a long line of precedents, supported by a conservatism which is characteristic of savage life, the summer shelters, which are largely exempt from such rules, are of considerable interest. Moreover, the effects of modern conditions and the breaking down of the old ideas should have 476 some place in a discussion of this kind, if only for the hint afforded as to the future of the tribe.
The elaborate ceremonies of dedication which in the old days always followed the construction of a house, and are still practiced, exhibit almost a new phase of Indian culture. The essentially religious character of the Indian mind, and his desire to secure for himself and for his family those benefits which he believes will follow from the establishment of a perfect understanding with his deities—in other words, from the rendering of proper homage to benignant deities and the propitiation of the maleficent ones—are exhibited in these ceremonies. The sketch of them which is here given, the songs which form a part of the ceremony, and the native explanations of some of the features will, it is believed, assist to a better understanding of Indian character.
Finally, the rather full nomenclature of parts and elements of the house which forms the last section of this memoir will probably be of service to those who find in language hints and suggestions, or perhaps direct evidence, of the various steps taken by a people in the course of their development. As the writer is not competent to discuss the data from that point of view, it is presented here in this form for the benefit of those who are. Some suggestions of the derivation of various terms are given, but only as suggestions.
Much of the material which is comprised in this report was collected by the late A. M. Stephen, who lived for many years among the Navaho. His high standing and universal popularity among these Indians gave him opportunities for the collection of data of this kind which have seldom been afforded to others. Some of the notes and sketches of Mr Victor Mindeleff, whose studies of Pueblo architecture are well known, have been utilized in this report. The author is indebted to Dr Washington Matthews, the well-known authority on the Navaho Indians, for revising the spelling of native terms occurring throughout the text.
In the present paper two spellings of the Navaho word for hut are used. The proper form is qoġán, but in and around the Navaho country it has become an adopted English word under the corrupt form hogán. Thus nearly all the whites in that region pronounce and spell it, and many of the Indians, to be easily understood by whites, are pronouncing it lately in the corrupted form. Therefore, wherever the term is employed as an adopted English word, the form hogán is given, but where it is used as part of a Navaho phrase or compound word the strictly correct form qoġán is preserved.
An inverted comma (‘) following a vowel shows that the vowel is aspirated.
An inverted comma following l shows that the l‘ is aspirated in a peculiar manner—more with the side than with the tip of the tongue.
ŋ represents the nasalized form of n.
ġ represents the Arabic ghain.
In other respects the alphabet of the Bureau is followed.
The Navaho reservation comprises an extensive area in the extreme northeastern part of Arizona and the northwestern corner of New Mexico (plate LXXXII). The total area is over 11,000 square miles, of which about 650 square miles are in New Mexico; but it would be difficult to find a region of equal size and with an equal population where so large a proportion of the land is so nearly worthless. This condition has had an important effect on the people and their arts, and especially on their houses.
The region may be roughly characterized as a vast sandy plain, arid in the extreme; or rather as two such plains, separated by a chain of mountains running northwest and southeast. In the southern part of the reservation this mountain range is known as the Choiskai mountains, and here the top is flat and mesa-like in character, dotted with little lakes and covered with giant pines, which in the summer give it a park-like aspect. The general elevation of this plateau is a little less than 9,000 feet above the sea and about 3,000 feet above the valleys or plains east and west of it.
The continuation of the range to the northwest, separated from the Choiskai only by a high pass, closed in winter by deep snow, is known as the Tunicha mountains. The summit here is a sharp ridge with pronounced slopes and is from 9,000 to 9,400 feet high. On the west there are numerous small streams, which, rising near the summit, course down the steep slopes and finally discharge through Canyon Chelly into the great Chinlee valley, which is the western of the two valleys referred to above. The eastern slope is more pronounced than the western, and its streams are so small and insignificant that they are hardly worthy of mention.
Still farther to the northwest, and not separated from the Tunicha except by a drawing in or narrowing of the mountain mass, with no depression of the summit, is another part of the same range, which bears a separate name. It is known as the Lukachukai mountains. Here something of the range character is lost, and the uplift becomes a confused mass, a single great pile, with a maximum altitude of over 9,400 feet.
Northwest of this point the range breaks down into Chinlee valley, but directly to the north is another uplift, called the Carriso mountains. It is a single mass, separated from the range proper by a comparatively low area of less than 7,000 feet altitude, while the Carriso itself is over 9,400 feet above the sea.
The western and northwestern parts of the reservation might also be classed as mountainous. Here there is a great mesa or elevated table-land, cut and gashed by innumerable canyons and gorges, and with a general elevation of 7,500 to 8,000 feet. Throughout nearly its whole extent it is impassable to wagons.
The valleys to which reference has been made are the Chinlee on the west and the Chaco on the east of the principal mountain range described. Both run nearly due north, and the former has a fall of about 2,000 feet from the divide, near the southern reservation line, to the northern boundary, a distance of about 85 miles. Chaco valley heads farther south and discharges into San Juan river within the reservation. It has less fall than the Chinlee. Both valleys are shown on the maps as occupied by rivers, but the rivers materialize only after heavy rains; at all other times there is only a dry, sandy channel. Chaco “river,” which heads in the continental divide, carries more water than the Chelly, which occupies Chinlee valley, and is more often found to contain a little water. The valleys have a general altitude of 5,000 to 6,000 feet above the sea.
The base of the mountain range has an average breadth of only 12 or 15 miles, and it is a pronounced impediment to east-and-west communication. It is probably on this account that the Navaho are divided into two principal bands, under different leaders. Those of one band seldom travel in the territory of the other. The Navaho of the west, formerly commanded by old Ganamucho (now deceased), have all the advantages in regard to location, and on the whole are a finer body of men than those of the east.
On the west the mountains break down into Chinlee valley by a gradual slope—near the summit quite steep, then running out into table-lands and long foothills. This region is perhaps the most desirable on the reservation, and is thickly inhabited. On the east the mountains descend by almost a single slope to the edge of the approximately flat Chaco valley. In a few rods the traveler passes from the comparatively fertile mountain region into the flat, extremely arid valley country, and in 50 or 60 miles’ travel after leaving the mountains he will not find wood enough to make his camp fire, nor, unless he moves rapidly, water enough to carry his horses over the intervening distance.
Throughout the whole region great scarcity of water prevails; in the large valleys during most of the year there is none, and it is only in the mountain districts that there is a permanent supply; but there life is almost impossible during the winter. This condition has had much to do with the migratory habits of the people, or rather with their frequent moving from place to place; for they are not a nomadic people as the term is usually employed. This is one of the reasons why the Navaho have no fixed habitations.
San Juan river forms a short section of the northeastern boundary of the Navaho country, and this is practically the only perennial stream to which they have access. It is of little use to them, however, as there are no tributaries from the southern or reservation side, other than the Chaco and Chelly “rivers,” which are really merely drainage channels and are dry during most of the year. The eastern slope of the mountain range gives rise to no streams, and the foot of the range 479 on that side is as dry and waterless as the valley itself. One may travel for 20 miles over this valley and not find a drop of water. Except at Sulphur springs, warm volcanic springs about 30 miles south of the San Juan, the ordinary traveler will not find sufficient water between the foot of the mountains and the river, a distance of over 50 miles. Such is the character of Chaco valley. But the Indians know of a few holes and pockets in this region which yield a scanty supply of water during parts of the year, and somewhere in the vicinity of these pockets will be found a hogán or two.
Chaco wash or river, like most of the large drainage channels of this country, has a permanent underflow, and by digging wells in the dry, sandy bed it is often possible to obtain a limited supply of water. This is well known to the Navaho, and 90 per cent of the houses of this region are located within reach of the wash, whence the supply of water which the Navaho deems essential is procured.
On the western slope of the mountains and in the canyons and cliffs of the high table-lands which form the western part of the reservation, the water supply, while still scanty, is abundant as compared with the eastern part. In the mountains themselves there are numerous small streams, some of which carry water nearly all the year; while here and there throughout the region are many diminutive springs almost or quite permanent in character. Most of the little streams rise near the crest of the mountains and, flowing westward, are collected in a deep canyon cut in the western slope, whence the water is discharged into Chinlee valley, and traversing its length in the so-called Rio de Chelly, finally reaches San Juan river. But while these little streams are fairly permanent up in the mountains, their combined flow is seldom sufficient, except in times of flood, to reach the mouth of Canyon Chelly and Chinlee valley. However, here, as in the Chaco, there is an underflow, which the Indians know how to utilize and from which they can always obtain a sufficient supply of potable water.
The whole Navaho country lies within what the geologists term the Plateau region, and its topography is dictated by the peculiar characteristics of that area. The soft sandstone measures, which are its most pronounced feature, appear to lie perfectly horizontal, but in fact the strata have a slight, although persistent dip. From this peculiarity it comes about that each stratum extends for miles with an unbroken sameness which is extremely monotonous to the traveler; but finally its dip carries it under the next succeeding stratum, whose edge appears as an escarpment or cliff, and this in turn stretches out flat and uninteresting to the horizon. To the eye it appears an ideal country for traveling, but only a very slight experience is necessary to reveal its deceptiveness. Everywhere the flat mesas are cut and seamed by gorges and narrow canyons, sometimes impassable even to a horse. Except along a few routes which have been established here and there, wagon travel is extremely difficult and often impossible. It 480 is not unusual for a wagon to travel 50 or 60 miles between two points not 20 miles distant from each other.
The high mountain districts are characterized by a heavy growth of giant pines, with firs and spruce in the highest parts, and many groves of scrub oak. The pines are abundant and make excellent lumber. Going downward they merge into piñons, useful for firewood but valueless as timber, and these in turn give place to junipers and cedars, which are found everywhere throughout the foothills and on the high mesa lands. The valleys proper, and the low mesas which bound them, are generally destitute of trees; their vegetation consists only of sagebrush and greasewood, with a scanty growth of grass in favorable spots.
To the traveler in the valley the country appears to consist of sandy plains bounded in the distance by rocky cliffs. When he ascends to the higher plateaus he views a wide landscape of undulating plain studded with wooded hills, while from the mountain summits he looks down upon a land which appears to be everywhere cut into a network of jagged canyons—a confused tangle of cliffs and gorges without system.
For a few weeks in early summer the table-lands are seen in their most attractive guise. The open stretches of the mesas are carpeted with verdure almost hidden under a profusion of flowers. The gray and dusty sagebrush takes on a tinge of green, and even the prickly and repulsive greasewood clothes itself with a multitude of golden blossoms. Cacti of various kinds vie with one another in producing the most brilliant flowers, odorless but gorgeous. But in a few weeks all this brightness fades and the country resumes the colorless monotonous aspect which characterizes it.
July and August and sometimes part of September comprise the rainy season. This period is marked by sudden heavy showers of short duration, and the sandy soil absorbs sufficient moisture to nourish the grass and herbage for a time; but most of the water finds its way directly into deep-cut channels and thence in heavy torrents to the deep canyons of the San Juan and the Colorado, where it is lost. A small portion of the rainfall and much of the snow water percolates the soil and the porous sandstones which compose the region, and issues in small springs along the edges of the mesas and in the little canyons; but these last only a few months, and they fail in the time of greatest need—in the hot summer days when the grass is dry and brittle and the whole country is parched.
The direct dependence of the savage on nature as he finds it is nowhere better illustrated than on the Navaho reservation. In the three essentials of land, water, and vegetation, his country is not an ideal one. The hard conditions under which he lives have acted directly on his arts and industries, on his habits and customs, and also on his mind and his mythology. In one respect only has he an advantage: he is blessed with a climate which acts in a measure as an offset 481 to the other conditions and enables him to lead a life which is on the whole not onerous.
In these dry elevated regions the heat is never oppressive in the day and the nights are always cool. Day temperatures of 120° or more are not uncommon in the valleys in July and August, but the humidity is so slight that such high readings do not produce the discomfort the figures might imply. In his calico shirt and breeches the Navaho is quite comfortable, and in the cool of the evening and night he has but to add a blanket, which he always has within reach. The range between the day and night temperature in summer is often very great, but the houses are constructed to meet these conditions; they are cool in hot weather and warm in cold weather.
The extreme dryness of the air has another advantage from the Indian point of view, in that it permits a certain degree of filthiness. This seems inseparable from the Indian character, but it would be impossible in a moist climate; even under the favorable conditions of the plateau country many of the tribes are periodically decimated by smallpox.
The habits of a people, which are to a certain extent the product of the country in which they live, in turn have a pronounced effect on their habitations. New Mexico and Arizona came into the possession of the United States in 1846, and prior to that time the Navaho lived chiefly by war and plunder. The Mexican settlers along the Rio Grande and the Pueblo Indians of the same region were the principal contributors to their welfare, and the thousands of sheep and horses which were stolen from these people formed the nucleus or starting point of the large flocks and herds which constitute the wealth of the Navaho today.
The Navajo reservation is better suited for the raising of sheep than for anything else, and the step from the life of a warrior and hunter to that of a shepherd is not a long one, nor a hard one to take. Under the stress of necessity the Navajo became a peaceable pastoral tribe, living by their flocks and herds, and practicing horticulture only in an extremely limited and precarious way. Under modern conditions they are slowly developing into an agricultural tribe, and this development has already progressed far enough to materially affect their house structures; but in a general way it may be said that they are a pastoral people, and their habits have been dictated largely by that mode of life.
Every family is possessed of a flock of sheep and goats, sometimes numbering many thousands, and a band of horses, generally several hundreds, in a few instances several thousands. In recent times many possess small herds of cattle, the progeny of those which strayed into the reservation from the numerous large herds in its vicinity, or were picked up about the borders by some Navaho whose thrift was more 482 highly developed than his honesty. The condition of the tribe, as a whole, is not only far removed from hardship, but may even be said to be one of comparative affluence.
Owing to the scarcity of grass over most of the country, and the difficulty of procuring a sufficient supply of water, the flocks must be moved from place to place at quite frequent intervals. This condition more than any other has worked against the erection of permanent houses. Yet the Navaho are by no means nomads, and the region within which a given family moves back and forth is extremely circumscribed.
In a general way the movements of a family are regulated by the condition of the grass and the supply of water. In a dry season many of the small springs cease to flow at an early date in the summer. Moreover, if a flock is kept too long in one locality, the grass is almost destroyed by close cropping, forcing the abandonment of that particular place for two or three years. When this occurs, the place will recover and the grass become good again if left entirely undisturbed for several years.
The usual practice is to take the flocks up into the mountains or on the high plateaus during the summer, quartering them near some spring or small stream, and when the snow comes they are moved down to the lower foothills or out into the valleys. In the winter both shepherds and sheep depend on the snow for their water supply, and by this means an immense tract of country, which otherwise would be a perfect waste, is utilized. As the snow disappears from the valleys the flocks are gradually driven back again into the mountains.
The heavy fall of snow in the mountains and its slow melting in spring makes that region far more fertile and grassy than the valleys, and were it possible to remain there throughout the year doubtless many families would do so. As it is, however, the feed is covered too deeply for the sheep to reach it, and during several months heavy snowdrifts make communication very difficult and at times impossible. In a few favored localities—usually small, well-sheltered valleys here and there in the mountains—some families may remain throughout the winter, but as a rule, at the first approach of the cold season and before the first snow flies there is a general exodus to the low-lying valleys and the low mesa regions, and the mountains are practically abandoned for a time.
During the rainy season pools and little lakes of water are formed all over the flat country, lasting sometimes several weeks. Advantage is taken of the opportunity thus afforded and the flocks are driven out on the plains and grazed in the vicinity of the water so long as the supply holds out, but as this is seldom prolonged more than a few weeks it is not surprising that the house erected by the head of the family should be of a very temporary nature. In fact the most finished house structures of these people must be temporary rather than 483 permanent so long as the conditions sketched above prevail; in other words, so long as they depend principally on their sheep.
Another result of these conditions is that each family lives by itself and, as it were, on its own ground. Large communities are impossible, and while there are instances where eight or ten families occupy some place of exceptionally favorable location, these are rare. In fact to see even three or four hogáns together is remarkable. There are perhaps more hogáns in Canyon Chelly than in any other one locality, but the people who live here are regarded by the other Navaho as poor, because they own but few sheep and horses and depend principally on horticulture for their subsistence. Incidentally it may be stated that horses are well esteemed by the Navaho as an article of food, and that the large herds which some of them own are not so wholly useless as they appear to the casual traveler.
Canyon Chelly, which the Navaho call Tségi, contains several small streams and numerous patches of arable land on the bottoms. The conditions here are exceptionally favorable for horticulture; indeed, the numerous remains of cliff dwellings which are found in the canyon would show this if other evidence were lacking. It has long been famous among the Navaho as the horticultural center of the tribe, and for its peach crops, derived from thousands of trees planted in sheltered nooks. In the summer scattered members of the various families or clans gather there by hundreds from every part of the reservation to feast together for a week or two on green corn, melons, and peaches.
As a rule, however, each hogán stands by itself, and it is usually hidden away so effectually that the traveler who is not familiar with the customs of the people might journey for days and not see half a dozen of them. The spot chosen for a dwelling place is either some sheltered nook in a mesa or a southward slope on the edge of a piñon grove near a good fuel supply and not too far from water. A house is very seldom built close to a spring—perhaps a survival of the habit which prevailed when the people were a hunting tribe and kept away from the water holes in order not to disturb the game which frequented them.
So prevalent is this custom of placing the houses in out-of-the-way places that the casual traveler receives the impression that the region over which he has passed is practically uninhabited. He may, perhaps, meet half a dozen Indians in a day, or he may meet none, and at sunset when he camps he will probably hear the bark of a dog in the distance, or he may notice on the mountain side a pillar of smoke like that arising from his own camp fire. This is all that he will see to indicate the existence of other life than his own, yet the tribe numbers over 12,000 souls, and it is probable that there was no time during the day when there were not several pairs of eyes looking at him, and were he to fire his gun the report would probably be heard by several hundred persons. Probably this custom of half-concealed habitations is a 484 survival from the time when the Navaho were warriors and plunderers, and lived in momentary expectation of reprisals on the part of their victims.
Although the average Navaho family may be said to be in almost constant movement, they are not at all nomads, yet the term has frequently been applied to them. Each family moves back and forth within a certain circumscribed area, and the smallness of this area is one of the most remarkable things in Navaho life.
Ninety per cent of the Navaho one meets on the reservation are mounted and usually riding at a gallop, apparently bent on some important business at a far-distant point. But a closer acquaintance will develop the fact that there are many grown men in the tribe who are entirely ignorant of the country 30 or 40 miles from where they were born. It is an exceptional Navaho who knows the country well 60 miles about his birthplace, or the place where he may be living, usually the same thing. It is doubtful whether there are more than a few dozens of Navaho living west of the mountains who know anything of the country to the east, and vice versa. This ignorance of what we may term the immediate vicinity of a place is experienced by every traveler who has occasion to make a long journey over the reservation and employs a guide. But he discovers it only by personal experience, for the guide will seldom admit his ignorance and travels on, depending on meeting other Indians living in that vicinity who will give him the required local knowledge. This peculiar trait illustrates the extremely restricted area within which each “nomad” family lives.
Now and then one may meet a family moving, for such movements are quite common. Usually each family has at least two locations—not definite places, but regions—and they move from one to the other as the necessity arises. In such cases they take everything with them, including flocks of sheep and goats and herds of ponies and cattle, if they possess any. The qasçíŋ, as the head of the family is called, drives the ponies and cattle, the former a degenerate lot of little beasts not much larger than an ass, but capable of carrying a man in an emergency 100 miles in a day. He carries his arms, for the coyotes trouble the sheep at night, two or three blankets, and a buckskin on his saddle, but nothing more. It is his special duty to keep the ponies moving and in the trail. Following him comes a flock of sheep and goats, bleating and nibbling at the bushes and grass as they slowly trot along, urged by the dust-begrimed squaw and her children. Several of the more tractable ponies carry packs of household effects stuffed into buckskin and cotton bags or wrapped in blankets, a little corn for food, the rude blanket loom of the woman, baskets, and wicker bottles, and perhaps a scion of the house, too young to walk, perched on top of all. Such a caravan is always accompanied by several dogs—curs of unknown breed, but invaluable aids to the women and children in herding the flocks.
Under the Navaho system descent is in the female line. The children belong to the mother, and likewise practically all property except horses and cattle. Sheep and goats belong exclusively to her, and the head of the family can not sell a sheep to a passing traveler without first obtaining the consent and approval of his wife. Hence in such a movement as that sketched above the flocks are looked after by the women, while under normal circumstances, when the family has settled down and is at home, the care of the flocks devolves almost entirely on the little children, so young sometimes that they can just toddle about.
The waters are usually regarded by the Navaho as the common property of the tribe, but the cultivable lands in the vicinity are held by the individuals and families as exclusively their own. Their flocks occupy all the surrounding pasture, so that virtually many of the springs come to be regarded as the property of the people who plant nearest to them.
In early times, when the organization of the people into clans was more clearly defined, a section of territory was parceled out and held as a clan ground, and some of the existing clans took their names from such localities. Legends are still current among the old men of these early days before the introduction of sheep and goats and horses by the Spaniards, when the people lived by the chase and on wild fruits, grass seeds, and piñon nuts, and such supplies as they could plunder from their neighbors. Indian corn or maize was apparently known from the earliest time, but so long as plunder and the supply of game continued sufficient, little effort was made to grow it. Later as the tribe increased and game became scarcer, the cultivation of corn increased, but until ten years ago more grain was obtained in trade from the Pueblos than was grown in the Navaho country. There are now no defined boundaries to the ancient clan lands, but they are still recognized in a general way and such a tract is spoken of as “my mother’s land.”
Families cling to certain localities and sections not far apart, and when compelled, by reason of failure of springs or too close cropping of the grass, to go to other neighborhoods, they do not move to the new place as a matter of right, but of courtesy; and the movement is never undertaken until satisfactory arrangements have been concluded with the families already living there.
Some of the Pueblo tribes, the Hopi or Moki, for example, have been subjected to much the same conditions as the Navaho; but in this case similarity of conditions has produced very dissimilar results, that is, as regards house structures. The reasons, however, are obvious, and lie principally in two distinct causes—antecedent habits and personal character. The Navaho are a fine, athletic race of men, living a free and independent life. They are without chiefs, in the ordinary meaning of the term, although there are men in the tribe who occupy prominent positions and exercise a kind of semiauthority—chiefs by 486 courtesy, as it were. Ever since we have known them, now some three hundred years, they have been hunters, warriors, and robbers. When hunting, war, and robbery ceased to supply them with the necessaries of life they naturally became a pastoral people, for the flocks and the pasture lands were already at hand. It is only within the last few years that they have shown indication of developing into an agricultural people. With their previous habits only temporary habitations were possible, and when they became a pastoral people the same habitations served their purpose better than any other. The hogáns of ten or fifteen years ago, and to a certain extent the hogáns of today, are practically the same as they were three hundred years ago. There has been no reason for a change and consequently no change has been made.
On the other hand, the Hopi came into the country with a comparatively elaborate system of house structures, previously developed elsewhere. They are an undersized, puny race, content with what they have and asking only to be left alone. They are in no sense warriors, although there is no doubt that they have fought bitterly among themselves within historic times. Following the Spanish invasion they also received sheep and goats, but their previous habits prevented them from becoming a pastoral people like the Navaho, and their main reliance for food is, and always was, on horticultural products. Living, as they did, in fixed habitations and in communities, the pastoral life was impossible to them, and their marked timidity would prevent the abandonment of their communal villages.
Under modern conditions these two methods of life, strongly opposed to each other, although practiced in the same region and under the same physical conditions, are drawing a little closer together. Under the strong protecting arm of the Government the Hopi are losing a little of their timidity and are gradually abandoning their villages on the mesa summits and building individual houses in the valleys below. Incidentally they are increasing their flocks and herds. On the other hand, under the stress of modern conditions, the Navaho are surely, although very slowly, turning to agriculture, and apparently show some disposition to form small communities. Their flocks of sheep and goats have decreased materially in the last few years, a decrease due largely to the removal of the duty on wool and the consequent low price they obtained from the traders for this staple article of their trade.
In both cases the result, so far as the house structures are concerned, is the same. The houses of the people, the homes “we have always had,” as they put it, are rapidly disappearing, and the examples left today are more or less influenced by ideas derived from the whites. Among the Navaho such contact has been very slight, but it has been sufficient to introduce new methods of construction and in fact new structures, and it is doubtful whether the process and the ritual later described could be found in their entirety today. Many of the modern houses of the Navaho in the mountainous and timbered regions are built of logs, sometimes hewn. These houses are nearly always rectangular 487 in shape, as also are all of those built of stone masonry in the valley regions.
There is a peculiar custom of the Navaho which should be mentioned, as it has had an important influence on the house-building practices of the tribe, and has done much to prevent the erection of permanent abodes. This is the idea of the tcĭ’ndi hogán. When a person dies within a house the rafters are pulled down over the remains and the place is usually set on fire. After that nothing would induce a Navaho to touch a piece of the wood or even approach the immediate vicinity of the place; even years afterward such places are recognized and avoided. The place and all about it are the especial locale of the tcĭ’ndi, the shade or “spirit” of the departed. These shades are not necessarily malevolent, but they are regarded as inclined to resent any intrusion or the taking of any liberties with them or their belongings. If one little stick of wood from a tcĭ’ndi hogán is used about a camp fire, as is sometimes done by irreverent whites, not an Indian will approach the fire; and not even under the greatest necessity would they partake of the food prepared by its aid.
This custom has had much to do with the temporary character of the Navaho houses, for men are born to die, and they must die somewhere. There are thousands of these tcĭ´ndi hogáns scattered over the reservation, not always recognizable as such by whites, but the Navaho is unerring in identifying them. He was not inclined to build a fine house when he might have to abandon it at any time, although in the modern houses alluded to above he has overcome this difficulty in a very simple and direct way. When a person is about to die in one of the stone or log houses referred to he is carried outside and allowed to die in the open air. The house is thus preserved.
The Navaho recognize two distinct classes of hogáns—the keqaí or winter place, and the kejĭ´n, or summer place; in other words, winter huts and summer shelters. Notwithstanding the primitive appearance of the winter huts, resembling mere mounds of earth hollowed out, they are warm and comfortable, and, rude as they seem, their construction is a matter of rule, almost of ritual, while the dedicatory ceremonies which usually precede regular occupancy are elaborate and carefully performed.
Although no attempt at decoration is ever made, either of the inside or the outside of the houses, it is not uncommon to hear the term beautiful applied to them. Strong forked timbers of the proper length and bend, thrust together with their ends properly interlocking to form a cone-like frame, stout poles leaned against the apex to form the sides, the whole well covered with bark and heaped thickly with earth, forming a roomy warm interior with a level floor—these are sufficient to constitute a “qoġán nĭjóni,” house beautiful. To the Navaho the house 488 is beautiful to the extent that it is well constructed and to the degree that it adheres to the ancient model.
There are many legends and traditions of wonderful houses made by the gods and by the mythic progenitors of the tribe. In the building of these houses turquois and pearly shells were freely used, as were also the transparent mists of dawn and the gorgeous colors of sunset. They were covered by sunbeams and the rays of the rainbow, with everything beautiful or richly colored on the earth and in the sky. It is perhaps on account of these gorgeous mythical hogáns that no attempt is now made to decorate the everyday dwelling; it would be bátsĭç, tabooed (or sacrilegious). The traditions preserve methods of house building that were imparted to mortals by the gods themselves. These methods, as is usual in such cases, are the simplest and of the most primitive nature, but they are still scrupulously followed.
Early mention of house building occurs in the creation myths: First-man and First-woman are discovered in the first or lowest underworld, living in a hut which was the prototype of the hogán. There were curious beings located at the cardinal points in that first world, and these also lived in huts of the same style, but constructed of different materials. In the east was Tiéholtsodi, who afterward appears as a water monster, but who then lived in the House of Clouds, and Iȼní‘ (Thunder) guarded his doorway. In the south was Teal’ (Frog) in a house of blue fog, and Tiel’íŋ, who is afterward a water monster, lay at that doorway. Ácihi Estsán (Salt-woman) was in the west, and her house was of the substance of a mirage; the youth Çó‘nenĭli (Water-sprinkler) danced before her door. In the north Çqaltláqale1 made a house of green duckweed, and Sĭstél‘ (Tortoise) lay at that door.
Some versions of the myth hold that First-man’s hut was made of wood just like the modern hogán, but it was covered with gorgeous rainbows and bright sunbeams instead of bark and earth. At that time the firmament had not been made, but these first beings possessed the elements for its production. Rainbows and sunbeams consisted of layers or films of material, textile or at least pliable in nature, and were carried about like a bundle of blankets. Two sheets of each of these materials were laid across the hut alternately, first the rainbows from north to south, then the sunbeams from east to west. According to this account the other four houses at the cardinal points were similarly made of wood, the different substances mentioned being used merely for covering. Other traditions hold that the houses were made entirely of the substances mentioned and that no wood was used in their construction because at that time no wood or other vegetal material had been produced.
After mankind had ascended through the three underworlds by means of the magic reed to the present or fourth world, Qastcéyalçi, the God of Dawn, the benevolent nature god of the south and east, 489 imparted to each group of mankind an appropriate architecture—to the tribes of the plains, skin lodges; to the Pueblos, stone houses; and to the Navaho, huts of wood and earth and summer shelters. Curiously enough, nowhere in Navaho tradition is any mention or suggestion made of the use by them of skin lodges.
In building the Navaho hogán Qastcéyalçi was assisted by Qastcéqoġan, the God of Sunset, the complementary nature god of the north and west, who is not so uniformly benignant as the former. In the ceremonies which follow the erection of a hogán today the structure is dedicated to both these deities, but the door is invariably placed to face the east, that the house may be directly open to the influences of the more kindly disposed Qastcéyalçi.
When a movement of a family has been completed, the first care of the qasçíŋ, or head of the family, is to build a dwelling, for which he selects a suitable site and enlists the aid of his neighbors and friends. He must be careful to select a place well removed from hills of red ants, as, aside from the perpetual discomfort consequent on too close a proximity, it is told that in the underworld these pests troubled First-man and the other gods, who then dwelt together, and caused them to disperse.
A suitable site having been found, search is made for trees fit to make the five principal timbers which constitute the qoġán tsáȼi, or house frame. There is no standard of length, as there is no standard of size for the completed dwelling, but commonly piñon trees 8 to 10 inches in diameter and 10 to 12 feet long are selected. Three of the five timbers must terminate in spreading forks, as shown in figure 230, but this is not necessary for the other two, which are intended for the doorway and are selected for their straightness.
When suitable trees have been found, and sometimes they are a considerable distance from the site selected, they are cut down and trimmed, stripped of bark, and roughly dressed. They are then carried or dragged to the site of the hogán and there laid on the ground with their forked ends together somewhat in the form of a T, extreme care being taken to have the butt of one log point to the south, one to the west, and one to the north. The two straight timbers are then 490 laid down with the small ends close to the forks of the north and south timbers and with their butt ends pointing to the east. They must be spread apart about the width of the doorway which they will form.
When all the timbers have been laid out on the ground, the position of each one of the five butts is marked by a stone or in some other convenient way, but great care must be exercised to have the doorway timbers point exactly to the east. Sometimes measurements are made without placing the timbers on the site, their positions and lengths being determined by the use of a long sapling. The interior area being thus approximated, all the timbers are removed, and, guided only by the eye, a rough circle is laid out, well within the area previously marked. The ground within this circle is then scraped and dug out until a fairly level floor is obtained, leaving a low bench of earth entirely or partly around the interior. This bench is sometimes as much as a foot and a half high on the high side of a slightly sloping site, but ordinarily it is less than a foot. The object of this excavation is twofold—to make a level floor with a corresponding increase in the height of the structure, and to afford a bench on which the many small articles constituting the domestic paraphernalia can be set aside and thus avoid littering the floor.
The north and south timbers are the first to be placed, and each is handled by a number of men, usually four or five, who set the butt ends firmly in the ground on opposite sides at the points previously marked and lower the timbers to a slanting position until the forks lock together. While some of the men hold these timbers in place others set the west timber on the western side of the circle, placing it in such a position and in such a manner that its fork receives the other two and the whole structure is bound together at the top. The forked apex of the frame is 6 to 8 feet above the ground in ordinary hogáns, but on the high plateaus and among the pine forests in the mountain districts hogáns of this type, but intended for ceremonial purposes, are sometimes constructed with an interior height of 10 or 11 feet, and inclose an area 25 to 30 feet in diameter. Following is a list of measurements of four typical hogáns:
| Door frame | Interior | Height under apex |
Smoke hole | Space between doorway timbers |
|||||
| Height | Width | North and south |
East and west |
Width at apex |
Width at base |
Length | At apex | At base | |
| Ft. in. | Ft. in. | Ft. in. | Ft. in. | Ft. in. | Ft. in. | Ft. in. | Ft. in. | Ft. in. | Ft. in. |
| 3 8 | 3 8 | 17 10 | 18 0 | 7 9 | 1 10 | 3 0 | 3 10 | 1 10 | 3 8 |
| 4 0 | 1 8 | 12 8 | 12 0 | 6 6 | Very irregular | 2 0 | 3 0 | ||
| 4 0 | 1 6 | 14 9 | 15 0 | 7 0 | 1 2 | 2 4 | 3 0 | 1 2 | 3 0 |
| 3 6 | 1 9 | 14 5 | 14 0 | 6 9 | 1 10 | 2 10 | 3 0 | 1 10 | 3 5 |
In the large hogáns mentioned a crowd of workers are engaged in the construction and ropes and other mechanical aids are employed to lift the heavy timbers of the frame in position.
At this stage in the construction the house shows only the three principal timbers of the frame, securely locked at the apex by the interlacing forks (as shown in figure 231) and firmly planted in the ground. The two doorway timbers are next placed in position, with their smaller ends resting on the forked apex of the frame, from 1½ to 2 feet apart, and with the butt ends resting on the ground about 3½ feet apart. The whole frame, comprising five timbers, is known as tsáȼí, but each timber has its own specific name, as follows:
South timber, caȼaáȼe naaí.
West timber, iŋiŋáȼe naaí.
North timber, náqokosȼe naaí.
Doorway timbers (two), tcíŋĕçinȼe naaí.
The appearance of the frame as seen from below is shown in figure 231.
Fig. 231—Frame of a hogán, seen from below
These names afford a good illustration of the involved nomenclature which characterizes Indian languages. Naaí means a long, straight object, like a piece of timber. The first word in each of the terms above is the name of the cardinal point, the place it occupies (south, west, and north), with the suffix ȼe, meaning “here” or “brought here.” The same words are used with the suffix dje, instead of ȼe, as caȼaádje naaí for the north timber, dje meaning “there” or “set there.” The west timber is also specially designated as bigídje nabkád, “brought 492 together into it,” an allusion to its functions as the main support of the frame, as the two other timbers rest within its spreading fork. The two doorway timbers are also designated as north timber and south timber, according to the position each occupies, and they are sometimes called tcíŋĕçin bĭnĭnĭ´li, “those in place at the doorway passage.” A full nomenclature of hogán construction will be found in another section.
When the tsáȼi, or frame of five timbers, is completed the sides are filled with smaller timbers and limbs of piñon and cedar, the butt ends being set together as closely as possible on the ground and from 6 to 12 inches outside of the excavated area previously described. The timbers and branches are laid on as flat as possible, with the upper ends leaning on the apex or on each other. The intervening ledge thus formed in the interior is the bench previously mentioned, and aside from its convenience it adds materially to the strength of the structure.
Fig. 232—Frame of a doorway
While the sides are being inclosed by some of the workers a door-frame is constructed by others. This consists simply of two straight poles with forked tops driven into the ground at the base of and close inside of the doorway timbers, as shown in figure 232. When in place these poles are about 4 feet high, set upright, with a straight stick resting in the forks, as shown clearly in plate LXXXIV. Another 493 short stick is placed horizontally across the doorway timbers at a point about 3½ feet below the apex, at the level of and parallel with the cross-stick of the door-frame. The space between this cross-stick and the apex is left open to form an exit for the smoke. Sometimes when the hogán is unbearably smoky a rough chimney-like structure, consisting of a rude cribwork, is placed about this smoke hole. Such a structure is shown in plate LXXXIII.
Plate LXXXIII.
A TYPICAL NAVAHO HOGÁN
The doorway always has a flat roof formed of straight limbs or split poles laid closely together, with one end resting on the crosspiece which forms the base of the smoke hole and the other end on the crosspiece of the door-frame. The whole doorway structure projects from the sloping side of the hogán, much like a dormer window. Sometimes the doorway roof is formed by a straight pole on each side of the smoke hole crosspiece to the crosspiece of the door-frame, supporting short sticks laid across and closely together with their ends resting on the two poles. This style of doorway is shown in plate LXXXIV.
Plate LXXXIV.
A HOGÁN IN CANYON CHELLY
The sides of the projecting doorway—that is, the spaces between the roof and the sloping doorway timbers—are filled in with small sticks of the required length. Sometimes the ends of these sticks are bound in place with twigs of yucca, being made fast to the door-frame, but generally they are merely set in or made to rest against the outer roof covering. Usually the larger timbers are roughly dressed on the sides toward the interior of the hut, and the smaller poles also are stripped of bark and rough hewn.
The entire structure is next covered with cedar bark; all the interstices are filled with it, and an upper or final layer is spread with some regularity and smoothness. Earth is then thrown on from base to apex to a thickness of about six inches, but enough is put on to make the hut perfectly wind and water proof. This operation finishes the house, and usually there are enough volunteers to complete the work in a day.
It is customary to make a kind of recess on the western side of the hut by setting out the base of the poles next to the west timber some 8 to 15 inches beyond the line. This arrangement is usually placed next to and on the south side of the west timber, and all the poles for a distance of 3 or 4 feet are set out. The offset thus formed is called the “mask recess,” and when a religious ceremony is performed in the hogán, the shaman or medicine-man hangs a skin or cloth before it and deposits there his masks and fetiches. This recess, of greater or less dimensions, is made in every large hogán, but in many of the smaller ones it is omitted. Its position and general character are shown in the ground plan, plate XC. In the construction of a hogán all the proceedings are conducted on a definite, predetermined plan, and the order sketched above is that ordinarily followed, but nothing of a ceremonial nature is introduced until after the conclusion of the work of construction.
The rules which govern the building of a regular hogán or winter house, although clearly defined and closely adhered to, do not apply to the summer huts or shelters. These outnumber the former and are found everywhere on the reservation, but they are most abundant in the mountain regions and in those places where horticultural operations can be carried on.
These structures are of all kinds and of all degrees of finish, although certain well-defined types, ancient in their origin, are still closely adhered to when the conditions permit. But under other circumstances the rudest and most primitive shelters are constructed, some of them certainly not so high in the scale of construction as an ordinary bird’s nest. There is a certain interest that attaches to these rude attempts, as they exhibit the working of the human mind practically untrammeled by precedent.
Perhaps the most primitive and simple shelter the Navaho builds is a circle or part-circle of green boughs, generally pine or cedar. Half an hour of work by two men with axes is all that is required to erect one of these. A site having been selected, a tree is felled on the windward side, and the branches trimmed from it are piled up to a height of 4 or 5 feet on three sides of a circle 15 or 20 feet in diameter. A fire is built in the center and the natives dispose themselves around it. Blankets are thrown over outstanding branches here and there, affording an abundance of shade in the hot summer days when even a little shade is agreeable. Rude as this shelter is, it is regarded by the Navaho as sufficient when no better is available. During the recent construction of some irrigating ditches on the reservation, when from 50 to 100 men were employed at one time, this form of shelter was the only one used, although in several instances the work was carried on in one place for five or six weeks. Shelters of this kind, however, are possible only in a wooded region, and are built only to meet an emergency, as when a man is away from home and there are no hogáns in the vicinity where he can stop.
Another form, scarcely less rude, is sometimes found in localities temporarily occupied for grazing or for horticulture. It consists of a circle of small branches, sometimes of mere twigs, with the butts stuck into the ground, and not over 2½ or 3 feet high. The circle is broken by a narrow entrance way on one side. This form of shelter, hardly as high as a man’s waist, does little more than mark the place where a family have thrown down their blankets and other belongings, but it may afford some protection against drifting sand. Shelters of this type are occupied several months at a time. They are often seen on the sandy bottom lands of Canyon Chelly and in other regions of like character, and the same sites are sometimes occupied several years in succession.
From these rude makeshift types there is an unbroken range up to the standard winter hut, which also meets the requirements of a summer house, being as comfortable in warm weather as it is in cold weather. The kind of house which a man builds depends almost entirely on the purposes which it is to serve and very little on the man or his circumstances. The houses of the richest man in the tribe and of the poorest would be identical unless, as often happens in modern times, the former has a desire to imitate the whites and builds a regular house of stone or logs. If, however, a man builds a summer place to which he intends to return year after year, and such is the usual custom, he usually erects a fairly substantial structure, a kind of half hogán, or house with the front part omitted. If it is possible to do so he locates this shelter on a low hill overlooking the fields which he cultivates. The restriction which requires that the opening or doorway of a regular hogán shall invariably face the east does not apply to these shelters; they face in any direction, but usually they are so placed as to face away from the prevailing wind, and, if possible, toward the fields or farms.
Figure 233 is a ground plan of a shelter of this type, which is shown also in plate LXXXV. The effect is that of a half hogán of the regular type, but with a short upright timber in place of the usual north piece. The example shown is built on a somewhat sloping site, and the ground inside has been slightly excavated, but on the front the floor reaches the general level of the ground. The principal timbers are forked together at the apex, but not strictly according to rule. The structure is also covered with earth in the regular way, and altogether appears to occupy an intermediate position between the summer shelter and the winter hut. It is a type which is common in the mountain districts and in those places where a semipermanent shelter is needed, and to which the family returns year after year.
Plate LXXXV.
A NAVAHO SUMMER HUT
The supporting post in front in this case was so short that the use of its fork would have made the roof too low. To overcome this the side beams were not laid directly in the fork, but a tablet or short piece of wood was inserted, as shown in figure 234, and the timbers rest on this. The entrance or open front faced to the northwest, and to protect it from the evening sun a temporary shelter of piñon brush was 496 put up, as shown in the illustration. This feature is a common accompaniment of summer shelters and is often found with the regular winter hogán.
Figure 235 shows another type of summer shelter in plan, and figure 236 is a section of the same. It is of the “lean-to” type, and consists of a horizontal beam resting on two forked timbers and supporting a series of poles, the upper ends of which are placed against it. The structure faces the east, and the southern end is closed in like a hogán, but it was covered only with cedar boughs laid close together without an earth facing.
Fig. 235—Ground plan of a summer hut
This shelter stood upon a slope and the timbers used in its construction were small and crooked. Perhaps on account of these disadvantages the interior was excavated, after the shelter was built, to a depth of nearly 24 inches on the higher side, as shown in figure 236. By this expedient the space under the shelter was greatly enlarged. The excavation was not carried all the way back to the foot of the rafters, but, as shown in the section, a bench or ledge some 18 inches wide was left, forming a convenient place for the many little articles which constitute the Navaho’s domestic furniture.
Fig. 236—Section of a summer hut
Mention has been made before of this interior bench, which is an interesting feature. It has been suggested by Mr Victor Mindeleff, whose well-known studies of Pueblo architecture give his suggestions weight, that we have here a possible explanation of the origin of the interior benches which are nearly always found in the kivas or ceremonial chambers of the Pueblo Indians, that the benches in the kivas may be survivals of archaic devices pertaining to the primitive type from which Pueblo architecture developed. If a low wall of masonry 497 were used as a support for rafters, in the manner shown in figure 237, and additional space were sought by excavation, the form shown in the illustration would be retained, for the construction would be seriously weakened if the rude stonework were placed directly on the edge of the excavation. Possibly this practice has some bearing on the Pueblo requirement that the kivas should be at least partly excavated, a requirement still rigidly adhered to. The conservatism of the Indian mind in matters connected with their ceremonials is well known, and forms and practices long abandoned in ordinary house construction still survive in the building of the kivas.
Plate LXXXVI shows a shelter somewhat resembling that last described, but of more simple construction. Here the main crosspiece which forms the front of the shelter is supported by forked upright timbers, as in the previous example, and here also the fork of the main upright is too large and has been filled in.
Plate LXXXVI.
A “LEAN-TO” SUMMER SHELTER
Aside from the types described, which illustrate the more common forms of summer shelters, all kinds and degrees of variation are found. As they, unlike the regular hogán, do not follow any rule or precedent, their form depends largely on the facilities or the particular requirements or abilities of the builder. Figure 238 shows a shelter in the mountains, where timber is abundant. Except that it is not covered with earth and has no door-frame, it might be classed as a regular hogán.
Fig. 238—A timber-built shelter
Figure 239 shows a form that occurs in the valley regions where driftwood can sometimes be obtained. It is closely related to the “lean-to” type, but it is formed partly by excavating the side of a hill and is well covered with earth. It will be noticed that the front is partly closed by logs leaned against it and resting against the front crosspiece or ridgepole.
Fig. 239—Shelter with partly closed front
Figure 240 shows a type which is common in the valleys where timber is scarce and difficult to procure. Sage and other brush is used largely in the construction of shelters of this sort, as the few timbers which are essential can be procured only with great difficulty, and usually must be brought a great distance.
Fig. 240—Low earth-covered shelter
Plate LXXXVII shows a structure that might easily be mistaken for a summer shelter, but which is a special type. It is a regular hogán, so far as the frame and timber work go, but it is covered only with cedar boughs. The illustration shows a part of the covering removed. This structure was a “medicine hut,” put up for the performance of certain ceremonies over a woman who was ill. There are no traces of any fire in the interior, perhaps for the reason that the women’s ceremony is always performed in the day time. Aside from its lack of covering, it is a typical hogán, and the illustration conveys a good impression of the construction always followed. This kind of hut is called an ĭnçá qoġán.
Plate LXXXVII.
ĬNÇÁ-QOGÁN OR MEDICINE HUT
Rude and primitive as these structures seem, a certain amount of knowledge and experience is necessary to build them. This has been discovered at various times by whites who have attempted to build hogáns and failed. An instance occurred not long ago where a trader, finding it necessary to build some kind of a travelers’ house, where Indians who came in to trade late in the evening or on Sunday could spend the night, decided to build a regular hogán. He employed several Navaho to do the work under his own supervision. The result was a failure, for, either on account of too much slope to the sides or for other reasons, the hogán does not remain in good order, and constant work on it is necessary to maintain it in a habitable condition.
All over the reservation there are hundreds of little structures which are miniature models, as it were, of the hogáns, but they lack the projecting doorway. These little huts, scarcely as high as a man’s hip, look like children’s playhouses, but they occupy an important place both in the elaborate religious ceremonies and in the daily life of the Navaho. They are the sweat houses, called in the Navaho language çó‘tce, a term probably derived from qáço‘tsil, “sweat” and ĭnçĭníl‘tce, the manner in which fire is prepared for heating the stones placed in it when it is used. The structure is designed to hold only one person at a time, and he must crawl in and squat on his heels with his knees drawn up to his chin.
In the construction of these little huts a frame is made of three boughs with forked ends, and these have the same names as the corresponding 500 timbers in a hogán. They are placed, as in the hogán, with the lower ends spread apart like a low tripod. Two straight sticks leaned against the apex form a narrow entrance, which, as in the hogán, invariably faces the east. Numerous other sticks and boughs inclose the frame, and enough bark and earth are laid on to make the structure practically air-tight when the entrance is closed.
When the place is to be used a fire is made close beside it, and in this fire numerous stones are heated. The patient to be treated is then stripped, placed inside the little hut, and given copious drafts sometimes of warm or hot water. The nearly red-hot stones are rolled in beside him and the entrance is closed with several blankets, forming in fact a hot-air bath. In a short time the air in the interior rises to a high temperature and the subject sweats profusely. When he is released he rubs himself dry with sand, or if he be ill and weak he is rubbed dry by his friends. This ceremony has a very important place in the medicine-man’s therapeutics, for devils as well as diseases are thus cast out; but aside from their religious use, the çó‘tce are often visited by the Indians for the cleansing and invigorating effect of the bath, with no thought of ceremonial. The Navaho, as a race or individually, are not remarkable for cleanliness, but they use the çó‘tce freely.
During the Yébĭtcai dance or ceremony four çó‘tce are set around the song house, about 40 yards distant from it, one at each cardinal point. The qaçál‘i, or chief medicine-man, sweats the patient in them on four successive mornings, just at dawn, beginning with the east and using one each morning. The çó‘tce on the east is merely an uncovered frame, and after the patient enters it and hot stones have been rolled in it is 501 covered with many blankets and a large buckskin is spread over all. On this skin the qaçál‘i sprinkles iron ochers and other colored sands in striated bands, symbolic of the rainbow and sunbeams which covered the early mythic houses. He and his assistants stand near the hut shaking rattles and singing a brief song to Qastcéjĭni, at the conclusion of which the patient is released. The initial spark of the fire used at these ceremonies and for all religious purposes is obtained by friction, and is regarded as essentially different from fire produced by flint and steel or otherwise, because the first spark of friction fire was brought from Qastcéjĭni, who is the god of the underworld fire. The production of fire by friction is a very simple matter to these Indians and is often done in play; frequently, under the windy conditions that prevail in their country, in but little more time than a white man can accomplish the same result with matches. For this purpose they often use the dry, brittle stalks of the common bee weed (Cleome pungens). The drill, which is whirled between the palms of the hands, consists of a stalk perhaps a quarter of an inch in diameter. This is made to revolve on the edge of a small notch cut into a larger stalk, perhaps an inch in diameter. A pinch of sand is sometimes placed under the point of the drill, the rapid revolution of which produces a fine powder. This powder runs down the notch or groove, forming a little pile on the ground. Smoke is produced in less than a minute, and finally, in perhaps two minutes, tiny sparks drop on the little pile of dry powder, which takes fire from them. By careful fostering by feeding with bits of bark and grass, and with much blowing, a blaze is produced.
It is said that First-man made the first çó‘tce. After coming up the qadjinaí, or magic reed, he was very dirty; his skin was discolored and he had a foul smell like a coyote. He washed with water, but that did not cleanse him. Then Qastcéjĭni sent the firefly to instruct him concerning the çó‘tce and how to rotate a spindle of wood in a notched stick. As First-man revolved the spindle, or drill, between his hands, Firefly ignited the dust at its point with a spark of fire which Qastcéjĭni had given it for that purpose. There is another myth concerning the origin of these little sweat houses which does not agree with that just stated. According to this myth, the çó‘tce were made by the Sun when the famous twins, Nayénĕzgani and Ço‘badjĭstcíni, who play so large a part in Navaho mythology, were sent to him by Estsánatlehi. When they reached the house of the Sun they called him father, as they had been instructed to do, but the Sun disowned them and subjected them to many ordeals, and even thrust at them with a spear, but the mother had given each of the youths a magic feather mantle impervious to any weapon. Kléhanoai (the night bearer—the moon) also scoffed at them and filled the mind of the Sun with doubts concerning the paternity of the twins, so he determined to subject them to a further ordeal.
He made four çó‘tce, but instead of using wood in their construction he made them of a metallic substance, like iron. He placed these at 502 the cardinal points and sent the moon to make a fire near each of them. This fire was obtained from the “burning stars,” the comets. The çó‘tce were made exceedingly hot and the twins were placed in them successively; but instead of being harmed they came out of the last one stronger and more vigorous than ever. Then the Sun acknowledged them as his sons and gave the elder one the magic weapons with which he destroyed the evil genii who infested the Navaho land. This is the reason, the Navaho say, why it is well to have many çó‘tce and to use them frequently. Their use gives rest and sweet sleep after hard work; it invigorates a man for a long journey and refreshes him after its accomplishment.
First-woman, after coming up the qadjinaí, was also foul and ill smelling, and after First-man she also used the çó‘tce. Hence the Navaho women use the çó‘tce like the men, but never together except under a certain condition medical in character. The çó‘tce is built usually in some secluded spot, and frequently large parties of men go together to spend the better part of a day in the enjoyment of the luxury of a sweat bath and a scour with sand. On another day the women of the neighborhood get together and do the same, and the men regard their privacy strictly.
Up to a comparatively recent period the Navaho have been what is usually termed a “wild tribe;” that is, they have existed principally by war and plunder. Since the conquest of the country by General Kearny and the “Army of the West,” in 1846, they have given us but little trouble, but prior to that time they preyed extensively on the Pueblo Indians and the Mexican settlements along the Rio Grande. Practically all their wealth today, and they are a wealthy tribe, consists of thousands of sheep and goats and hundreds of horses, all descended from flocks and herds originally stolen. When the country came into the possession of the United States marauding expeditions became much less frequent, and almost insensibly the tribe changed from a predatory to a pastoral people. But aside from the infrequency or absence of armed expeditions the life of the people remained much the same under the changed conditions. When the Atlantic and Pacific railroad entered the country some sixteen or seventeen years ago traders came with it, although there were a few in the country before, and numerous trading posts were established in the reservation and about its borders. The effect of this was to fix the pastoral habits of the people. Wool and pelts were exchanged for flour, sugar, and coffee, and for calico prints and dyes, and gradually a demand for these articles was established.
The men looked after their herds of horses and took very good care of the few cattle that drifted into the reservation; the women attended 503 to their domestic duties and, with the aid of the children, took care of the sheep and goats, which, according to long-established custom, belonged exclusively to them. Agriculture was practically unknown. But with the removal of the duty on wool a new era opened for the Navaho. The price of wool fell to about one-half of the former figure, and a flock of sheep no longer furnished the means for procuring the articles which had grown to be necessities. The people were gradually but surely forced to horticulture to procure the means of subsistence. It is this tendency which is especially destructive of the old house-building ideas, and which will eventually cause a complete change in the houses of the people. Recently the tendency has been emphasized by the construction, under governmental supervision, of a number of small irrigating ditches in the mountain districts. The result of these works must be eventually to collect the Navaho into small communities, and practically to destroy the present pastoral life and replace it with new and, perhaps, improved conditions.
But many of the arts of the Navaho, and especially their house building, grew out of and conformed to the old methods of life. It is hardly to be supposed that they will continue under the new conditions, and, in fact, pronounced variations are already apparent. Up to ten years ago there was so little change that it might be said that there was none; since then the difference can be seen by everyone. Should the price of wool rise in the near future the change that has been suggested might be checked, but it has received such an impetus that the Navaho will always henceforth pay much more attention to horticulture than they have in the past, and this means necessarily a modification in the present methods of house building. The average Navaho farm, and almost every adult male now has a small garden patch, comprises less than half an acre, while two acres is considered a large area to be worked by one family at one time.
One result of this industrial development of the people is an increased permanency of dwellings. As the flocks of sheep and goats diminish and their care becomes less important, greater attention is paid to the selection of sites for homes, and they are often located now with reference to a permanent occupancy and with regard to the convenience of the fields, which in some cases furnish the main source of subsistence of the family. As a collateral result of these conditions and tendencies an effort is now sometimes made to build houses on the American plan; that is, to imitate the houses of the whites. Such houses are a wide departure from the original ideas of house structures of the Navaho. They are rectangular in plan, sometimes with a board roof, and occasionally comprise several rooms. When the local conditions favor it they are constructed of stone, regular walls of masonry; but perhaps the greater number of those now in existence are in the mountain districts, and were built of logs, often hewn square before being laid in place. Plate LXXXVIII shows a stone house belonging 504 to one of the wealthiest men in the tribe, Bitcai by name. It is situated on the western slope of the Tunicha mountains and was built some years ago, but it is a type of house which is becoming more and more frequent on the reservation. There is practically nothing aboriginal about it except a part of its interior furniture and its inhabitants, and the only one of the old requirements that has been met is the fronting of the house to the east, while the character of the site and the natural conditions demand a western front.
Plate LXXXVIII.
MODERN HOUSE OF A WEALTHY NAVAHO
The log houses referred to are constructed much like the stone house shown in the illustration, except that they are built usually by Indian labor and ordinarily are covered with flat earthen roofs. Frequently the logs are hewn square before being placed in the walls, which present a very neat and finished appearance. Sometimes door and window frames are procured from the sawmill or from the traders, and add to such appearance, while nearly always one or more glazed sashes occupy the window openings and board doors close the entrances. In nearly all cases the requirement that the entrance should face the east is observed, but it is being more and more ignored, and in the houses constructed within the last few years the ancient custom is frequently violated. Unless the principal entrance were made to face the east, the performers in the dedicatory ceremonies could not take their prescribed positions and the ceremony would have to be either modified or omitted altogether.
Among the Pueblo Indians there are certain rituals and ceremonial observances connected with the construction of the houses, but in the Navaho system nothing of a ceremonial nature is introduced until the conclusion of the manual labor. Usually there are enough volunteers to finish the work in one day, and by evening everything is ready for the dedication. The wife sweeps out the house with a wisp of grass and she or her husband makes a fire on the floor directly under the smoke hole. She then goes to her bundles of household effects, which are still outside, and pours a quantity of white cornmeal into a shallow saucer-shape basket. She hands this to the qasçíŋ, or head of the family, who enters the hogán and rubs a handful of the dry meal on the five principal timbers which form the tsáȼi or frame, beginning with the south doorway timber. He rubs the meal only on one place, as high up as he can reach easily, and then does the same successively on the south timber, the west timber, the north timber, and the north doorway timber. While making these gifts, as the proceeding is termed, the man preserves a strict silence, and then, as with a sweeping motion of his hand from left to right (cabĭkégo, as the sun travels) he sprinkles the meal around the outer circumference of the floor, he says in low measured tones—
He then flings a little of the meal into the fire, saying—
and tosses a handful or two up through the smoke hole, saying—
| Qojónli | Tcíŋhanoaí | cĭçá naiĭcní‘ |
| May it be delightful | Sun (day carrier), | my mother’s ancestor, for this gift; |
| Qojónli | nacále | coġán |
| May it be delightful | as I walk around | my house. |
Then two or three handfuls of meal are sprinkled out of the doorway while he says—
| Qojónli | caĕ´çin | cĭçá |
| May it be delightful | this road of light, | my mother’s ancestor. |
The woman then makes an offering to the fire by throwing a few small handfuls of meal upon it, and as she sprinkles it she says in a subdued voice—
| Qojónli | cĭkóŋ |
| May it be delightful | my fire; |
| Qojónli | caltcíni | Ȼáltso yahóçe |
| May it be delightful | for my children; | may all be well; |
| Qojónli | cibeaçán | Ȼáltso yahóçe |
| May it be delightful | with my food and theirs; | may all be well; |
| Ȼáltso cĭnalgéya | yahóçe ȼolel‘ |
| All my possessions well | may they be made (that is, may they be made to increase); |
| Ȼáltso cĭl‘íŋ | yahóçe ȼolel‘ |
| All my flocks | well may they be made (to increase). |
When a hogán is built for a woman who has no husband, or if the husband is absent at the time, the wife performs all these ceremonies. In the absence of white cornmeal, yellow cornmeal is sometimes used, but never the çqaȼĭçíŋ ȼoçlĭ´j, the sacred blue pollen of certain flowers, which is reserved exclusively for the rites of the shaman.
By the time these forms have been observed night will have fallen. During the day, while the house building was in progress, the women were busily engaged in preparing food; all now gather inside the hogán, a blanket is suspended over the door frame, all the possessions of the family are bought in, sheepskins are spread on the floor, the fire 506 is brightened and the men all squat around it. The women bring in food in earthen cooking pots and basins, and, having set them down among the men, they huddle together by themselves to enjoy the occasion as spectators. Every one helps himself from the pots by dipping in with his fingers, the meat is broken into pieces, and the bones are gnawed upon and sociably passed from hand to hand. When the feast is finished tobacco and corn husks are produced, cigarettes are made, everyone smokes, and convivial gossipy talk prevails. This continues for two or three hours, when the people who live near by get up their horses and ride home. Those from a long distance either find places to sleep in the hogán or wrap themselves in their blankets and sleep at the foot of a tree. This ceremony is known as the qoġán aiíla, a kind of salutation to the house.
But the qoġán bĭgĭ´n, the house devotions, have not yet been observed. Occasionally these take place as soon as the house is finished, but usually there is an interval of several days to permit the house builders to invite all their friends and to provide the necessary food for their entertainment. Although analogous to the Anglo-Saxon “house warming,” the qoġán bĭgĭ´n, besides being a merrymaking for the young people, has a much more solemn significance for the elders. If it be not observed soon after the house is built bad dreams will plague the dwellers therein, toothache (dreaded for mystic reasons) will torture them, and the evil influence from the north will cause them all kinds of bodily ill; the flocks will dwindle, ill luck will come, ghosts will haunt the place, and the house will become bátsĭç, tabooed.
A few days after the house is finished an arrangement is made with some shaman (qaçál‘i, devotional singer) to come and sing the ceremonial house songs. For this service he always receives a fee from those who engage him, perhaps a few sheep or their value, sometimes three or four horses or their equivalent, according to the circumstances of the house builders. The social gathering at the qoġán bĭgĭ´n is much the same as that of the qoġán aiíla, when the house is built, except that more people are usually invited to the former. They feast and smoke, interchange scandal, and talk of other topics of interest, for some hours. Presently the qaçál‘i seats himself under the main west timber so as to face the east, and the singing begins.
In this ceremony no rattle is used. The songs are begun by the shaman in a drawling tone and all the men join in. The qaçál‘i acts only as leader and director. Each one, and there are many of them in the tribe, has his own particular songs, fetiches, and accompanying ceremonies, and after he has pitched a song he listens closely to hear whether the correct words are sung. This is a matter of great importance, as the omission of a part of the song or the incorrect rendering of any word would entail evil consequences to the house and its inmates. All the house songs of the numerous qaçál‘i are of similar import but differ in minor details.
The first song is addressed to the east, and is as follows:
| Qa‘ádje | biyádje | beqoġán | aiíla |
| Far in the east | far below | there a house | was made; |
| Qojón | qoġáne |
| Delightful | house. |
| Qastcéyalçi | bebiqoġán | aiíla |
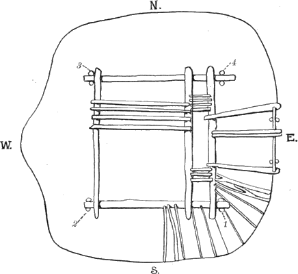
| God of Dawn | there his house | was made; |
| Qojón | qoġáne |
| Delightful | house. |
| Qayol‘kál‘ | bebiqoġán | aiíla |
| The Dawn | there his house | was made; |
| Qojón | qoġáne |
| Delightful | house. |
| Naçáŋ l‘akaí | bebiqoġán | aiíla |
| White Corn | there its house | was made; |
| Qojón | qoġáne |
| Delightful | house. |
| Yu´ȼi alçqasaí | bebiqoġán | aiíla |
| Soft possessions | for them a house | was made; |
| Qojón | qoġáne |
| Delightful | house. |
| Ço‘l‘á | nastcín | bebiqoġán | aiíla, |
| Water in plenty | surrounding | for it a house | was made; |
| Qojón | qoġáne |
| Delightful | house. |
| Çqaȼĭçíŋ | bebiqoġán | aiíla |
| Corn pollen | for it a house | was made; |
| Qojón | qoġáne |
| Delightful | house. |
| Sáŋa nagaí | aiíla bĭké | qojón |
| The ancients | make their presence | delightful; |
| Qojón | qoġáne |
| Delightful | house. |
Immediately following this song, but in a much livelier measure, the following benedictory chant is sung:
After a short interval the following is sung to the west:
| Iŋiŋádje | biyádje | beqoġán | aiíla |
| Far in the west | far below | there a house | was made; |
| Qojón | qoġáne |
| Delightful | house. |
| Qastcéqoġan | bebiqoġán | aiíla |
| God of Twilight | there his house | was made; |
| Qojón | qoġáne |
| Delightful | house. |
| Naqotsói | bebiqoġán | aiíla, |
| Yellow light of evening | there his house | was made; |
| Qojón | qoġáne |
| Delightful | house. |
| Naçáŋ ĭl‘tsói | bebiqoġán | aiíla |
| Yellow corn | there its house | was made; |
| Qojón | qoġáne |
| Delightful | house. |
| Ĭntlĭ´z alçqasaí | bebiqoġán | aiíla |
| Hard possessions | there their house | was made; |
| Qojón | qoġáne |
| Delightful | house. |
| Ço‘biáji | bebiqoġán | aiíla |
| Young rain | there its house | was made; |
| Qojón | qoġáne |
| Delightful | house. |
| Çqaȼĭçíŋ | bebiqoġán | aiíla |
| Corn pollen | there its house | was made; |
| Qojón | qoġáne |
| Delightful | house. |
| Sáŋa nagaí | aiíla bĭké | qojón |
| The ancients | make their presence | delightful; |
| Qojón | qoġáne |
| Delightful | house. |
The song to the west is also followed by the benedictory chant, as above, and after this the song which was sung to the east is repeated; but this time it is addressed to the south. The song to the west is then repeated, but addressed to the north, and the two songs are repeated alternately until each one has been sung three times to each cardinal point. The benedictory chant is sung between each repetition.
All the men present join in the singing under the leadership of the shaman, who does not himself sing, but only starts each song. The women never sing at these gatherings, although on other occasions, when they get together by themselves, they sing very sweetly. It is quite common to hear a primitive kind of part singing, some piping in a curious falsetto, others droning a deep bass.
The songs are addressed to each of the cardinal points, because in the Navaho system different groups of deities are assigned to each of these points. The Navaho also makes a distinction between heavy 509 rain and light rain. The heavy rain, such as accompanies thunderstorms, is regarded as the “male rain,” while the gentle showers or “young rains,” coming directly from the house of Estsánatlehi, are regarded as especially beneficent; but both are deemed necessary to fertilize. A distinction is also made between “hard possessions,” such as turquois and coral beads, shell ornaments, and all articles made from hard substances, and “soft possessions,” which comprise blankets and all textile substances, skins, etc. The Navaho prays that his house may cover many of both hard and soft possessions.
The songs given above are known as the twelve house-songs, although there are only two songs, each repeated twelve times. These are sung with many variations by the different qaçál‘i, and while the builders are preparing for this ceremony they discuss which qaçál‘i has the best and most beautiful words before they decide which one to engage. But the songs are invariably addressed to the deities named, Qastcéyalçi, the God of Dawn, and Qastcéqoġan, the God of Twilight; and they always have the same general significance.
After the “twelve songs” are finished many others are sung: to Estsánatlehi, a benignant Goddess of the West, and to Yol‘kaí Estsán, the complementary Goddess of the East; to the sun, the dawn, and the twilight; to the light and to the darkness; to the six sacred mountains, and to many other members of a very numerous theogony. Other song-prayers are chanted directly to malign influences, beseeching them to remain far off: to ĭntcóŋgi, evil in general; to dakús, coughs and lung evils, and to the bĭȼakúji, sorcerers, praying them not to come near the dwelling. The singing of the songs is so timed that the last one is delivered just as the first gray streaks of dawn appear, when the visitors round up their horses and ride home.
Despite the ceremonies which have been performed, it frequently happens that malign influences affect the new dwelling. The inmates suffer from toothache, or sore eyes, or have bad dreams, or ghosts are heard in the night. Then the house ceremony is repeated. If after this the conditions still prevail and threatening omens are noted, an effort is made to ascertain the cause. Perhaps the husband recalls an occasion when he was remiss in some religious duty, or the wife may remember having seen accidentally an unmasked dancer, or they may be convinced that a sorcerer, a ȼĭlkúji, is practicing his evil art. Such malign influences must be due to some definite cause, and it must be found. Then, if the cause be grave, resort must be had to a very elaborate ceremony, the dance of the Yébĭtcai.
Plate LXXXIX.
A YÉBĬTCAI HOUSE
For the observance of this ceremony it is usual to construct a flat-roof hut called iyáȼaskuni, meaning, literally, “under the flat.” The roof is nearly square as well as flat, and the edifice, with its spreading 510 base, suggests a truncated pyramid; but as it is roughly covered with earth heaped over the entire structure it is externally little more than a shapeless mound. Plate LXXXIX is an exterior view of one of these special hogáns, which is also shown in plan in figure 241.
Fig. 241—Ground plan of Yébĭtcai house
When it has been decided to build an iyáȼaskuni all the young men of the neighborhood join in the labor while some of the older men direct them in the prescribed methods. The procedure is much the same as that employed in building the regular hogán, but larger timbers are required. Any kind of timber growing in the vicinity is used; but as groves of piñon and juniper are most abundant in the Navaho country, these are the kinds usually employed. The stunted, twisted trunks of these trees make it a matter of some difficulty to find the necessary timbers of sufficient size, for they must be at least a foot in diameter. When found, the trees are cut down and carried to the site selected, which must have fairly level surroundings, free from dense wood and underbrush, so as to afford a clear space for the ceremonial processions and dances. Four heavy posts are necessary—“legs,” the Navaho call them—and these must be trimmed so as to leave a strong fork at the top of each at least 6 feet from the ground when set upright. Four 511 others, for the horizontal roof-beams, must be 10 feet long, but without forks; and two more, the straightest and longest, are necessary for the doorway passage. These ten timbers are called tsáȼi, the same term that is applied to the five main timbers of the ordinary hogán.
The four posts are set firmly in the ground in shallow holes at distances apart corresponding to the length of the main roof-beams, and so arranged as to describe a square, the sides of which face the cardinal points. The prescribed position of the doorway is the center of the eastern side, and it must face the east exactly. The post at the southeastern corner is the first to be set, then the one at the southwestern corner, with the forks arranged on the same line. The northwestern post is then set, and finally the one at the northeastern corner, and the forks of the last two are also placed on the same line. In the ground plan (figure 241) the posts are numbered in the order in which they are set up. This sequence is not always strictly followed, but the old men say that this is the proper way.
The beam for the southern side of the roof is next lifted into place and laid so as to rest in the forks of the two posts on that side, with the ends projecting a little beyond them. The beam on the northern side is similarly placed, and the western and the eastern beams are next laid so that their ends rest upon the ends of the beams already in place. Another timber is then placed parallel with the eastern beam, as shown on the plan. This forms the western side of the smoke-hole and also a support for the smaller roof-timbers to rest upon. Sometimes an additional timber is laid across for this purpose between the one last named and the next beam. The two timbers for the sides of the doorway passage are then placed in position about 3 feet apart and leaning against the eastern roof-beam. The butt ends rest upon the ground, and the space between them should be in the center of the eastern side. All the main posts and beams are stripped of bark, the rough knobs and protuberances are hewn off, and they are finished according to the skill of the builders or the exactions of the old men who superintend the construction.
While this work is in progress a great number of smaller and less shapely timbers are procured for the sides and roof. To determine a pitch for the sloping sides all the workers arrange themselves so as to encompass the square frame, and a few of the longest of the irregular timbers are placed here and there around it, leaning against the beams. They are roughly aligned, and some attempt is made to have the sides of the same slope. The floor area thus determined, the outer edge of which would fall 4 to 6 feet outside the posts, is then lightly dug over to remove all irregularities, and is made as level as possible.
As in the ordinary hogán, the upright posts of the door-frame are set near the lower ends of the doorway timbers, and the roof and sides of the doorway are covered in when the sides of the hut are inclosed, which is the next step in the construction. Small tree trunks and timbers are 512 placed closely around the excavated floor area, with their upper ends leaning against the roof beams. They are not set very regularly and boughs are often used to fill the larger crevices, while the corners are turned in a clumsy manner, with the tops of the timbers overlapping each other, while the butts diverge in a haphazard curve.
Fig. 242—Framework of Yébĭtcai house
The roof is laid with smaller timbers, the longest resting on the smoke-hole timber and the western beam, while the shorter pieces span the smaller interval from the former timber to the eastern beam. The arrangement of the smoke exit differs from that of the ordinary hogán. In the latter an open space is left between the doorway timbers at their upper ends; in the iyáȼaskuni the doorway roof is continued up to the eastern beam, which forms the eastern side of the smoke hole. This hole is in the main roof, in line with the doorway but just beyond the ends of its timbers, and it is usually about 3 feet square. Figure 242 is an interior view of the frame, looking outward. The structure is finished like the hogáns; the frame is covered by heavy layers of cedar or juniper bark over the sides and roof, and finally with a deep covering of earth packed firmly over the whole exterior. The door frame is usually about 4 feet high and 2½ feet wide; the roof is about 7 feet high in the interior, and the floor area measures roughly 20 feet square, with the four posts standing about 5 feet from the base of the sides. Figure 243 shows some actual measurements.
Fig. 243—Diagram showing measurements of Yébĭtcai house
While the Yébĭtcai ceremony is in progress the hut is occupied by the qaçál‘i and his assistants and by the young men who assume the sacred masks and personate the various deities in the nightly dances. 513 In the mornings the qaçál‘i sits under the western side of the hut and directs the young men in the process of sand painting, the making of curious sand mosaics delineating mythologic subjects. The materials used are dry sand, charcoal, and powdered ochers of different colors, which are poured from the hand between the thumb and fingers. Without the use of a brush or other implement the trickling stream is guided to form intricate designs. These designs are made directly on the earthen floor in a zone about 3 feet wide and extending nearly the entire length of the hut from north to south. This zone, called the iká‘, is made in front of the qaçál‘i, and between him and the fire, which is reduced to small dimensions to enable him to work close under the opening in the roof. During the process the door is closed with the usual hanging blanket, and to increase the light from above a buckskin or white cloth is sometimes suspended as a reflector on a light frame of boughs erected on the roof on the western side of the smoke hole.
The mask recess, which is found in all the larger hogáns, is always made in the middle of the western side of the iyáȼaskuni. It is usually somewhat wider and deeper than in the ordinary dwelling. The bundles containing the masks and other paraphernalia to be used in the ceremony are placed in the recess by the qaçál‘i, who then fastens a skin or cloth across it. The upper edge at a height of about 3 feet from the floor is fastened with strings to the sloping timbers. The lower edge is held by small pegs driven into the edge of the bench-like ledge of earth which marks the limits of the floor. When he needs them the qaçál‘i reaches behind the curtain for the paraphernalia he has previously prepared and deposited there. The masks must never be seen except when worn by the dancers, nor are the fetiches exposed except when certain rites demand their display.
This recess is called by the Navaho djĭc bĭnasklá, literally “mask recess.” Besides its practical use it has a mythic significance, as it indicates the position occupied by First-man, who sat there with Qastcéyalçi (Dawn) and Qastcéqoġan (Twilight) on either hand, in the house where the Corn people were made. They also occupied similar positions in the house in which they made the celestial bodies, and also in the first iyáȼaskuni, which was made by them to celebrate the occurrence of the first menstruation of Estsánatlehi.
No special veneration attaches to the iyáȼaskuni except when a ceremony is in progress. At that time it is devoted exclusively to the qaçál‘i and the other actors in the rites, and it is then known as qaçál‘ biqoġan, the song house. Perhaps the family for whose benefit it was first used may have contributed the larger share of the food for the workers who constructed it, but it is not held to be the exclusive property of any one person; it is for the use of the neighborhood. In the summer time, during which season no important rites are celebrated, the women often erect their vertical looms there and use it as a workroom. Some of the neighbors may find it convenient to occupy it temporarily, or when some occasion brings an influx of visitors they adjourn to the flat-roof house, if there be one near, to smoke and gamble and sleep there. But it is rarely used as a dwelling in winter, as it would have to be vacated whenever one of the neighbors wished to have a ceremony performed. Moreover, owing to its large size, it would be more difficult to keep warm than the more compact hogán.
Plate XC.
DIAGRAM PLAN OF HOGÁN, WITH NAMES OF PARTS
qoġán ĭl‘tcĭ´n ȼezá‘—conical hut; probably from siníl, a plural article pronoun; tsĭn, a timber; and ȼezá‘, a point.
qoġán ȼĭtcóli—round, inclosed hut. Both this term and the preceding are used to designate the ordinary dwelling hut, but the former is more commonly used.
qaá‘a—east.
caȼaá—south.
515iŋiŋá—west.
náqokos—north.
náni—flat, bevel.
iiái—vertical.
hĭ´nia‘—slanting.
nanaái—a long straight object, as a timber.
|
caȼaáȼe naaí—south timber. iŋiŋáȼe naaí—west timber. nâqokosȼe naaí—north timber. tcíŋĕçinȼe naaí—doorway timbers (two). |
The (five) principal timbers composing the frame, collectively called— |
tsáȼi—frame. Sometimes these timbers are called—
caȼaádje naaí, iŋiŋádje naaí, etc. ȼe means “here,” or “brought here;” dje means “there” or “set there.” The western timber is also specially designated—
bigídje nolkáȼ, brought together into it; an allusion to its function as the main support of the frame, as the other two timbers rest within its spreading fork. The two doorway timbers are also designated as north or south timber respectively. They are also called—
tcíŋĕçin bĭnĭnĭ´li, those in place at the doorway passage.
ȼezá‘—a point; the forked apex.
l‘éjça—the ground; the floor.
bitúça—surrounding projection; the ledge or undisturbed margin of the floor area.
tcíŋĕçin—the road there; the doorway. This term appears to mean “the road there” to the east—that is, to tcíŋhanoai, the sun. The word tciŋ also means day.
tcíŋĕçin sĭlái—the uprights of the door frame. They are also called—
tcíŋeçin iái—but this, strictly speaking, means one upright.
sĭlaí, or sĭlái—a pair.
tcíŋĕçin sĭlái nanaái—doorway-post horizontal timber; the lintel.
tcíŋĕçin naȼasĭçă´ni—another term for the lintel. A single stick lying on the ground is called—
tsĭn sĭçă´ni—but when resting upon something above the ground it is called—
tsĭn ȼasĭçă´ni.
tcĭlégi nanaái—smoke-hole horizontal timber; the crosspiece that rests upon the large doorway timbers and forms the base of the smoke-hole, and also supports one end of the doorway roof.
tcĭlégi naȼasĭçă´ni—this term is also applied to the smoke-hole stick, as in the case of the lintel above.
tcíŋĕçin bikáȼe nanĭjóji—doorway upper surface flat roof; the doorway roof formed of parallel sticks resting on the lintel and the smoke-hole base. The word—
boġánȼe—uppermost, is sometimes used instead of bikáȼe. The term—
nanĭjóji—means, literally, timbers laid level side by side, and is applied to a floor of wood, as in—
516wúyaȼe nanĭjóji—the below-level arrangement of timbers or boards. It is also applied to walls, as in—
biyáȼe bĭnĭjóji—the side arrangement of boards. A bridge across a stream is called—
ço‘ĭnlĭ´nigi nanijóji—the first term meaning “water flowing.”
tcíŋĕçin biyáȼe bĭnĭjóji—doorway side walls; the sticks set in between the uprights of the door-frame and the slanting doorway timbers.
tcĭlégi—smoke-hole; derivation obscure.
biyáȼe bĭnĭjóji—the side “walls;” the smaller timbers which inclose the hut. They are also called—
biya´ȼe bĭnĭnĭ´li—leaning around the sides; from hĭ´nia‘, slanting, and the plural article pronoun siníl.
úji—cedar bark.
úji behesdjéhi—cedar bark laid on; the bark covering.
l‘ej—earth.
l‘ej behesnĭ´li—earth thrown on or lifted on; the earth covering.
ȼánĭpal‘—suspended thin object; this term is always applied to the door covering, which is usually a blanket hanging from the lintel.
qaa‘ádje ni sĭ´skla—within the small corner in the east. The derivation is probably as follows: qaádje, in the east; ni from yúni, within; sĭs from ĭltsĭ´si, small; tkla from nasklá, a corner.
caȼaádje ni sĭ´çkla—within the corner in the south.
iŋiŋádje ni sĭ´çkla—within the corner in the west.
náqokosdje ni sĭ´çkla—within the corner in the north.
náqokosdje ni sĭ´skla—within the small corner in the north.
517qonicpáŋgi—means something like sacred path, or direction. Náspas is the name applied to a circle. During a ceremony persons entering a hut must pass in to the left of the fire; to leave the hut they pass out on the north side of the fire.
iyái‘yi—under half; the center of the hut.
ko´ŋnike—fireplace; probably derived from koŋ, fire; ni‘, land; and ke, track or footprint; kê also means land.
qónĭcqa‘—meaning unknown; it is applied to the space between the fire and the entrance.
djĭc bĭnasklá—mask corner or recess.
tcíŋĕçin—the entrance. See explanation above.
klóȼe—without; the area in front of the entrance outside of the hut.
qoġán bĭnéȼe—outside of the hut.
iyáȼahaskúni—or ȼaskúni, the Yébĭtcai house; probably derived from iyá, under; and ȼahaskúni, a detached, smooth-sided, flat-top mountain. This structure is also called—
çiŋbĭtsáçi qoġán—four-legged house.
| 1. tcíŋĕçinȼe naaí, tcíŋĕçin bĭnĭnĭ´li— | As in the regular hogán. |
| 2. tcíŋĕçin sĭlái— | |
| 3. tcíŋĕçin sĭlái nanaái, or ȼasĭçă´ni— | |
| 4. tcíŋĕçin bikáȼe nanaái— | |
| 5. tcíŋĕçin boġánȼe nanĭjóji— | |
| 6. tcíŋĕçin biyáȼe bĭnĭjóji— | |
|
7.
qaá‘adje nanaái—east horizontal timber. |
|
| 8. náqokosdje nanaái—north horizontal timber. | |
|
qaá‘adje iái (1)3—east post. |
These posts are further distinguished as follows: |
| 9. náqokosdje iái (4)—north post. | |
|
caȼaá qaá‘adje iái (1). |
|
|
10. biyáȼe bĭnĭjóji—the walls; also distinguished as north, south, east, and west walls. |
|
| 11. boġánȼe nanijóji—uppermost roof; the main roof. | |
| 12. tcíŋĕçin—doorway. | |
| 13. tcĭlégi—smoke-hole. | |
|
14. tcĭlégi nanaái—smoke-hole timber. The same term is applied to the timber marked 7 in the figure. |
|
Fig. 244—Interior of Yébĭtcai house, illustrating nomenclature
The numerals in this figure were redrawn in red for greater visibility. The enlarged view shows the numerals in their original form.
1. Recorded by Dr Matthews as the Blue Heron.
2. The figures refer to the interior view shown in figure 244.
3. The numbers in parentheses refer to the ground plan, figure 241.
| Page | |
| Agriculture among the Navaho | 503 |
| Bark used in Navaho structures | 493 |
| Benches in Navaho houses | 496 |
| Butts and tips in Navaho house building | 489, 490 |
| Cardinal Points of the Navaho | 488, 500, 502, 508, 511 |
| Carriso Mountains described | 477 |
| Ceremony, see Dedication. | |
| Chaco Valley described | 478, 479 |
| Chelly Canyon occupied by the Navaho | 483 |
| Chinlee Valley described | 478 |
| Choiskai Mountains described | 477 |
| Cornmeal used in Navaho house dedication | 504, 505 |
| Dawn God of the Navaho | 489 |
| Decoration, lack of, in Navaho houses | 487 |
| Dedication of Navaho houses | 476, 504 |
| Descent among the Navaho | 485 |
| Dogs among the Navaho | 484 |
| Doorframes of Navaho houses | 492 |
| Drill, fire, of the Navaho | 501 |
| Environment, effect of, on primitive people | 475 |
| Estufa, see Kiva. | |
| Feast at Navaho house dedication | 506 |
| Fire-making by the Navaho | 501 |
| Frog in Navaho genesis | 488 |
| Ganamucho, former Navaho chief | 478 |
| Genesis of the Navaho | 488 |
| Government of the Navaho | 485 |
| Hogans, see Houses. | |
| Hopi and Navaho compared | 485, 486 |
| Houses, see Tcindi hogan. | |
| Kearny, Gen., conquest of New Mexico by | 502 |
| Kivas partly subterranean | 496 |
| Land division of, by the Navaho | 485 |
| Lukachukai mountains described | 477 |
| Matthews, W., acknowledgments to | 476, 488 |
| Mindeleff, Victor, data by, on Navaho houses | 476 |
| Mindeleff, Victor, on origin of pueblo house benches | 496 |
| Mortuary customs of the Navaho | 487 |
| Myth, see Genesis. | |
| Navaho former and present condition compared | 502 |
| Navaho habitat, description of | 477 |
| Navaho, habits of the | 481 |
| Navaho, modern condition of the | 486 |
| Navaho population | 483 |
| New Mexico, see Navaho. | |
| Nomenclature of Navaho house building | 491, 514-517 |
| Pueblos raided by the Navaho | 481 |
| Rain personified by the Navaho | 509 |
| Rainbow in Navaho genesis | 488 |
| Recesses in Navaho houses | 493, 514 |
| Salt-woman in Navaho genesis | 488 |
| Sand paintings of the Navaho | 501, 513 |
| Sheep acquired by the Navaho | 485, 486 |
| Sheep-raising by the Navaho | 481 |
| Sheep-raising, decline of, among the Navaho | 503 |
| Sites of Navaho houses | 483, 489 |
| Smoking at Navaho house dedication | 506 |
| Songs of dedication by Navaho | 505-508 |
| Songs, Navaho, necessity for correctness of | 506 |
| Stephen, A. M., data by, on Navaho houses | 476 |
| Summer shelters of the Navaho | 494 |
| Sunbeams in Navaho genesis | 488 |
| Sunset god in Navaho mythology | 489 |
| Sweat baths, Navaho method of taking | 500 |
| Sweat houses of the Navaho | 499 |
| Taboo of tcindi-hogan | 487 |
| Tcĭndi hogans of the Navaho | 487 |
| Tobacco, see Smoking. | |
| Tortoise in Navaho genesis | 488 |
| Traveling, Navaho method of | 484 |
| Tségi canyon, see Chelly canyon. | |
| Tunicha Mountains described | 477 |
| Vegetation of the Navaho country | 480 |
| Water monster in Navaho genesis | 488 |
| Women, Navaho, status of | 485 |
| Yébĭtcai ceremony of the Navaho | 500 |
| Yébĭtcai hogan of the Navaho | 509 |