Title: Scientific American Supplement, No. 421, January 26, 1884
Author: Various
Release date: July 24, 2005 [eBook #16353]
Most recently updated: December 12, 2020
Language: English
Other information and formats: www.gutenberg.org/ebooks/16353
Credits: Produced by Juliet Sutherland, Jon Niehof and the Online
Distributed Proofreading Team at www.pgdp.net
Apparatus for use in laboratories and cabinets of physics were quite numerous at the Munich Exhibition of Electricity, and very naturally a large number was to be seen there that presented little difference with present models. Several of them, however, merit citation. Among the galvanometers, we remarked an apparatus that was exhibited by Prof. Zenger, of Prague. The construction of this reminded us of that of other galvanometers, but it was interesting in that its inventor had combined in it a series of arrangements that permitted of varying its sensitiveness within very wide limits. This apparatus, which Prof. Zenger calls a "Universal Rheometer" (Fig. 1), consists of a bobbin whose interior is formed of a piece of copper, whose edges do not meet, and which is connected by strips of copper with two terminals. This internal shell is capable of serving for currents of quantity, and, when the two terminals are united by a wire, it may serve as a deadener. Above this copper shell there are two identical coils of wire which may, according to circumstances, be coupled in tension or in series, or be employed differentially. Reading is performed either by the aid of a needle moving over a dial, or by means of a mirror, which is not shown in the figure. Finally, there is a lateral scale, R, which carries a magnetized bar, A, that may be slid toward the galvanometer. This magnet is capable of rendering the needle less sensitive or of making it astatic. In order to facilitate this operation, the magnet carries at its extremity a tube which contains a bar of soft iron that may be moved slightly so as to vary the length of the magnet. Prof. Zenger calls this arrangement a magnetic vernier. It will be seen that, upon combining all the elements of the apparatus, we can obtain very different combinations; and, according to the inventor, his rheometer is a substitute for a dozen galvanometers of various degrees of sensitiveness, and permits of measuring currents of from 20 amperes down to 1/50000000 an ampere. The apparatus may even be employed for measuring magnetic forces, as it constitutes a very sensitive magnetometer.

FIG. 1.—.ZENGER'S UNIVERSAL RHEOMETER.
Prof. Zenger likewise had on exhibition a "Universal Electrometer" (Fig. 2), in which the fine wire that served as an electrometric needle was of magnetized steel suspended by a cotton thread. In this instrument, a silver wire, t, terminating in a ball, is fixed to a support, C, hanging from a brass disk, P, placed upon the glass case of the apparatus. It will be seen that if we bring an electrified body near the disk, P, a deviation of the needle will occur. The sensitiveness of the latter may be regulated by a magnetic system like that of the galvanometer. Finally, a disk, P', which may be slid up and down its support, permits of the instrument being used as a condensing electrometer, by giving it, according to the distance of the disks, different degrees of sensitiveness. One constructor who furnished much to this part of the exhibition was Mr. Th. Edelmann of Munich, whose apparatus are represented in a group in Fig. 3. Among them we remark the following: A quadrant electrometer (Fig. 4), in which the horizontal 8-shaped needle is replaced by two connected cylindrical surfaces that move in a cylinder formed of four parts; a Von Beetz commutator; spyglasses with scale for reading measuring instruments (Fig. 3); apparatus for the study of magnetic variations, of Lamont (Fig. 3) and of Wild (Fig. 5); different types of the Wiedemann galvanometer; an electrometer for atmospheric observations (Fig. 6); a dropping apparatus (Fig. 7), in which the iron ball opens one current at a time at the moment it leaves the electro-magnet and when it reaches the foot of the support, these two breakages producing two induction sparks that exactly limit the length to be taken in order to measure the time upon the tracing of the chronoscope tuning-fork; an absolute galvanometer; a bifilar galvanometer (Fig. 8) for absolute measurements, in which the helix is carried by two vertical steel wires stretched from o to u, and which is rendered complete by a mirror for the reading, and a second and fixed helix, so that an electro-dynamometer may be made of it; and, finally, a galvanometer for strong currents, having a horseshoe magnet pivoted upon a vertically divided column which is traversed by the current, and a plug that may be arranged at different heights between the two parts of the column so as to render the apparatus more sensitive (Fig. 9).

FIG. 2.—ZENGER'S UNIVERSAL ELECTROMETER.
We may likewise cite the exhibit of Mr. Eugene Hartmann of Wurtzburg, which comprised a series of apparatus of the same class as those that we have just enumerated—spyglasses for the reading of apparatus, galvanometers, magnetometers, etc.

FIG. 3.—EXHIBIT OF TH. EDELMANN.
Specially worthy of remark were the apparatus of Mr. Kohlrausch for measuring resistances by means of induction currents, and a whole series of accessory instruments.
Among the objects shown by other exhibitors must be mentioned Prof. Von Waltenhofen's differential electromagnetic balance. In this, two iron cylinders are suspended from the extremities of a balance. One of them is of solid iron, and the other is of thin sheet iron and of larger diameter and is balanced by an additional weight. Both of them enter, up to their center, two solenoids. If a strong current be passed into these latter, the solid cylinder will be attracted; but if, on the contrary, the current be weak, the hollow cylinder will be attracted. If the change in the current's intensity occur gradually, there will be a moment in which the cylinders will remain in equilibrium.

FIG. 4.—EDELMANN'S QUADRANT ELECTROMETER.
Prof. Zenger's differential photometer that we shall finally cite is an improvement upon Bunsen's. In the latter the position of the observer's eye not being fixed, the aspect of the spot changes accordingly, and errors are liable to result therefrom. Besides, because of the non-parallelism of the luminous rays, each of the two surfaces is not lighted equally, and hence again there may occur divergences. In order to avoid such inconveniences, Prof. Zenger gives his apparatus (Fig. 10) the following form: The screen, D, is contained in a cubical box capable of receiving, through apertures, light from sources placed upon the two rules, R and R'. A flaring tube, P, fixes the position of the eye very definitely. As for the screen, this is painted with black varnish, and three vertical windows, about an inch apart, are left in white upon its paper. Over one of the halves of these parts a solution of stearine is passed. To operate with the apparatus, in comparing two lights, the central spot is first brought to invisibility, and the distances of the sources are measured. A second determination is at once made by causing one of the two other spots to disappear, and the mean of the two results is then taken. As, at a maximum, there is a difference corresponding to 3/100 of a candle between the illumination of the two neighboring windows, in the given conditions of the apparatus, the error is thus limited to a half of this value, or 2 per cent. of that of one candle.

FIG. 5.—WILD'S APPARATUS FOR STUDYING MAGNETIC VARIATIONS.
Among the apparatus designed for demonstration in lecture courses, we remarked a solenoid of Prof. Von Beetz for demonstrating the constitution of magnets (Fig. 11), and in which eight magnetized needles, carrying mica disks painted half white and half black, move under the influence of the currents that are traversing the solenoid, or of magnets that are bought near to it externally. Another apparatus of the same inventor is the lecture-course galvanometer (Fig. 3), in which the horizontal needle bends back vertically over the external surface of a cylinder that carries divisions that are plainly visible to spectators at a distance.

FIG. 6.—ELECTROMETER FOR ATMOSPHERIC OBSERVATIONS.
Finally, let us cite an instrument designed for demonstrating the principle of the Gramme machine. A circular magnet, AA', is inserted into a bobbin, B, divided into two parts, and moves under the influence of a disk, L, actuated by a winch, M. This system permits of studying the currents developed in each portion of the bobbin during the revolution of the ring (Fig. 12).

FIG. 7.—WIEDEMANN'S CURRENT BREAKER.
To end our review of the scientific apparatus at the exhibition we shall merely mention Mr. Van Rysselberghe's registering thermometrograph (shown in Figs. 13 and 14), and shall then say a few words concerning two types of registering apparatus—Mr. Harlacher's water-current register and Prof. Von Beetz's chronograph.

FIG. 8.—WIEDEMANN'S BIFILAR GALVANOMETER.
Mr. Harlacher's apparatus was devised by him for studying the deep currents of the Elbe. It is carried (Fig. 15) by a long, vertical, hollow rod which is plunged into the river. A cord that passes over a pulley, P, allows of the apparatus, properly so called, being let down to a certain depth in the water. What is registered is the velocity of the vanes that are set in action by the current, and to effect such registry each revolution of the helix produces in the box, C, an electric contact that closes the circuit in the cable, F, attached to the terminals, B. This cable forms part of a circuit that includes a pile and a registering apparatus that is seen at L, outside of the box in which it is usually inclosed. In certain cases, a bell whose sound indicates the velocity of the current to the ear is substituted for the registering apparatus.

FIG. 9.—WIEDEMANN'S GALVANOMETER FOR STRONG CURRENTS.
Fig. 16 represents another type of the same apparatus in which the mechanism of the contact is uncovered. The supporting rod is likewise in this type utilized as a current conductor.

FIG. 10.—ZENGER'S DIFFERENTIAL PHOTOMETER.
It now remains to say a few words about Prof. Von Beetz's chronograph. This instrument (Fig. 17) is designed for determining the duration of combustion of different powders, the velocity of projectiles, etc. The registering drum, T, is revolved by hand through a winch, L, and the time is inscribed thereon by an electric tuning fork, S, set in motion by the large electro-magnet, E F. Each undulation of the curves corresponds to a hundredth of a second. The tuning-fork and the registering electro-magnets, G and H, are placed upon a regulatable support, C, by means of which they may be given any position desired.

FIG. 11.—VON BEETZ'S SOLENOID FOR DEMONSTRATING
THE CONSTITUTION OF MAGNETS.
The style, c, of the magnet, C, traces a point every second in order to facilitate the reading. The style, b, of the electro-magnet, H, registers the beginning and end of the phenomena that are being studied.

FIG. 12.—APPARATUS FOR DEMONSTRATING THE PRINCIPLE OF THE GRAMME MACHINE.
The apparatus is arranged in such a way that indications may thus be obtained upon the drum by means of induction sparks jumping between the style and the surface of the cylinder. To the left of the figure is seen the apparatus constructed by Lieutenant Ziegler for experimenting on the duration of combustion of bomb fuses.

FIG. 13.—VAN RYSSELBERGHE'S REGISTERING
THERMOMETROGRAPH.
Shortly after the drum has commenced revolving, the contact, K, opens a current which supports the heavy armature, P, of an electro-magnet, M. This weight, P, falls upon the rod, d, and inflames the fuse, Z, at that very instant. At this precise moment the electro-magnet, H, inscribes a point, and renews it only when the cartridge at the extremity of the fuse explodes.

FIG. 14.—VAN RYSSELBERGHE'S REGISTERING THERMOMETROGRAPH.
This apparatus perhaps offers the inconvenience that the drum must be revolved by hand, and it would certainly be more convenient could it be put in movement at different velocities by means of a clockwork movement that would merely have to be thrown into gear at the desired moment. As it is, however, it presents valuable qualities, and, although it has already been employed in Germany for some time, it will be called upon to render still more extensive services.

FIG. 15.—HARLACHER'S APPARATUS FOR STUDYING DEEP CURRENTS IN RIVERS.
We have now exhausted the subject of the apparatus of precision that were comprised in the Munich Exhibition. In general, it may be said that this class of instruments was very well represented there as regards numbers, and, on another hand, the manufacturers are to be congratulated for the care bestowed on their construction.—La Lumiere Electrique.

FIG. 16.—HARLACHER'S APPARATUS FOR STUDYING DEEP CURRENTS IN RIVERS.

FIG. 17.—VON BEETZ'S CHRONOGRAPH.
Dr. Hammerl, of the Vienna Academy of Sciences, has made some experiments upon the disturbing influences on the correct indications of a copper voltameter. He investigated the effects of the intensity of the current, the distance apart of the plates, and their preparation before weighing. The main conclusion which he arrives at is this: That in order that the deposit should be proportional to the intensity of the current, the latter ought not to exceed seven ampères per square decimeter of area of the cathode.
Speaking of steel ropes as transmitters of power, Professor Osborne Reynolds says these have a great advantage over shafts, for the stress on the section will be uniform, the velocity will be uniform, and may be at least ten to fifteen times as great as with shafts—say 100 ft. per second; the rope is carried on friction pulleys, which may be at distances 500 ft. or 600 ft. so that the coefficient of friction will not be more than 0.015, instead of 0.04.
We have succeeded in forming a new battery with a single liquid and with a solid depolarizing element by associating oxide of copper, caustic potash, and zinc.
This battery possesses remarkable properties. Depolarizing electrodes are easily formed of oxide of copper. It is enough to keep it in contact with a plate or a cell of iron or copper constituting the positive pole of the element.
Fig. 1 represents a very simple arrangement. At the bottom of a glass jar, V, we place a box of sheet iron, A, containing oxide of copper, B. To this box is attached a copper wire insulated from the zinc by a piece of India rubber tube. The zinc is formed of a thick wire of this metal coiled in the form of a flat spiral, D, and suspended from a cover, E, which carries a terminal, F, connected with the zinc; an India-rubber tube, G, covers the zinc at the place where it dips into the liquid, to prevent its being eaten away at this level.
The jar is filled with a solution containing 30 or 40 per cent. of potash. This arrangement is similar to that of a Callaud element, with this difference—that the depolarizing element is solid and insoluble.

FIG. 1.
To prevent the inconveniences of the manipulation of the potash, we inclose a quantity of this substance in the solid state necessary for an element in the box which receives the oxide of copper, and furnish it with a cover supported by a ring of caoutchouc. It suffices then for working the battery to open the box of potash, to place it at the bottom of the jar, and to add water to dissolve the potash; we then pour in the copper oxide inclosed in a bag.
We also form the oxide of copper very conveniently into blocks. Among the various means which might be employed, we prefer the following:
We mix with the oxide of copper oxychloride of magnesium in the form of paste so as to convert the whole into a thick mass, which we introduce into metal boxes.
The mass sets in a short time, or very rapidly by the action of heat, and gives porous blocks of a solidity increasing with the quantity of cement employed (5 to 10 per cent.).

FIG. 2.
Fig. 2 represents an arrangement with blocks. The jar V, is provided with a cover of copper, E, screwing into the glass. This cover carries two vertical plates of sheet-iron, A, A', against which are fixed the prismatic blocks, B, B, by means of India rubber bands. The terminal, C, carried by the cover constitutes the positive pole. The zinc is formed of a single pencil, D, passing into a tube fixed to the center of the cover. The India rubber, G, is folded back upon this tube so as to make an air-tight joint.
The cover carries, besides, another tube, H, covered by a split India-rubber tube, which forms a safety valve.
The closing is made hermetical by means of an India rubber tube, K, which presses against the glass and the cover. The potash to charge the element is in pieces, and is contained either in the glass jar itself or in a separate box of sheet-iron.
Applying the same arrangement, we form hermetically sealed elements with a single plate of a very small size.
The employment of cells of iron, cast-iron, or copper, which are not attacked by the exciting liquid, allows us to easily construct elements exposing a large surface (Fig. 3).

FIG. 3.
The cell, A, forming the positive pole of the battery is of iron plate brazed upon vertical supports; it is 40 centimeters long by 20 centimeters wide, and about 10 centimeters high.
We cover the bottom with a layer of oxide of copper, and place in the four corners porcelain insulators, L, which support a horizontal plate of zinc, D, D', raised at one end and kept at a distance from the oxide of copper and from the metal walls of the cell; three-quarters of this is filled with a solution of potash. The terminals, C and M, fixed respectively to the iron cell and to the zinc, serve to attach the leading wires. To avoid the too rapid absorption of the carbonic acid of the air by the large exposed surface, we cover it with a thin layer of heavy petroleum (a substance uninflammable and without smell), or better still, we furnish the battery with a cover. These elements are easily packed so as to occupy little space.
We shall not discuss further the arrangements which may be varied infinitely, but point out the principal properties of the oxide of copper, zinc, and potash battery. As a battery with a solid depolarizing element, the new battery presents the advantage of only consuming its element, in proportion to its working; amalgamated zinc and copper are, in fact, not attacked by the alkaline solution, it is, therefore, durable.
Its electromotive force is very nearly one volt. Its internal resistance is very low. We may estimate it at 1/3 or 1/4 of an ohm for polar surfaces one decimeter square, separated by a distance of five centimeters.
The rendering of these couples is considerable; the small cells shown in Figs. 1 and 2 give about two amperes in short circuit; the large one gives 16 to 20 amperes. Two of these elements can replace a large Bunsen cell. They are remarkably constant. We may say that with a depolarizing surface double that of the zinc the battery will work without notable polarization, and almost until completely exhausted, even under the most unfavorable conditions. The transformation of the products, the change of the alkali into an alkaline salt of zinc, does not perceptibly vary the internal resistance. This great constancy is chiefly due to the progressive reduction of the depolarizing electrode to the state of very conductive metal, which augments its conductivity and its depolarizing power.
The peroxide of manganese, which forms the base of an excellent battery for giving a small rendering, possesses at first better conductivity than oxide of copper, but this property is lost by reduction and transformation into lower oxides. It follows that the copper battery will give a very large quantity of electricity working through low resistances, while under these conditions manganese batteries are rapidly polarized.
The energy contained in an oxide of copper and potash battery is very great, and far superior to that stored by an accumulator of the same weight, but the rendering is much less rapid. Potash may be employed in concentrated solution at 30, 40, 60 per cent.; solid potash can dissolve the oxide of zinc furnished by a weight of zinc more than one-third of its own weight. The quantity of oxide of copper to be employed exceeds by nearly one-quarter the weight of zinc which enters into action. These data allow of the reduction of the necessary substances to a very small relative weight.
The oxide of copper batteries have given interesting results in their application to telephones. For theatrical purposes the same battery may be employed during the whole performance, instead of four or five batteries. Their durability is considerable; three elements will work continuously, night and day, Edison's carbon microphones for more than four months without sensible loss of power.
Our elements will work for a hundred hours through low resistances, and can be worked at any moment, after several months, for example. It is only necessary to protect them by a cover from the action of the carbonic acid of the atmosphere.
We prefer potash to soda for ordinary batteries, notwithstanding its price and its higher equivalent, because it does not produce, like soda, creeping salts. Various modes of regeneration render this battery very economical. The deposited copper absorbs oxygen pretty readily by simple exposure to damp air, and can be used again. An oxidizing flame produces the same result very rapidly.
Lastly, by treating the exhausted battery as an accumulator, that is to say, by passing a current through it in the opposite direction, we restore the various products to their original condition; the copper absorbs oxygen, and the alkali is restored, while the zinc is deposited; but the spongy state of the deposited zinc necessitates its being submitted to a process, or to its being received upon a mercury support. Again, the oxide of copper which we employ, being a waste product of brazing and plate works, unless it be reduced, loses nothing of its value by its reduction in the battery; the depolarization may therefore be considered as costing scarcely anything. The oxide of copper battery is a durable and valuable battery, which by its special properties seems likely to replace advantageously in a great number of applications the batteries at present in use.
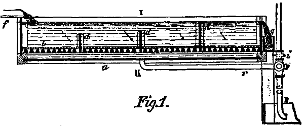
This horizontal steam engine, recently constructed by Mr. E. D. Farcot for actuating a Cance dynamo-electric machine, consists of a cast iron bed frame, A, upon which are mounted all the parts. The two jacketed, cylinders, B and C, of different diameters, each contains a simple-acting piston. The two pistons are connected by one rod in common, which is fixed at its extremity to a cross-head, D, running in slides, E and F, and is connected with the connecting rod, G. The head of the latter is provided with a bearing of large diameter which embraces the journal of the driving shaft, H.
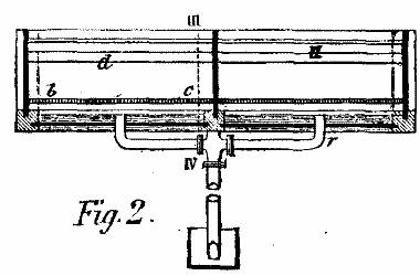
The steam enters the valve-box through the orifice, J, which is provided with a throttle-valve, L, that is connected with a governor placed upon the large cylinder. The steam, as shown in Fig. 2 (which represents the piston at one end of its travel), is first admitted against the right surface of the small piston, which it causes to effect an entire stroke corresponding to a half-revolution of the fly-wheel. The stroke completed, the slide-valve, actuated by an eccentric keyed to the driving shaft, returns backward and puts the cylinders, B and C, in communication. The steam then expands and drives the large piston to the right, so as to effect the second half of the fly-wheel's revolution. The exhaust occurs through the valve chamber, which, at each stroke, puts the large cylinder in connection with the eduction port, M.
The volume of air included between the two pistons is displaced at every stroke, so that, according to the position occupied by the pistons, it is held either by the large or small cylinder. The necessary result of this is that a compression of the air, and consequently a resistance, is brought about. In order to obviate this inconvenience, the constructor has connected the space between the two pistons at the part, A', of the frame by a bent pipe. The air, being alternately driven into and sucked out of this chamber, A', of relatively large dimensions, no longer produces but an insignificant resistance.
FARCOT'S SIX H.P. STEAM ENGINE.
Fig. 1.—Longitudinal Section (Scale 0.10 to 1).
Fig. 2.—Horizontal Section (Scale 0.10 to 1).
Fig. 3.—Section across the Small Cylinder (Scale 0.10 to 1).
Fig. 4.—Section through the Cross Head (Scale 0.10 to 1).
Fig. 5.—Application for a Variable Expanion (Scale 0.10 to 1).
As shown in Fig. 5, there may be applied to this engine a variable expansion of the Farcot type. The motor being a single acting one, a single valve-plate suffices. This latter is, during its travel, arrested at one end by a stop and at the other by a cam actuated by the governor. Upon the axis of this cam there is keyed a gear wheel, with an endless screw, which permits of regulating it by hand.
This engine, which runs at a pressure of from 5 to 6 kilogrammes, makes 150 revolutions per minute and weighs 2,000 kilogrammes.—Annales Industrielles.
We illustrate a foot lathe constructed by the Britannia Manufacturing Company, of Colchester, and specially designed for use on board ships. These lathes, says Engineering, are treble geared, in order that work which cannot usually be done without steam power may be accomplished by foot. For instance, they will turn a 24 inch wheel or plate, or take a half-inch cut off a 3 inch shaft, much heavier work than can ordinarily be done by such tools. They have 6 inch centers, gaps 7½ inches wide and 6½ inches deep, beds 4 feet 6 inches long by 8¾ inches on the face and 6 inches in depth, and weigh 14 cwt. There are three speeds on the cone pulley, 9 inches, 6 inches, and 4 inches in diameter and 1½ inches wide. The gear wheels are 9/16 inch pitch and 1½ inches wide on face. The steel leading screw is 1½ inches in diameter by ¼ inch pitch. Smaller sizes are made for torpedo boats and for places where space is limited.

The endless trough conveyer is one of the latest applications of link-belting, consisting primarily of a heavy chain belt carried over a pair of wheels, and in the intermediate space a truck on which the train runs. This chain or belt is provided with pans which, as they overlap, form an endless trough. Power being applied to revolve one of the wheels, the whole belt is thereby set in motion and at once becomes an endless trough conveyer. The accompanying engraving illustrates a section of this conveyer. A few of the pans are removed, to show the construction of the links; and above this a link and coupler are shown on a larger scale. As will be seen, the link is provided with wings, to form a rigid support for the pan to be riveted to it. To reduce friction each link is provided with three rollers, as will be seen in the engraving. This outfit makes a fireproof conveyer which will handle hot ore from roasting kiln to crusher, and convey coal, broken stone, or other gritty and coarse material. The Link Belt Machinery Company, of Chicago, is now erecting for Mr. Charles E. Coffin, of Muirkirk, Md., about 450 ft. of this conveyer, which is to carry the hot roasted iron ore from the kilns on an incline of about one foot in twelve up to the crusher. This dispenses with the barrow-men, and at an expenditure of a few more horsepower becomes a faithful servant, ready for work in all weather and at all times of day or night. This company also manufactures ore elevators of any capacity, which, used in connection with this apparatus, will handle perfectly anything in the shape of coarse, gritty material. It might be added that the endless trough conveyer is no experiment. Although comparatively new in this country, the American Engineering and Mining Journal says it has been in successful operation for some time in England, the English manufacturers of link-belting having had great success with it.
On the West Shore and Buffalo road its limit of grade is 30 feet to the mile going west and north, and 20 feet to the mile going east and south. Next for easy grades comes the New York Central and Hudson River road. From New York to Albany, then up the valley of the Mohawk, till it gradually reaches the elevation of Lake Erie, it is all the time within the 500 foot level, and this is maintained by its connections on the lake borders to Chicago, by the "Nickel Plate," the Lake Shore and Michigan Southern, and the Canada Southern and Michigan Central.
The Erie, the Pennsylvania, and the Baltimore and Ohio roads pass through a country so mountainous that, much as they have expended to improve their grades, it is practically impossible for them to attain the easy grades so much more readily obtained by the trunk lines following the great natural waterways originally extending almost from Chicago to New York.
The Journal of the Statistical Society for September contains an elaborate paper by Mr. E. Foxwell on "English Express Trains; their Average Speed, etc. with Notes on Gradients, Long Runs, etc." The author takes great pains to explain his definition of the term "express trains," which he finally classifies thus: (a) The general rule; those which run under ordinary conditions, and attain a journey-speed of 40 and upward. These are about 85 per cent. of the whole. (b) Equally good trains, which, running against exceptional difficulties, only attain, perhaps, a journey speed as low as 36 or 37. These are about 5 per cent. of the whole. (c) Trains which should come under (a), but which, through unusually long stoppages or similar causes, only reach a journey speed of 39. These are about 10 per cent.1 of the whole.
He next explains that by "running average" is meant: The average speed per hour while actually in motion from platform to platform, i.e., the average speed obtained by deducting stoppages. Thus the 9-hour (up) Great Northern "Scotchman" stops 49 minutes on its journey from Edinburgh to King's Cross, and occupies 8 hours 11 minutes in actual motion; its "running average" is therefore 48 miles an hour, or, briefly, "r.a.=48." The statement for this train will thus appear: Distance in miles between Edinburgh and King's Cross, 392½; time, 9 h. 0 m.; journey-speed, 43.6; minutes stopped, 49; running average, 48.
Mr. Foxwell then proceeds to describe in detail the performances of the express trains of the leading English and Scottish railways—in Ireland there are no trains which come under his definition of "express"—giving the times of journey, the journey-speeds, minutes stopped on way, and running averages, with the gradients and other circumstances bearing on these performances. He sums up the results for the United Kingdom, omitting fractions, as follows:
| Extent of System in Miles. | Distinct Expresses. | Average Journey-speed. | Running Average. | Express Mileage. | ||
|---|---|---|---|---|---|---|
| 1773 | North-Western | 54 28 | }82 | 40 | 43 | 10,400 |
| 1260 | Midland | 66 | 41 | 45 | 8,860 | |
| 928 | Great Northern | 48 19 | }67 | 43 | 46 | 6,780 |
| 907 | Great Eastern | 34 | 41 | 43 | 3,040 | |
| 2267 | Great Western | 18 | 42 | 46 | 2,600 | |
| 1519 | North-Eastern | 19 | 40 | 43 | 2,110 | |
| 290 | Manch., Sheffield, and Lincoln | 49 | 43 | 44 | 2,318 | |
| 767 | Caledonian | 16 | 40 | 42 | 1,155 | |
| 435 | Brighton | 13 | 41 | 41 | 1,155 | |
| 382 | South-Eastern | 12 | 41 | 41 | 940 | |
| 329 | Glasgow and South-Western | 8 | 41 | 43 | 920 | |
| 796 | London and South-Western | 3 | 41 | 44 | 890 | |
| 984 | North British | 11 | 39 | 41 | 830 | |
| 153 | Chatham and Dover | 9 | 42 | 43 | 690 | |
| 407 | 41 | 44 | 42,683 | |||
A total of 407 express trains, whose average journey-speed is 41.6, and which run 42,680 miles at an average "running average" of 44.3 miles per hour.
If we arrange the companies according to their speed instead of their mileage, the order is:
| Average r.a. | Miles | |
|---|---|---|
| Great Northern. | 46 | 6,780 |
| Great Western. | 46 | 22,600 |
| Midland. | 45 | 8,860 |
| Manchester, Sheffield, and Lincoln | 44 | 2,318 |
| London and South-Western. | 44 | 890 |
| North-Western. | 43 | 10,400 |
| Glasgow and South-Western. | 43 | 920 |
| Great Eastern. | 43 | 3,040 |
| North-Eastern. | 43 | 2,110 |
| Chatham and Dover. | 43 | 690 |
| Caledonian. | 42 | 1,155 |
| South-Eastern. | 41 | 940 |
| Brighton. | 41 | 1,155 |
| North British. | 31 | 825 |
EXPRESS ROUTES ARRANGED IN ORDER OF DIFFICULTY OF GRADIENTS, ETC.
LONG RUNS IN ENGLAND.
| Number of Trains. | Average Speed. Miles. | Running Averages. Miles. | ||
|---|---|---|---|---|
| Midland. | 104 | 53 | 46 | (5,512) |
| North-Western. | 98 | 60 | 45 | (5,880) |
| Great Northern. | 49 | 73 | 50 | (3,616) |
| Great Western. | 24 | 56 | 48 | (1,344) |
| Great Eastern. | 24 | 56 | 42 | (1,362) |
| Brighton. | 23 | 45 | 42 | (1,047) |
| North-Eastern. | 20 | 56 | 44 | (1,120) |
| South-Western. | 13 | 47 | 44 | (615) |
| South-Eastern. | 12 | 66 | 42 | (795) |
| Chatham and Dover. | 8 | 63 | 45 | (504) |
| Caledonian. | 8 | 59 | 45 | (476) |
| Glasgow and South-Western | 8 | 58 | 44 | (468) |
| Manchester, Sheffield, and Lincoln. | 8 | 48 | 43 | (390) |
| North British. | 7 | 60 | 40 | (423) |
| Total. | 406 | 58 | 45 | (23,550) |
From this it will be seen that the three great companies run 61 per cent. of the whole express mileage, and 62 per cent. of the whole number of long runs.
10 per cent. of the number, but not of the mileage, of the whole; for most of this class run short journeys.
Not reckoning mileage west of Exeter.
The old and cumbersome methods of crushing oil seeds by mechanical means have during the last few years undergone a complete revolution. By the old process, the seed, having been flattened between a pair of stones, was afterward ground by edge stones, weighing in some cases as much as 20 tons, and working at about eighteen revolutions per minute. Having been sufficiently ground, the seed was taken to a kettle or steam jacketed vessel, where it was heated, and thence drawn—in quantities sufficient for a cake—in woollen bags, which were placed in a hydraulic press. From four to six bags was the utmost that could be got into the press at one time, and the cakes were pressed between wrappers of horsehair on similar material. All this involved a good deal of manual labor, a cumberstone plant, and a considerable expense in the frequent replacing of the horsehair wrappers, each of which involved a cost of about £4. The modern requirements of trade have in every branch of industry ruthlessly compelled the abandonment of the slow, easy-going methods which satisfied the times when competition was less keen. Automatic mechanical arrangements, almost at every turn, more effectually and at greatly increased speed, complete manufacturing operations previously performed by hand, and oil-seed crushing machinery has been no exception to the general rule. The illustrations we give represent the latest developments in improved oil-mill machinery introduced by Rose, Downs & Thompson, named the "Colonial" mill, and recently we had an opportunity of inspecting the machinery complete before shipment to Calcutta, where it is being sent for the approaching exhibition. As compared with the old system of oil-seed crushing, Messrs. Rose, Downs & Thompson claim for their method, among other advantages, a great saving in driving power, economy of space, a more perfect extraction of the oil, an improved branding of the cakes, a saving of 50 per cent. in the labor employed in the press-room, with also a great saving in wear and tear, while the process is equally applicable to linseed, cottonseed, rapeseed, or similar seeds. In addition to these improvements in the system, the "Colonial" mill has been specially designed in structural arrangement to meet the requirements of exporters. The machinery and engine are self-contained on an iron foundation, so that there is no need of skilled mechanics to erect the mill, nor of expensive stone foundations, while the building covering the mill can, if desired, be of the lightest possible description, as no wall support is required. The mill consists of the following machinery: A vertical steel boiler, 3 ft. 7 in. diameter, 8 ft. 1½ in. high, with three cross tubes 7½ in. diameter, shell 5/16 in. thick, crown 3/8 in. thick, uptake 9 in. diameter, with all necessary fittings, and where wood fuel is used extra grate area can be provided. This boiler supplies the steam not only for the engine, but also for heating and damping the seed in the kettle. The engine is vertical, with 8 in. cylinder and 12 in. stroke, with high speed governors, and stands on the cast iron bed-plate of the mill. This bed-plate, which is in three sections, is about 30 ft. long, and is planed and shaped to receive the various machines, which, when the top is leveled, can be fixed in their respective places by any intelligent man, and when the machines are in position they form a support for the shafting. The seed to be crushed is stored in a wooden bin, placed above and behind the roll frame hopper. The roll frame has four chilled cast iron rolls, 15 in. face, 12 in. diameter, so arranged as to subject the seed to three rollings, with patent pressure giving apparatus. These rolls are driven by fast and loose pulleys by the shaft above. After the last rolling the seed falls through an opening in the foundation plate in a screen driven from the bottom roll shaft by a belt. This conveys the seed in a trough to a set of elevators, which supply it continuously to the kettle. This kettle, which is 3 ft. 6 in. internal diameter and 20 in. deep, is made of cast iron and of specially strong construction. There is only one steam joint in it, and to reduce the liability of leakage this joint is faced in a lathe. The inside furnishings of the kettle are a damping apparatus with perforated boss, upright shaft, stirrer, and delivery plate, and patent slide. The kettle body is fitted with a wood frame and covered with felt, which is inclosed within iron sheeting. The crushed seed is heated in the kettle to the required temperature by steam from the boiler, and it is also damped by a jet of steam which is regulated by a wheel valve with indicating plate. When the required temperature has been obtained, the seed is withdrawn by a measuring box through a self-acting shuttle in the kettle bottom, and evenly distributed over a strip of bagging supported on a steel tray in a Virtue patent moulding machine, where it undergoes a compression sufficient to reduce it to the size that can be taken in by the presses, but not sufficient to cause any extraction of the oil. The seed leaves the moulding machine in the form of a thick cake from nine to eleven pounds in weight, and each press is constructed to take in twelve of these cakes at once. The press cylinders are 12 in. diameter and are of crucible cast steel. To insure strength of construction and even distribution of strain throughout the press, all the columns, cylinders, rams, and heads are planed and turned accurately to gauges, and the pockets that take the columns, in the place of being cast, as is sometimes usual, with fitting strips top and bottom, are solid throughout, and are planed or slotted out of the solid to gauges. The pressure is given by a set of hydraulic pumps made of crucible cast steel and bored out of the solid. One of the pump rams is 2½ in. diameter, and has a stroke of 7 in. This ram gives only a limited pressure, and the arrangements are such as to obtain this pressure upon each press in about fourteen seconds. This pump then automatically ceases running, and the work is taken up by a second plunger, having a ram 1 in. diameter and stroke of 7 in., the second pump continuing its work until a gross pressure of two tons per square inch is attained, which is the maximum, and is arrived at in less than two minutes. For shutting off the communication between the presses, the stop valves are so arranged that either press may be let down, or set to work without in the smallest degree affecting the other. The oil from the presses is caught in an oil tank behind, from which an oil pump, worked by an eccentric, forces it in any desired direction. The cakes, on being withdrawn from the press, are stripped of the bagging and cut to size in a specially arranged paring machine, which is placed off the bed-plate behind the kettle, and is driven by the pulley shown on the main shaft. The paring machine is also fitted with an arrangement for reducing the parings to meal, which is returned to the kettle, and again made up into cakes. The presses shown have corrugated press plates of Messrs. Rose, Downs & Thompson's latest type, but the cakes produced by this process can have any desired name or brand in block letters put upon them. The edges on the upper plate, it may be added, are found of great use in crushing some classes of green or moist seed. The plant, of which we give illustrations opposite, is constructed to crush about four tons of seed per day of eleven hours, and the manual labor has been so reduced to a minimum that it is intended to be worked by one man, who moulds and puts the twenty-four cakes into the presses, and while they are under pressure is engaged paring the cakes that have been previously pressed. In crushing castor-oil seed, a decorticating machine or separator can be combined with the mill, but in such a case the engine and boiler would require to be made larger.—The Engineer.

AN ENGLISH ADAPTATION OF THE AMERICAN OIL MILL.
For extracting such useful materials as are contained in the waste waters of paper mills, cloth manufactories, etc., and, at the same time, for purifying such waters, Mr. Schuricht, of Siebenlehn, employs a sort of filter like that shown in the annexed Figs. 1 and 2, and underneath which he effects a vacuum.
SCHURICHTS FILTERING APPARATUS. Fig. 1.
The apparatus, A, is divided into two compartments, which are separated by a longitudinal partition. Above the stationary bottom, a, there is arranged a lattice-work grating or a strong wire cloth, b, upon which rests the filtering material, c, properly so called. The reservoir is divided transversely by several partitions, d, of different heights. The liquor entering through the leader, f, traverses the apparatus slowly, as a consequence of the somewhat wide section of the layer. But, in order that it may traverse the filtering material, it is necessary that, in addition to this horizontal motion, it shall have a downward one. As far as to the top of the partitions, d, there form in front of the latter certain layers which do not participate in the horizontal motion, but which can only move downward, as a consequence of the permeability of the bottom. It results from this that the heaviest solid particles deposit in the first compartment, while the others run over the first partition, d, and fall into one of the succeeding compartments, according to their degree of fineness, while the clarified water makes its exit through the spout, g. When the filtering layer, c, has become gradually impermeable, the cock, i, of a jet apparatus, k, is opened, in order to suck out the clarified water through the pipe, r.—Dingler's Polytech. Journ., after Bull. Musée de l'Industrie.
SCHURICHTS FILTERING APPARATUS. Fig. 2.
I send you a description of a device that I got up for the N.Y., L.E., and W.R.R. division office at Port Jervis, by which I overcame the difficulties incident to large glasses. The glass was 58 inches long, 84 inches wide, and 3/8 inch thick. It was heavily framed with ash. In order to keep the back from warping out of shape, I had it made of thoroughly seasoned ash strips 1" × 1". Each strip was carefully planed, and then they were glued and screwed together, while across the ends were fastened strips with their grain running transversely. This back was then covered on side next to the glass with four thicknesses of common gray blanketing. Instead of applying the holding pressure by thumb cleats at the periphery, it was effected by two long pressure strips running across the back placed at about one quarter the length of the frame from the ends, and held by a screw at the center. The ends of these strips were made so as to fit in slots in the frame at a slight angle, so that as the pressure strips were turned it gave them a binding pressure at the same time. In other words, it is the same principle as is commonly used to keep backs in small picture frames. This arrangement, instead of holding the back at the edges only, and so allowing the center to fall away from the glass, distributed it evenly over the whole surface and always kept it in position. The frame was run in and out of the printing room on a little railway on which it rested on four grooved brass sheaves, one pair being at one end, while the other was just beyond the center, so the frame could be revolved in direction of its length without trouble. In order to raise the heavy back, I had a pulley-wheel fastened to the ceiling, through which a rope passed, with a ring that could be attached to a corresponding hook at the side of the back, in order to hoist it or lower it. Although that is an extremely large apparatus, yet by means of the above device it was worked easily and rapidly, and gave every satisfaction.
The solution used was of the same proportions as had been adopted in the other engineering offices of the road:
| Citrate iron and ammonium | 1-7/8 oz. |
| Red prussiate potash (C.P.) | 1-1/4 oz. |
Dissolve separately in 4 oz. distilled water each, and mix when ready to use. But by putting mixture in dark bottle, and that in a tight box impervious to light, it can be kept two or three weeks.
In some frames used at the School of Mines for making large blue prints a similar device has been in use for several years. Instead, however, of the heavy and cumbrous back used by Mr. Parsons, a light, somewhat flexible back of one-quarter inch pine is employed, covered with heavy Canton flannel and several thicknesses of newspaper. The pressure is applied by light pressure strips of ash somewhat thicker at the middle than at the ends, which give a fairly uniform pressure across the width of the frame sufficient to hold the back firmly against the glass at all points. This system has been used with success for frames twenty-seven by forty-two inches, about half as large as the one described by Mr. Parsons. A frame of this size can be easily handled without mechanical aids. Care should be taken to avoid too great thickness and too much spring in the pressure strips, or the plate glass may be broken by excessive pressure. The strips used are about five-eighths of an inch thick at the middle, and taper to about three-eighths of an inch at the ends.
The formulæ for the solution given by Whittaker, Laudy, and Parsons are practically identical so far as the proportions of citrate of iron and ammonia and of red prussiate of potash, 3 of the former to 2 of the latter, but differ in the amount of water. Laudy's formula calls for about 5 parts of water to 1 of the salts, Whittaker's for 4 parts, and Parson's for a little more than 2 parts. The stronger the solution the longer the exposure required. With very strong solutions a large portion of the Prussian blue formed comes off in the washwater, and when printing from glass negatives the fine lines and lighter tints are apt to suffer. The blue color, however, will be deep and the whites clear. With weak solutions the blues will be fainter and the whites bluish. Heavily sized paper gives the best results. The addition of a little mucilage to the solution is sometimes an advantage, producing the same results as strength of solution, by increasing the amount adhering to the paper. With paper deficient in sizing the mucilage also makes the whites clearer.—H.S.M., Sch. of M. Quarterly.
A course of lectures on sanitary engineering has been delivered during the past few weeks before the officers of the Royal Engineers stationed at Chatham, by Captain Douglas Galton, C.B., D.C.L., F.R.S.
The refuse which has to be dealt with, observed Captain Galton, whether in towns or in barracks or in camp, falls under the following five heads: 1, ashes; 2, kitchen refuse; 3, stable manure; 4, solid or liquid ejections; and 5, rainwater and domestic waste water, including water from personal ablutions, kitchen washing up, washings of passages, stables, yards, and pavements. In a camp you have the simplest form of dealing with these matters. The water supply is limited. Waste water and liquid ejection are absorbed by the ground; but a camp unprovided with latrines would always be in a state of danger from epidemic disease. One of the most frequent causes of an unhealthy condition of the air of a camp in former times has been either neglecting to provide latrines, so that the ground outside the camp becomes covered with filth, or constructing the latrines too shallow, and exposing too large a surface to rain, sun, and air. The Quartermaster-General's regulations provide against these contingencies; but I may as well here recapitulate the general principles which govern camp latrines. Latrines should be so managed that no smell from them should ever reach the men's tents. To insure this very simple precautions only are required:
1. The latrines should be placed to leeward with respect to prevailing winds, and at as great a distance from the tents as is compatible with convenience. 2. They should be dug narrow and deep, and their contents covered over every evening with at least a foot of fresh earth. A certain bulk and thickness of earth are required to absorb the putrescent gas, otherwise it will disperse itself and pollute the air to a considerable distance round. 3. When the latrine is filled to within 2 ft. 6 in. or 3 ft. of the surface, earth should be thrown into it, and heaped over it like a grave to mark its site. 4. Great care should be taken not to place latrines near existing wells, nor to dig wells near where latrines have been placed. The necessity of these precautions to prevent wells becoming polluted is obvious. Screens made out of any available material are, of course, required for latrines. This arrangement applies to a temporary camp, and is only admissible under such conditions.
A deep trench saves labor, and places the refuse in the most immediately safe position, but a buried mass of refuse will take a long time to decay; it should not be disturbed, and will taint the adjacent soil for a long time. This is of less consequence in a merely temporary encampment, while it might entail serious evils in localities continuously inhabited. The following plan of trench has been adopted as a more permanent arrangement in Indian villages, with the object of checking the frightful evil of surface pollution of the whole country, from the people habitually fouling the fields, roads, streets, and watercourses. Long trenches are dug, at about one foot or less in depth, at a spot set apart, about 200 or 300 yards from dwellings. Matting screens are placed round for decency. Each day the trench, which has received the excreta of the preceding day, is filled up, the excreta being covered with fresh earth obtained by digging a new trench adjoining, which, when it has been used, is treated in the same manner. Thus the trenches are gradually extended, until sufficient ground has been utilized, when they are plowed up and the site used for cultivation. The Indian plow does not penetrate more than eight inches; consequently, if the trench is too deep, the lower stratum is left unmixed with earth, forming a permanent cesspool, and becomes a source of future trouble. It is to be observed, however, that in the wet season these trenches cannot be used, and in sandy soil they do not answer. This system, although it is preferable to what formerly prevailed—viz., the surface defilement of the ground all round villages and of the adjacent water courses—is fraught with danger unless subsequent cultivation of the site be strictly enforced, because it would otherwise retain large and increasing masses of putrefying matter in the soil, in a condition somewhat unfavorable to rapid absorption. These arrangements are applicable only to very rough life or very poor communities.
The question of the removal of kitchen refuse, manure, etc., from barracks next calls for notice. The great principle to be observed in removing the solid refuse from barracks is that every decomposable substance should be taken away at once. This principle applies especially in warm climates. Even the daily removal of refuse entails the necessity of places for the deposit of the refuse, and therefore this principle must be applied in various ways to suit local convenience. In open situations, exposed to cool winds, there is less danger of injury to health from decomposing matters than there would be in hot, moist, or close positions. In the country generally there is less risk of injury than in close parts of towns. These considerations show that the same stringency is not necessarily required everywhere. Position by itself affords a certain degree of protection from nuisance. The amount of decomposing matter usually produced is also another point to be considered. A small daily product is not, of course, so injurious as a large product. Even the manner of accumulating decomposing substances influences their effect on health. There is less risk from a dung heap to the leeward than to the windward of a barrack. The receptacles in which refuse is temporarily placed, such as ash pits and manure pits, should never be below the level of the ground. If a deep pit is dug in the ground, into which the refuse is thrown in the intervals between times of removal, rain and surface water will mix with the refuse and hasten its decomposition, and generally the lowest part of the filth will not be removed, but will be left to fester and produce malaria. In all places where the occupation is permanent the following conditions should be attended to:
1. That the places of deposit be sufficiently removed from inhabited buildings to prevent any smell being perceived by the occupants. 2. That the places of deposit be above the level of the ground—never dug out of the ground. The floor of the ash pit or dung pit should be at least six inches above the surface level. 3. That the floor be paved with square sets, or flagged and drained. 4. That ash pits be covered. 5. That a space should be paved in front, so as to provide that the traffic which takes place in depositing the refuse or in removing it shall not produce a polluted surface.
In towns those parts of the refuse which cannot be utilized for manure or otherwise are burned. But this is an operation which, if done unskillfully, without a properly constructed kiln, may give rise to nuisance. One of the best forms of kiln is one now in operation at Ealing, which could be easily visited from London.
The removal of excreta from houses.—The chief object of a perfect system of house drainage is the immediate and complete removal from the house of all foul and effete matter directly it is produced. The first object—viz., removal of foul matter, can be attained either by the water closet system, when carried out in this integrity; but it could, of course, be attained without drains if there was labor enough always available; and the earth closet or the pail system are modifications of immediate removal which are safe. Cesspools in a house do not fulfill this condition of immediate removal. They serve for the retention of excremental and other matters. In a porous soil it endangers the purity of the wells. The Indian cities afford numerous examples of subsoil pollution. The Delhi ulcer was traced to the pollution of the wells from the contaminated subsoil; and the soil in many cities and villages is loaded with niter and salt, the chemical results of animal and vegetable refuse left to decay for many generations, from the presence of which the well water is impure. There are many factories of saltpeter in India whose supplies are derived from this source; and during the great French wars, when England blockaded all the seaports of Europe, the First Napoleon obtained saltpeter for gunpowder from the cesspits in Paris. Cesspools are inadmissible where complete removal can be effected. Cesspits may, however, be a necessity in some special cases, as, for instance, in detached houses or a small detached barrack. Where they cannot be avoided, the following conditions as to their use should be enforced:
1st. A cesspit should never be located under a dwelling. It should be placed outside, and as far removed from the immediate neighborhood of the dwelling as circumstances will allow. There should be a ventilated trap placed on the pipe leading from the watercloset to the cesspit. 2d. It should be formed of impervious material so as to permit of no leakage. 3d. It should be ventilated. 4th. No overflow should be permitted from it. 5th. When full it should be thoroughly emptied and cleaned out; for the matter left at the bottom of a cesspit is liable to be in a highly putrescible condition.
Where a cesspit is unavoidable, perhaps the best and least offensive system for emptying it is the pneumatic system. This is applicable to the water closet refuse alone. The pneumatic system acts as follows: A large air-tight cylinder on wheels, or, what answers equally, a series of air-tight barrels connected together by tubes about 3 in. diameter, placed on a cart, brought as near to the cesspit as is convenient; a tube of about the same diameter is led from them to the cesspit; the air is then exhausted in the barrels or cylinder either by means of an air pump or by means of steam injected into it, which, on condensation, forms a vacuum; and the contents of the cesspit are drawn through the tube by the atmospheric pressure into the cylinder or barrels. A plan which is practically an extension of this system has been introduced by Captain Liernur in Holland. He removes the fæcal matter from water closets and the sedimentary production of kitchen sinks by pneumatic agency. He places large air-tight tanks in a suitable part of the town, to which he leads pipes from all houses. He creates a vacuum in the tanks, and thus sucks into one center the fæcal matter from all the houses. Various substitutes have been tried for the cesspit, which retain the principle of the hand removal of excreta. The first was the combination of the privy with an ashpit above the surface of the ground, the ashes and excreta being mixed together, and both being removed periodically. The next improvement was the provision of a movable receptacle. Of this type the simplest arrangement is a box placed under the seat, which is taken out, the contents emptied into the scavenger's cart, and the box replaced. The difficulty of cleansing the angles of the boxes led to the adoption of oval or round pails. The pail is placed under the seat, and removed at stated intervals, or when full, and replaced by a clean pail. In Marseilles and Nice a somewhat similar system is in use. They employ cylindrical metal vessels furnished with a lid which closes hermetically, each capable of holding 11 gallons. The household is furnished with three or four of these vessels, and when one is full the lid is closed hermetically, the vessel thus remaining in a harmless condition in the house till taken away by the authorities and replaced by a clean one. The contents are converted into manure. In consequence of the offensiveness of the open pail, the next improvement was to throw in some form of deodorizing material daily. In the north of England the arrangement generally is that the ashes shall be passed through a shoot, on which they are sifted—the finer fall into the pail to deodorize it, the coarser pass into a box, whence they can be taken to be again burned—while a separate shoot is provided for kitchen refuse, which falls into another pail adjacent.
Probably the best known contrivance for deodorizing the excreta is the dry earth system as applied in the earth closet, in which advantage is taken of the deodorizing properties of earth. Dry earth is a good deodorizer; 1½ lb. of dry earth of good garden ground or clay will deodorize such excretion. A larger quantity is required of sand or gravel. If the earth after use is dried, it can be applied again, and it is stated that the deodorizing powers of earth are not destroyed until it has been used ten or twelve times. This system requires close attention, or the dry earth closet will get out of order; as compared with water closets, it is cheaper in first construction, and is not liable to injury by frost; and it has this advantage over any form of cesspit—that it necessitates the daily removal of refuse. The cost of the dry earth system per 1,000 persons may be assumed as follows: Cost of closet, say, £500; expense of ovens, carts, horses, etc., £250; total capital, £750, at 6 per cent. £37 10s. interest. Wages of two men and a boy per week, £1 12s.; keep of horses, stables, etc., 18s.; fuel for drying earth, 1s. 6d. per ton dried daily, £1 10s.; cost of earth and repairs, etc., 14s.; weekly expenses, £4 14s. Yearly expenses, £247 (equal to 4s. 11d. per ton per annum); interest, £37 10s.—total, £284 10s., against which should be put the value of the manure. But the value of the manure is simply a question of carriage. If the manure is highly concentrated, like guano, it can stand a high carriage. If the manuring elements are diffused through a large bulk of passive substances, the cost of the carriage of the extra, or non-manuring, elements absorbs all profit. If a town, therefore, by adding deodorants to the contents of pails produces a large quantity of manure, containing much besides the actual manuring elements—such as is generally the case with dry earth—as soon as the districts immediately around have been fully supplied, a point is soon reached at which it is impossible to continue to find purchasers. The dry earth system is applicable to separate houses, or to institutions where much attention can be given to it, but it is inapplicable to large towns from the practical difficulties connected with procuring, carting, and storing the dry earth.
With the idea that if the solid part of the excreta could be separated from the liquid and kept comparatively dry the offensiveness would be much diminished, and deodorization be unnecessary, a method for getting rid of the liquid portion by what is termed the Goux system has been in use at Halifax. This system consists in lining the pail with a composition formed from the ashes and all the dry refuse which can be conveniently collected, together with some clay to give it adhesion. The lining is adjusted and kept in position by a means of a core or mould, which is allowed to remain in the pails until just before they are about to be placed under the seat; the core is then withdrawn, and the pail is left ready for use. The liquid which passes into the pail soaks into this lining, which thus forms the deodorizing medium. The proportion of absorbents in a lining 3 in. thick to the central space in a tub of the above dimensions would be about two to one; but unless the absorbents are dry, this proportion would be insufficient to produce a dry mass in the tubs when used for a week, and experience has shown that after being in use for several days the absorbing power of the lining is already exceeded, and the whole contents have remained liquid. There would appear to be little gain by the use of the Goux lining as regards freedom from nuisance, and though it removes the risk of splashing and does away with much of the unsightliness of the contents, the absorbent, inasmuch as it adds extra weight which has to be carried to and from the houses, is rather a disadvantage than otherwise from the manurial point of view.
The simple pail system, which is in use in various ways in the northern towns of England, and in the permanent camps to some extent at least, and of which the French "tinette" is an improved form, is more economically convenient than the dry earth system or the Goux or other deodorizing system, where a large amount of removal of refuse has to be accomplished, because by the pail system the liquid and solid ejections may be collected with a very small, or even without any, admixture of foreign substances; and, according to theory, the manurial value of dejections per head per annum ought to be from 8s. to 10s. The great superiority, in a sanitary point of view, of all the pail or pan systems over the best forms over the old cesspits or even the middens is due to the fact that the interval of collection is reduced to a minimum, the changing or emptying of the receptacles being sometimes effected daily, and the period never exceeding a week. The excrementitious matter is removed without soaking in the ground or putrefying in the midst of a population.
These plans for the removal of excreta do not deal with the equally important refuse liquid—viz., the waste water from washing and stables, etc. As it is necessary to have drains for the purpose of removing the waste water, it is more economical to allow this waste water to carry away the excreta. In any case, you must have drains for removing the fouled water. Down these drains it is evident that much of the liquid excreta will be poured, and thus you must take precautions to prevent the gases of decomposition which the drains are liable to contain from passing into your houses.
There is a method which you might find useful on a small scale to which I will now draw your attention, as it is applicable to detached houses or small barracks—viz., the plan of applying the domestic water to land through underground drains, or what is called subsoil irrigation. This system affords peculiar facilities for disposing of sewage matter without nuisance. There are many cases where open irrigation in close contiguity to mansions or dwellings might be exceedingly objectionable, and in such cases subsoil irrigation supplies a means of dealing with a very difficult question. This system was applied some years ago by Mr. Waring in Newport, in the United States. It has recently been introduced into this country.
The system is briefly as follows: The water from the house is carried through a water-tight drain to the ground where the irrigation is to be applied. It is there passed through ordinary drain pipes, placed 1 ft. below the surface, with open joints, by means of which it percolates into the soil. Land drains, 4 ft. deep, should be laid intermediately between the subsoil drains to remove the water from the soil. The difficulty of subsoil irrigation is to prevent deposit, which chokes the drains; and if the foul domestic water is allowed to trickle through the drains as it passes away from the house it soon chokes the drains. It is, therefore, necessary to pass it in flushes through the drains, and this can be best managed by running the water from the house into one of Field's automatic flush tanks, which runs off in a body when full.
When you have water closet and drainage, the great object to be attained in house drainage is to prevent the sewer gas from passing from the main sewer into the house drain. It was the custom to place a flap at the junction of the house drain with the sewer; but this flap is useless for preventing sewer gas from passing up the house drain. The plan was therefore adopted of placing a water trap under the water closet basin or the sink, etc., in direct communication with the drain. The capacity of water to absorb sewer gas is very great, consequently the water in the trap would absorb this gas. When the water became warm from increase of temperature, it would give out the gas into the house; when it cooled down at night, it would again absorb more gas from the soil pipe, and frequent change of temperature would cause it to give out and reabsorb the gas continually.
These objections have led to the present recognized system—viz., 1st, to place a water trap on the drain to cut off the sewer gases from the foot of the soil pipe; and, next, to place an opening to the outer air on the soil pipe between the trap and the house to secure efficient disconnection between the sewer and the house. It is, moreover, necessary to produce a movement of air and ventilation in the house drain pipes to aerate the pipe and to oxidize any putrescible products which may be in it. To do this, we must insure that a current of air shall be continually passing through the drains; both an inlet and an outlet for fresh air must be provided in the portions of the house drain which are cut off from the main sewer, for without an inlet and outlet there can be no efficient ventilation. This outlet and inlet can be obtained in the following manner: In the first place, an outlet may be formed by prolonging the soil pipe at its full diameter, and with an open top to above the roof, in a position away from the windows, skylights, or chimneys. And, secondly, an inlet may be obtained by an opening into the house drain, on the dwelling side of and close to the trap, by means of the disconnecting manhole or branch-pipe before mentioned, or where necessary by carrying up the inlet by means of a ventilating pipe to above the roof. The inlet should be equal in area to the drain pipe, and not in any case less than 4 in. in diameter. If it were not for appearance and the difficulty of conveying the excreta without lodgments, an open gutter would be preferable to a closed pipe in the house. This arrangement is based on the principle that there should be no deposit in the house drains. Therefore the utmost care should be taken to lay the house drains in straight lines, both in plan and gradient, and to give the adequate inclination.
The following are desirable conditions to observe in house drains: 1. As to material of pipes. House drains should be made either of glazed stoneware pipes or fireclay pipes with cement joints, or preferably of cast iron pipes jointed with carefully-made lead joints, or with turned joints and bored sockets. I say preferably of cast iron. In New York the iron soilpipe, with joints made with lead, is now required by the municipal regulations. It is a stronger pipe than a rainwater pipe. The latter will often be found to have holes. A lead joint cannot be made properly in a weak pipe, therefore the lead joint is to some extent a guarantee of soundness. Lead pipes will be eaten away by water containing free oxygen without carbonic acid, therefore pure rainwater injures lead pipes. An excess of carbonic acid in water will also eat away lead. You will find that in many cases pinholes appear in a soilpipe, and when inside a house that allows sewer gas to pass into the house. Moreover, lead is a soft material; it is subject to indentations, to injury from nails, to sagging. A cast-iron pipe, when coated with sewage matter, does not appear to be subject to decay; and if of sufficient substance it is not liable to injury. When once well fixed, it has no tendency to move. I would, therefore, advocate cast iron in lieu of lead soilpipes. In fixing the soilpipe which is to receive a water-closet, the trap should form part of the fixed pipe; so that if there is any sinking the down pipe will not sink away from the trap. It is, however, not sufficient to provide good material. There is nothing which is more important in a sanitary point of view than good workmanship in house drainage. In this matter, it is on details that all depends. Just consider; the drain pipes under the best conditions of aeration contain elements of danger, and those pipes are composed of a number of parts, at the point of junction of any one of which the poison may escape into the house. You thus perceive how necessary it is first to reduce the poison to a minimum by cutting off the sewer gas which might otherwise pass from the street sewer to the house drain, and in the next place being most careful in the workmanship of every part of your house drains and soilpipes. Reduce your danger where you can by putting your pipes outside. But you cannot always do that—for instance, at New York and in Canada they would freeze.
All drain pipes should be proved to be watertight by plugging up the lower end of the drain pipe and filling it with water. In no case should a soilpipe be built inside a wall. It should be so placed as to be always accessible. 2. The pipes should be generally 4 in. diameter. In no instance need a drain pipe inside a house exceed 6 in. in diameter. 3. Every drain of a house or building should be laid with true gradients, in no case less than 1/100, but much steeper would be preferable. When from circumstances the drain is laid at a smaller inclination, a flush tank should be provided. They should be laid in straight lines from point to point. At every change of direction there should be reserved a means of access to the drain. 4. No drain should be constructed so as to pass under a dwelling house, except in particular cases when absolutely necessary. In such cases the pipe should be of cast iron, and the length of drain laid under the house should be laid perfectly straight—a means of access should be provided at each end; it should have a free air current passing through it from end to end, and a flush tank should be placed at the upper end. 5. Every house drain should be arranged so as to be flushed, and kept at all times free from deposit. 6. Every house drain should be ventilated by at least two suitable openings, one at each end, so as to afford a current of air through the drain, and no pipe or opening should be used for ventilation unless the same be carried upward without angles or horizontal lengths, and with tight joints. The size of such pipes or openings should be fully equal to that of the drain pipe ventilated. 7. The upper extremities of ventilating pipes should be at a distance from any windows or openings, so that there will be no danger of the escape of the foul air into the interior of the house from such pipes. The soilpipe should terminate at its lower end in a properly ventilating disconnecting trap, so that a current of air would be constantly maintained through the pipe. 8. No rainwater pipe and no overflow or waste pipe from any cistern or rainwater tank, or from any sink (other than a slop sink for urine), or from any bath or lavatory, should pass directly to the soilpipe; but every such pipe should be disconnected therefrom by passing through the wall to the outside of the house, and discharging with an end open to the air. I may mention here that the drainage arrangements of this Parkes Museum in which we are assembled were very defective when the building was first taken. Mr. Rogers Field, one of the committee, was requested to drain it properly, and it has been very successfully accomplished.
I would now draw your attention to some points of detail in the fittings for carrying away waste water.
First, with regard to lavatories. As already mentioned, every waste pipe from the sink should deliver in the open air, but it should have an opening at its upper end as well as at its lower end, to permit a current of air to pass through it; and it should be trapped close to the sink, so as to prevent the air being drawn through it into the house; otherwise you will have an offensive smell from it. I will give you an instance: At the University College Hospital there are some fire tanks on the several landings. The water flows in every day, and some flows away through the waste pipes; these pipes, which carry away nothing but fresh London water to empty in the yard, got most offensive simply from the decomposition of the sediment left in them by the London water passing through them day after day. A small waste pipe from a bath or a basin is a great inconvenience. It should be of a size to empty rapidly—for a bath 2 inches, a basin 1½, inches. There are other points connected with fittings to which I would call your attention. The great inventive powers which have been applied to the w.c. pan are an evidence of how unsatisfactory they all are. Many kinds of water-closet apparatus and of so-called "traps" have a tendency to retain foul matter in the house, and therefore, in reality, partake more or less of the nature of small cesspools, and nuisances are frequently attributed to the ingress of "sewer gas" which have nothing whatever to do with the sewers, but arise from foul air generated in the house drains and internal fittings. The old form was always made with what is called a D-trap. Avoid the D-trap. It is simply a small cesspool which cannot be cleaned out. Any trap in which refuse remains is an objectionable cesspool. It is a receptacle for putrescrible matter. In a lead pipe your trap should always be smooth and without corners. The depth of dip of a trap should depend on the frequency of use of the trap. It varies from ½ inch to 3½ inches. When a trap is rarely used, the dip should be deeper than when frequently used, to allow of evaporation. In the section of a w.c. pan, the object to be attained is to take that form in which all the parts of the trap can be easily examined and cleaned, in which both the pan and the trap will be washed clean by the water at each discharge, and in which the lever movement of the handle will not allow of the passage of sewer gas.
And now just a few personal remarks in conclusion. I have had much pleasure in giving to my old brother officers in these lectures the result of my experience in sanitary science. In doing so, I desired especially to impress on you who are just entering your profession the importance of giving effect to those principles of sanitary science which were left very much in abeyance until after the Crimean war. I have not desired to fetter you with dogmatic rules, but I have sought, by general illustrations, to show you the principles on which sanitary science rests. That science is embodied in the words, pure earth, pure air, pure water. In nature that purity is insured by increasing movement. Neither ought we to stagnate. In the application of these principles your goal of to-day should be your starting-post for to-morrow. If I have fulfilled my object, I shall have interested you sufficiently to induce some of you at least to seize and carry forward to a more advanced position the torch of sanitary science.
The view that vaccinia is attenuated variola is well known, and has been extensively adopted by English physicians. If the opinion means anything, it signifies that the two diseases are in essence one and the same, differing only in degree. M. Pasteur has recently found that by passing the bacillus of "rouget" of pigs through rabbits, he can effect a considerable attenuation of the "rouget" virus. He has shown that rabbits inoculated with the bacillus of rouget become very ill and die, but if the inoculations be carried through a series of rabbits, a notable modification results in the bacillus. As regards the rabbits themselves, no favorable change occurs—they are all made very ill, or die. But if inoculation be made on pigs from those rabbits, at the end of the series it is found that the pigs have the disease in a mild form, and, moreover, that they enjoy immunity from further attacks of "rouget." This simply means that the rabbits have effected, or the bacillus has undergone while in them, an attenuation of virulence. So the pigs may be "vaccinated" with the modified virus, have the disease in a mild form, and thereafter be protected from the disease. The analogy between this process and the accepted view of vaccinia is very close. The variolous virus is believed to pass through the cow, and there to become attenuated, so that inoculations from the cow-pox no longer produce variola in the human subject, but cow-pox (vaccinia). As an allied process, though of very different result, mention may be made of some collateral experiments of Pasteur, also performed recently. Briefly, it has been discovered that the bacillus of the "rouget" of pigs undergoes an increase of virulence by being cultivated through a series of pigeons. Inoculations from the last of the series of pigeons give rise to a most intense form of the disease. It will be remembered that the discovery of the bacillus of "rouget" of pigs was due to the late Dr. Thuillier.—Lancet.
Very few persons realize the necessity of cultivating an equable temper and of avoiding passion. Many persons have met with sudden death, the result of a weak heart and passionate nature.
This is a subject which will bear line upon line and precept upon precept. Many persons have availed themselves of the cheap and easy means which we have formerly recommended in the shape of the daily use of absorbents, but a larger number strangely neglect these means, and foul air and impure drainage are followed by disease and death. Sifted coal ashes and road dust are the remedy, kept in barrels till needed for use. A neat cask, filled with these absorbents, with a long-handled dipper, is placed in the closet, and a conspicuous placard directs every occupant to throw down a dipper full before leaving. The vaults, made to open on the outside, are then as easily cleaned twice a year as sand is shoveled from a pit. No drainage by secret, underground seams in the soil can then poison the water of wells; and no effluvia can arise to taint the air and create fevers. On this account, this arrangement is safer and better than water-closets. It is far cheaper and simpler, and need never get out of order. There being no odor whatever, if properly attended to, it may be contiguous to the dwelling. An illustration of the way in which the latter is accomplished is shown by Fig. 1, which represents a neat addition to a kitchen wing, with hip-roof, the entrance being either from the kichen through an entry, or from the outside as shown by the steps. Fig. 2 is a plan, showing the double walls with interposed solid earth, to exclude any possible impurity from the cellar in case of neglect. The vaults may be reached from the outside opening, for removing the contents. In the whole arrangement there is not a vestige of impure air, and it is as neat as a parlor; and the man who cleans out the vaults say it is no more unpleasant than to shovel sand from a pit.

Fig. 1.
Those who prefer may place the closet at a short distance from the house, provided the walk is flanked on both sides with evergreen trees; for no person should be compelled to encounter drifting snows to reach it—an exposure often resulting in colds and sickness. A few dollars are the whole cost, and civilization and humanity demand as much.—Country Gentleman.

Fig. 2.

Fig. 3.
Chemistry has made astounding strides since the days of the sixteenth century, when Italian malice and intrigue swayed all Europe, and poisons and poisoners stalked forth unblushingly from cottage and palace; when crowned and mitered heads, prelates, noblemen, beneficed clergymen, courtiers, and burghers became Borgias and De Medicis in hideous infamy in their greed for power and affluence; and when the civilized world feared to retire to rest, partake of the daily repast, inhale the odors of flower or perfume, light a wax taper, or even approach the waters of the holy font. These horrors have been laid bare, their cause and effect explained, and tests discovered whereby they may be detected, providing the law with a shield that protects even the humblest individual. Great as the science is, however, it is yet far removed from perfection; and there are substances so mysterious, subtle, and dangerous as to set the most delicate tests and powerful lenses at naught, while carrying death most horrible in their train; and chief of these are the products of Nature's laboratory, that provides some sixty species of serpents with their deadly venom, enabling them in spite of sluggish forms and retiring habits to secure abundant prey and resent mischievous molestation. The hideous trigonocephalus has forced the introduction and acclimation of the mongoose to the cane fields of the Western tropics; the tiger snake (Heplocephalus curtus) is the terror of Australian plains; the fer de lance (Craspedocephalus lanceolatus) renders the paradise of Martinique almost uninhabitable; the tic paloonga (Daboii russelli) is the scourge of Cinghalese coffee estates; the giant ehlouhlo of Natal (unclassified) by its presence secures a forbidding waste for miles about; the far famed cobra de capello (Naja tripudians) ravages British India in a death ratio of one-seventh of one per cent. of the dense population, annually, and is the more dangerous in that an assumed sacred character secures it largely from molestation and retributive justice; and in Europe and America we have vipers, rattlesnakes, copperheads, and moccasins (viperinæ and crotalidæ), that if a less degree fatal, are still a source of dread and annoyance. All these forms exhibit in general like ways and like habits, and if the venom of all be not generically identical, the physiological and toxicological phenomena arising therefrom render them practically and specifically so. Indeed, their attributes appear to be mere modifications arising from difference in age, size, development, climate, latitude, seasons, and enforced habits, aided perhaps by idiosyncrasies and the incidents and accidents of life.
In delicacy of organism and perfection in mechanism and precision, the inoculatory apparatus of the venomous reptile excels the most exquisite appliances devised by the surgical implement maker's art, and it is doubtful whether it can ever be rivaled by the hand of man. The mouth of the serpent is an object for the closest study, presenting as it does a series of independent actions, whereby the bones composing the upper jaw and palate are loosely articulated, or rather attached, to one another by elastic and expansive ligaments, whereby the aperture is made conformatory, or enlarged at will—any one part being untrammeled and unimpeded in its action by its fellows. The recurved, hook-like teeth are thus isolated in application, and each venom fang independent of its rival when so desired, and it becomes possible to reach points and recesses seemingly inaccessible.
The fangs proper, those formidable weapons whose threatening presence quails the boldest opponent, inspires the fear of man, and puts to flight the entire animal kingdom—lions, tigers, and leopards, all but the restless and plucky mongoose—and whose slightest scratch is attended with such dire results, are two in number, one in each upper jaw, and placed anteriorly to all other teeth, which they exceed by five or six times in point of size. Situated just within the lips, recurved, slender, and exceeding in keenness even the finest of cambric needles, they are penetrated in their longitudinal diameter by a delicate, hair-like canal opening into a groove at the apex, terminating on the anterior surface in an elongated fissure. As the canal is straight, and the tooth falciform, a like groove or longitudinal fissure is formed at the base, where it is inclosed by the aperture of the duct that communicates with the poison apparatus.
At the base of each fang, and extending from a point just beneath the nostril, backward two-thirds the distance to the commissure of the mouth, is the poison gland, analogous to the salivary glands of man, that secretes a pure, mucous saliva, and also a pale straw-colored, half-oleaginous fluid, the venom proper. Within the gland, venom and saliva are mingled in varying proportions coincidently with circumstances; but the former slowly distills away and finds lodgment in the central portion of the excretory duct, that along its middle is dilated to form a bulb-like receptacle, and where only it may be obtained in perfect purity.
When the reptile is passive, the fangs are arranged to lie backward along the jaw, concealed by the membrane of the mouth, and thus offer no impediment to deglutition. Close inspection, however, at once reveals not only their presence, but also several rudimentary ones to supply their place in case of injury or accident. The bulb of the duct, too, is surrounded by a double aponeurotic capsule, of which the outermost and strongest layer is in connection with a muscle by whose action both duct and gland are compressed at will, conveying the secretion into the basal aperture of the fang, at the same time refilling the bulb.
When enraged and assuming the offensive and defensive, the reptile draws the posterior portion of its body into a coil or spiral, whereby the act of straightening, in which it hurls itself forward to nearly its full length, lends force to the blow, and at the same instant the fangs are erected, drawn forward in a reverse plane, permitting the points to look outward beyond the lips. The action of the compressor muscles is contemporaneous with the blow inflicted, the venom being injected with considerable violence through the apical outlets of the fangs, and into the bottom of the wound. If the object is not attained, the venom may be thrown to considerable distances, falling in drops; and Sir Arthur Cunynghame in a recent work on South Africa relates that he was cautioned not to approach a huge cobra of six feet or more in length in its death agony, lest it should hurl venom in his eyes and create blindness; he afterward found that an officer of Her Majesty's XV. Regiment had been thus injured at a distance of forty-five feet, and did not recover his eyesight for more than a week.1
With the infliction of the stroke and expression of its venom, the creature usually attempts to reverse its fangs in the wound, thereby dragging through and lacerating the flesh; an ingenious bit of devilishness hardly to be expected from so low a form of organism; but its frequent neglect proves it by no means mechanical, and it frequently occurs that the animal bitten drags the reptile after it a short distance, or causes it to leave its fangs in the wound. Some serpents also, as the fer de lance, black mamba, and water moccasin, are apparently actuated by most vindictive motives, and coil themselves about the part bitten, clinging with leech-like tenacity and resisting all attempts at removal. Two gentlemen of San Antonio, Texas,2 who were bitten by rattlesnakes, subsequently asserted that after having inflicted all possible injury, the reptiles scampered away with unmistakable manifestations of pleasure. "Snakes," remarked one of the victims, "usually glide smoothly away with the entire body prone to the ground; but the fellow I encountered traveled off with an up and down wave-like motion, as if thrilled with delight, and then, getting under a large rock where he was safe from pursuit, he turned, and raising his head aloft waved it to and fro, as if saying. 'Don't you feel good now?' It would require but a brief stretch of the imagination to constitute that serpent a veritable descendant of the old Devil himself."
As the first blow commonly exhausts the receptacle of the duct, a second (the venom being more or less mingled and diluted by the salivary secretion) is comparatively less fatal in results; and each successive repetition correspondingly inoffensive until finally nothing but pure mucus is ejected. Nevertheless, when thoroughly aroused, the reptile is enabled to constantly hurl a secretion, since both rage and hunger swell the glands to enormous size, and stimulate to extraordinary activity—a fortuitous circumstance to which many an unfortunate is doubtless indebted for his life. The removal of a fang, however, affects its gland to a degree that it becomes almost inoperative, until such a time as a new tooth is grown, and again calls it into action, which is commonly but a few weeks at most; and a person purchasing a poisonous serpent under the supposition that it has been rendered innocuous, will do well to keep watch of its mouth lest he be some time taken unaware. It may be rendered permanently harmless, however, by first removing the fang, and then cauterizing the duct by means of a needle or wire, heated to redness; when for experimental purposes the gland may be stimulated, and the virus drawn off by means of a fine-pointed syringe.
In what the venom consists more than has already been described, we are not permitted to know. It dries under exposure to air in small scales, is soluble in water but not in alcohol, slightly reddens litmus paper, and long retains its noxious properties. It has no acrid or burning taste, and but little if any odor; the tongue pronounces it inoffensive, and the mucous surface of the alimentary track is proof against it, and it has been swallowed in considerable quantities without deleterious result—all the poison that could be extracted from a half dozen of the largest and most virile reptiles was powerless in any way to affect an unfledged bird when poured into its open beak. Chemistry is not only powerless to solve the enigma of its action, and the microscope to detect its presence, but pathology is at fault to explain the reason of its deadly effect; and all that we know is that when introduced even in most minute quantities into an open wound, the blood is dissolved, so to speak, and the stream of life paralyzed with an almost incredible rapidity. Without test or antidote, terror has led to blind, fanatical empiricism, necessarily attended with no little injury in the search for specifics, and it may be reasonably asserted that no substance can be named so inert and worthless as not to have been recommended, or so disgusting as not to have been employed; nor is any practice too absurd to find favor and adherents even among the most enlightened of the medical profession, who have rung all the changes of the therapeutical gamut from serpentaria3 and boneset to guaco, cimicifugia, and Aristolochia India to curare, alum, chalk, and mercury to arsenic; and in the way of surgical dressings and appliances everything from poultices of human fæces,4 burying the part bitten in fresh earth,5 or thrusting the member or entire person into the entrails of living animals, to cupping, ligatures, escharotics, and the moxa.
Although the wounds of venomous serpents are frequently attended with fatal results, such are not necessarily invariable. There are times and seasons when all reptiles are sluggish and inactive, and when they inflict comparatively trifling injuries; and the poison is much less virulent at certain periods than others—during chilling weather for instance, or when exhausted by repeated bites in securing sustenance. Young and small serpents, too, are less virile than large and more aged specimens, and it has likewise been observed that death is more apt to follow when the poison is received at the beginning or during the continuance of the heated term.
The action of the venom is commonly so swift that its effects are manifested almost immediately after inoculation, being at once conveyed by the circulatory system to the great nervous centers of the body, resulting in rapid paralysis of such organs as are supplied with motive power from these sources; its physiological and toxicological realizations being more or less speedy accordingly as it is applied near or remote from these centers, or infused into the capillary or the venous circulation. Usually, too, an unfortunate experiences, perhaps instantaneously, an intense burning pain in the member lacerated, which is succeeded by vertigo, nausea, retching, fainting, coldness, and collapse; the part bitten swells, becomes discolored, or spotted over its surface with livid blotches, that may, ultimately, extend to the greater portion of the body, while the poison appears to effect a greater or less disorganization of the blood, not by coagulating its fibrine as Fontana surmised, but in dissolving, attenuating, and altering the form of its corpuscles, whose integrity is so essential to life, causing them to adhere to one another, and to the walls of the vessels by which they are conveyed; being no longer able to traverse the capillaries, œdema is produced, followed by the peculiar livid blush. Shakespeare would appear to have had intuitive perception of the nature of such subtle poison, when he caused the ghost to describe to Hamlet
"The leprous distillment whose effect
Bears such an enmity to the blood of man
That swift as quicksilver, it courses through
The natural gates and alleys of the body
And with sudden vigor it doth posset
And curd like eager droppings into milk,
The thin and wholesome blood: so did it mine
And a most instant tetter marked about
Most lazar like, with vile and loathsome crust
All my smooth body."
It is not to be supposed, however, that all or even a major portion of the blood disks require to be changed or destroyed to produce a fatal result, since death may supervene long before such a consummation can be realized. It is the capillary circulation that suffers chiefly, since the very size and caliber of the heart cavities and trunk vessels afford them comparative immunity. But of the greatly dissolved and disorganized condition of the blood that may occur secondarily, we have evidences in the passive hæmorrhages that attack those that have recovered from the immediate effects of serpent poisoning, following or coincident with subsidence of swelling and induration; and, as with scurvy, bleeding may occur from the mouth, throat, lungs, nose, and bowels, or from ulcerated surfaces and superficial wounds, or all together, defying all styptics and hæmastatics. In a case occurring under the care of Dr. David Brainerd in the Illinois General Hospital,6 blood flowed from the gums in great profusion, and on examination was found destitute, even under the microscope, of the faintest indications of fibrine—the principle upon which coagulation depends. The breath, moreover, gave most sickening exhalations, indicative of decomposition, producing serious illness in those exposed for any length of time to its influence. We may add, among other sequelæ, aside from death produced through primary and secondary effects, paralysis, loss of nerve power, impotence, hæmorrhage, even mortification or gangrene.
The failure in myotic power of the heart and in the muscles of respiration through reflex influence of par vagum and great sympathetic nerves, whereby pulmonary circulation is impeded, are among the earliest of phenomena. Breathing becoming retarded and laborious, the necessary supply of oxygen is no longer received, and blood still venous, in that it is not relieved of its carbon, is returned through the arteries, whereby the capillaries of the brain are gorged with a doubly poisoned circulation, poisoned by both venom and carbon. In this we have ample cause for the attending train of symptoms that, beginning with drowsiness, rapidly passes into stupor followed by profound coma and ultimate dissolution—marked evidence of the fact that a chemical agent or poison may produce a mechanical disease; and autopsical research reveals absolutely nothing save the general disorganization of blood corpuscles, as already noted.
Taking circumstantial and pathological evidences into consideration, the hope of the person thus poisoned rests solely upon lack of vitality in the serpent and its venom, and in his personal idiosyncrasies, habits of life, condition of health, etc., and the varied chapters of accidents. To look for a specific, in any sense of the word, is the utmost folly! The action of the poison and its train of results follow inoculation in too swift succession to be overtaken and counteracted by any antidote, supposing such to be a possible product, even if administered hypodermically. We have evidence of this in iodic preparations, iodine being the nearest approach to a perfect antidote that can be secured by mortal skill, inasmuch, if quickly injected into the circulation, it retards and restrains the disorganizing process whereby the continuity of the blood corpuscles is lost; moreover, it is a marked antiseptic, favors the production of adhesive inflammation, whereby lymph is effused and coagulated about the bitten part, and absorption checked, and the poison rendered less diffusible. But when a remedy is demanded that shall restore the pristine form, functions, and energy of the disorganized globules, man arrogates to himself supernal attributes whereby it becomes possible not only to save and renew, but to create life; and we can scarce expect science or even accident (as some expect) to even rival Nature and set at defiance her most secret and subtle laws. Such, however, is the natural outcropping of an ignorant teaching and vulgar prejudice that feeds and clothes the charlatan and ascribes to savage and uncultured races an occult familiarity with pathological, physiological, and remedial effect unattainable by the most advanced sciences; and whereby the Negro, Malay, Hindoo, South Sea Islander, and red man are granted an innate knowledge of poisons and their antidotes more than miraculous. A reward of more than a quarter of a century's standing, and amounting to several thousand pounds, is offered by the East India Government for the discovery of a specific for the bite of the cobra, and for which no claims have ever been advanced; and the "snake charmers" or jugglers in whom this superior knowledge is supposed to center are so well aware of the futility of specifics, and the risk to which they are subjected, that few venture to ply their calling without a broad-bladed, keen-edged knife concealed about the person as a means of instant amputation in case of accident. Medical and scientific associations of various classes, in Europe, Australia, America, even Africa, and the East and West Indies, have repeatedly held out the most tempting lures, and indulged in exhaustive and costly experimentation in search of specifics for the wounds of vipers, cobras, rattlesnakes, and the general horde of venomous reptiles; and all in vain. Even the saliva of man, as well as certain other secretions, is at times so modified by anger as to rival the venom of the serpent in fatality, and it has no specific; and a careful analysis of the pathological relations of such poison proves that further experimentation and expectation is as irrational as the pursuit of the "philosopher's stone."
It is an indisputable fact, however, that there are individuals whose natural or acquired idiosyncrasies permit them to be inoculated by the most venomous of reptiles without deleterious or unpleasant results, and Colonel Matthews Taylor7 knew several persons of this character in India, and who regarded the bite of the cobra or tic paloonga with nearly as much indifference as the sting of a gnat or mosquito. Again, in 1868, Mr. Drummond, a prominent magistrate of Melbourne, Australia,8 met with untimely death under circumstances that attracted no little attention. An itinerant vender of nostrums had on exhibition a number of venomous reptiles, by which he caused himself to be successively bitten, professing to secure immunity by reason of a secret compound which he offered for sale at a round figure. Convinced that the fellow was an imposter, and his wares valuable only as a means of depleting the pockets of the credulous, Mr. Drummond loudly asserted the inefficacy of the nostrum, as well as the innocuousness of the reptiles, which he assumed to be either naturally harmless, or rendered so by being deprived of their fangs; and in proof thereof insisted upon being himself bitten. To this experiment the charlatan was extremely averse, offering strenuous objections, and finally conveyed a point blank refusal. But Mr. Drummond's demands becoming more imperative, and observing that his hesitancy impressed the audience as a tacit acknowledgment of the allegations, he finally consented, and placed in the hands of the magistrate a tiger snake, which he deemed least dangerous, and which instantly struck the gentleman in the wrist. The usual symptoms of serpent poisoning rapidly manifested themselves, followed by swelling and lividity of the part, obstructed circulation and respiration, and coma; and in spite of the use of the vaunted remedy and the attentions of physicians the result was most fatal. The vender subsequently conceded the worthless character of his nostrum, declaring that be enjoyed exemption from the effects of of serpent poison by virtue of recovery from a severe inoculation in early life; and he further added he knew "some people who were born so," who put him "up to this dodge" as a means of gaining a livelihood.
It is a general supposition that such immunity, when congenital, is acquired in utero by the inoculation of the parent, and Oliver Wendell Holmes' fascinating tale of "Elsie Venner" embodies many interesting features in this connection. Admitting such inoculation may secure immunity, recent experiments in the action of this as well as kindred poisons give no grounds for believing it at all universal or even common, but as depending upon occult physiological or accidental phenomena. For instance, the writer and his father are equally proof against the contagion and inoculation of vaccination and variola, in spite of repeated attempts to secure both, while their respective mothers suffered terribly with smallpox at periods subsequent to the birth of their children; and it is well understood that there are striking analogies between the poisons of certain contagious fevers and those of venomous serpents, inasmuch as one attack conveys exemption from future ones of like character. In other words, many animal poisons, as well as the pathological ones of smallpox, measles, scarlatina, whooping cough, etc., have the power of so modifying the animal economy, when it does not succumb to their primary influence, as to ever after render it all but proof against them. Witness, for instance, the ravages of the mosquito, that in certain districts punishes most terribly all new comers, and who after a brief residence suffer little, the bite no longer producing pain or swelling.
Regarding the supposed correlation of serpent poison and the septic ferments of certain tropical and infectious fevers, they are not necessarily always contagious. It may be interesting to note that one Doctor Humboldt in 1852,9 in an essay read before the Royal Academy of Medical Sciences at Havana, assumed their proximate identity, and advocated the inoculation of the poison of one as a prophylactic of the other. He claimed to have personally inoculated numberless persons in New Orleans, Vera Cruz, and Cuba with exceedingly dilute venom, thereby securing them perfect immunity from yellow fever. Aside from the extraordinary nature of the statement, the fact that the doctor affirmed, he had never used the virus to an extent sufficient to produce any of its toxic symptoms, cast discredit over the whole, and proofs were demanded and promised. This was the last of the subject, however, which soon passed into oblivion, though whether from failure on the part of the medico to substantiate his assertions, or from the inanition of his colleagues, it is difficult to determine, though the presumption is largely in favor of the former. Nevertheless, it is worthy of consideration and exhaustive experimentation, since it is no less plausible than the theory which rendered the name of Jenner famous.
Outside of the transfusion of blood, for which there are strong reasons for believing would be attended with happy results, the sole remedies available in serpent poisoning are measures looking to the prompt cutting off of the circulation of the affected part, and the direct stimulation of the heart's action and the respiratory organs, until such a time as Nature shall have eliminated all toxical evidences; and these must necessarily be mechanical. Alcoholic stimulants are available only as they act mechanically in sustaining cardiac and pulmonary activity, and where their free use is prolonged efficacy is quickly exhausted, and they tend rather to hasten a fatal result. They are devoid of the slightest antidotal properties, and in no way modify the activity of the venom; and an intoxicated person, so far from enjoying the immunity with which he is popularly credited, is far more apt to succumb to the virus than him of unfuddled intellect. The reasons are obvious. Theoretically, for purely physiological and therapeutic reasons amyl nitrite should be of incalculable value, though I have no knowledge of its use in this connection, since its vapor when inhaled is a most powerful stimulator of cardiac action, and when administered by the mouth it is unapproached in its control of spasmodically contracted vessels and muscles. The relief its vapor affords in the collapse of chloroform anæsthesia, in which dissolution is imminent from paralyzed heart's action, is instantaneous, and its effect upon the spasmodic and suffocative sensations of hydrophobia are equally prompt. Moreover, without further discussing its physiological functions, it is the nearest approach to an antidote to certain zymotic poisons, and especially valuable in warding off and aborting the action of the ferment that gives rise to pertussis, or whooping cough. Iodide of ethyl is another therapeutical measure that is worthy of consideration; and iodoform in the treatment of the sequelæ incident to recovery.
The native population of India, in spite of the contrary accepted opinion, are remarkably free from resort to nostrums that lay claim to being antidotes. The person inoculated by the cobra is at once seized by his friends, and constant and violent exercise enforced, if necessary at the point of stick, and severe and cruel (but nevertheless truly merciful) beatings are often a result. In this we see a direct application, without in the least understanding them, of the rules laid down to secure certain physiological results, as for the relief of opium and morphia narcosis, which serpent poisoning almost exactly resembles. The late Doctor Spillsbury (Physician-General of Calcutta),10 while stationed at Jubulpore, Central India, was informed late one evening that his favorite horse keeper had just been dangerously bitten by a cobra of unusual size, and therefore more than ordinarily venomous. He at once ordered his gig, and in spite of the wails and protestations of the sufferer and his friends, with whom a fatal result was already a foregone conclusion, the doctor caused his wrists to be bound firmly and inextricably to the back of the vehicle; then assuring the man if he did not keep up he would most certainly be dragged to death, he mounted to his seat and drove rapidly away. Three hours later, or a little more, he returned, having covered nearly thirty miles without cessation or once drawing rein. The horse keeper was found bathed in profuse perspiration, and almost powerless from excessive fatigue. Eau de luce, an aromatic preparation of ammonia, was now administered at frequent and regular intervals as a diffusible stimulant, and moderate though constant exercise enforced until near dawn, when the sufferer was found to be completely recovered.
The value of violent and profuse cutaneous transpiration, thereby securing a rapidly eliminating channel for discharging poison from the system, is well known; in no other way can action be had so thorough, speedy, and prompt. Captain Maxwell11 tells us it was formerly the custom among the Irish peasantry of Connaught, when one manifested unmistakable evidences of hydrophobia, to procure the death of the unfortunate by smothering between two feather beds. In one instance, after undergoing this treatment, the supposed corpse was seen, to the horror and surprise of all who witnessed it, to crawl from between the bolsters, when he was found to be entirely free from his disorder; the beds, however, were saturated through and through with the perspiration that escaped the body in the intensity of his mortal agony. More recently a French physician,12 recognizing the incubatory stage of rabies in his own person, resolved upon suicide rather than undergo its attendant horrors. The hot bath was selected for the purpose, with a view of gradually increasing its temperature until syncope should be induced, which he hoped would be succeeded by death. To his surprise, however, as the temperature of the water rose, his sensations of distress improved; and the very means chosen for terminating life became instead his salvation, restoring to perfect health. Again, Dr. Peter Hood13 relates that a blacksmith residing in the neighborhood of his country house was in high repute for miles about by reason of his cures of rabies. His remedy consisted simply in forcing the person bitten to accompany him in a rapid walk or trot for twenty miles or more, after which he administered copious draughts of a hot decoction of broom tops, as much for its moral effect as for its value in sustaining and prolonging established diaphoresis.
Though the pathological conditions of hydrophobia and serpent poisoning are by no means parallel, the rationale of the methods employed in opening the emunctories of the skin are the same; and were it not for its powerful protracting effect and depressing action upon the heart, we might perhaps secure valuable aid from jaborandi (pilocarpus). since it stimulates profusely all the secretions; as it is, more is to be hoped for in the former disorder than in the latter. It would be desirable also to know what influence the Turkish bath might exert, and it would seem worthy at least of trial.
Presumably the Natal ombozi, or spitting cobra, Naja hæmachites, who is fully equal to the feat described.
On the authority of N.A. Taylor and H.F. McDaniels.
Serpentaria derives its name from its supposed antidotal properties, and guaco and Aristolochia India enjoyed widely heralded but rapidly fleeting popularity in the two Indias for a season. Tanjore pill (black pepper and arsenic) is still extensively lauded in districts whose serpents possess little vitality, but is every way inferior to iodine.
A Chinese remedy—as might be imagined.
Still extensively practiced, the first in Michigan, the latter in Missouri and Arkansas, and inasmuch as one is cooling and soothing, and the other slightly provocative of perspiration in the part, are not altogether devoid of plausibility.
Medical Independent, 1855.
Vide report to Prof. J. Henry Bennett.
London Times.
London Lancet.
London Lancet.
Wild Sports or the West.
L'Union Medicale—name withheld by request of the gentleman.
London Lancet.
To the Editor of the Scientific American:
Given latitude N. 40° 51', declination N. 20° 25', sun 18° below the horizon. To find the time of twilight at that place. In the accompanying diagram, E Q = equinoctial, D D = parallel of declination, Z S N a vertical circle, H O = the horizon, P = North pole, Z = zenith, and S = the sun, 18° below the horizon, H O, measured on a vertical circle. It is seen that we have here given us the three sides of a spherical triangle, viz., the co-latitude 49° 9', the co declination 69° 35', and the zenith distance 108°, with which to compute the angle Z P S. This angle is found to be 139° 16' 5.6". Dividing this by 15 we have 9 h. 16 m. 24.4 s., from noon to the beginning or termination of twilight. Now, in the given latitude and declination, the sun's center coincides with the horizon at sunset (allowance being made for refraction), at 7 h. 18 m. 29.3 s. from apparent noon. Then if we subtract 7 h. 18 m. 29.3 s. from 9 h. 16 m. 24.4 s., we shall have 1 h. 57 m. 55.1 s. as the duration of twilight. But the real time of sunset must be computed when the sun has descended about 50' below the horizon, at which point the sun's upper limb coincides with the line, H O, of the horizon. This takes place 7 h. 16 m. 30.8 s. mean time. It is hoped the above will be a sufficient answer to L.N. (See SCIENTIFIC AMERICAN of Dec. 1, 1883, p. 346.)
B.W H.

The distinguished anthropologist M. De Quatrefages has recently spoken before the Academy of Sciences in Paris, and we extract from his discourse on "Fossil Man and Savages" some notes reported in the Journal d'Hygiene: "It is in Oceanica and above all in Melanesia and in Polynesia where I have looked for examples of savage races. I have scarcely spoken of the Malays except to bring to the surface the features which distinguish them among the ethnic groups which they at times touch, and which in turn frequently mingle with them. I have especially studied the Papuans and Negritos. The Papuans are an exclusively Pelasgic race, that many anthropologists consider as almost confined to New Guinea and the neighboring archipelago. But it becomes more and more manifest that they have had also periods of expansion and of dissemination.
"On one side they appear as conquerors in some islands of Micronesia; on the other we have shown—M. Hamy and myself—that to them alone can be assigned the skulls found in Easter Island and in New Zealand. They have hence touched the east and south, the extremities of the maritime world.
"The Negritos, scarcely known a few years ago, and to-day confounded with the Papuans by some anthropologists, have spread to the west and northwest.
"They have left unmistakable traces in Japan; we find them yet in the Philippines and in many of the islands of the Malay archipelago; they constitute the indigenous population of the Andaman Islands, in the Gulf of Bengal. Indeed, they have formerly occupied a great part of the two peninsulas of India, and I have elsewhere shown that we can follow their steps to the foot of the Himalayas, and beyond the Indus to Lake Zerah. I have only sketched here the history of this race, whose representatives in the past have been the type of the Asiatic pygmies of whom Pliny and Ctesias speak, and whose creoles were those Ethiopians, black and with smooth hair, who figured in the army of Xerxes.
"I have devoted two long examinations to another black race much less important in numbers and in the extent of their domain, but which possess for the anthropologist a very peculiar interest and a sad one. It exists no more; its last representative, a woman, died in 1877. I refer to the Tasmanians.
"The documents gathered by various English writers, and above all by Bouwick, give numerous facts upon the intellectual and moral character of the Tasmanians. The complete destruction of the Tasmanians, accomplished in at most 72 years over a territory measuring 4,400 square leagues, raises a sorrowful and difficult question. Their extinction has been explained by the barbarity of the civilized Europeans, and which, often conspicuous, has never been more destructively present than in their dealings with the Tasmanians. But I am convinced that this is an error. I certainly do not wish to apologize for or extenuate the crimes of the convicts and colonists, against which the most vigorous protests have been raised both in England and in the colony itself, but neither war nor social disasters have been the principal cause of the disappearance of the Tasmanians. They have perished from that strange malady which Europeans have everywhere transplanted in the maritime world, and which strikes down the most flourishing populations.
"Consumption is certainly one of the elements of this evil. But if it explains the increase of the death rate, it does not explain the diminution of births. Both these phenomena are apparent. Captain Juan has seen at the Marquesas, in the island of Taio-Hahe, the population fall in three years from 400 souls to 250. To offset this death-rate, we find only 3 or 4 births. It is evident that at this rate populations rapidly disappear, and it is the principal cause of the disappearance of the Tasmanians."
The lecturer, after alluding to his studies in Polynesia, speaks of his interest in the western representatives of these races and his special studies in New Zealand, and referring to the latter continues:
"One of the most important results of the labors in this direction has been to establish the serious value of the historical songs preserved, among the Maoris, by the Tohungus, or wise men, who represent the Aiepas of Tahiti. Thanks to these living archives, we have been able to reconstruct a history of the natives, to fix almost the epoch of the first arrival of the Polynesians in that land, so distant from their other centers of population, and to determine their point of departure."
Other studies refer to peoples far removed from the preceding. One is devoted to the Todas, a very small tribe of the Nilgherie Hills, who by their physical, intellectual, and social characteristics differ from all the other races of India. "The Todas burn their dead, and we possess none of their skulls. But thanks to M. Janssen, who has lived among them, I have been able to fill up this gap."
The last subject referred to by the lecturer was the Finns of Finland, whose study reveals the fact that they embrace two ethnic types, one of which, the Tavastlanda, belongs without doubt to the great Finnish family, spread over Asia as well as in Europe, and a second, the Karelien, whose representatives possessed the poetic instinct, which causes M. Quatrefages to ally them with the Aryan race, "to whom we owe all our epics, from the Ramayana, Iliad, and Eneas to the poems of to-day."

MONUMENT OF PHILOPAPPUS, ATHENS.
Although so much has been written about Athens, there is one striking feature which has been little noticed. This is the beautiful colors of the Parthenon and Erectheum, the soft mellow yellow which is due to age, and which gives these buildings when lighted by the setting sun, and framed by the purple hills beyond, the appearance of temples of gold.

TOMB FROM THE CERAMICUS, ATHENS.
Until A. D. 1687 the Parthenon remained almost perfect, and then not age but a shell from the Venetians falling upon Turkish powder, made a rent which, when seen from below, makes it look like two temples.
The Temple of Theseus is the best preserved and one of the oldest of the buildings of ancient Athens. It was founded in B. C. 469, and is a small, graceful, and perfect Doric temple. Having served as a Christian church, dedicated to St. George, it escaped injury. It contains the beautiful and celebrated tombstone of Aristion, the warrior of Marathon.
All that remains of Hadrian's great Temple to Zeus (A. D. 132) are a few standing columns in an open space, which are imposing from their isolated position.

OLD CORINTH AND THE ACROCORINTHUS.
The monument of Philopappus is thought to have been begun A. D. 110, and for a king in Asia Minor.

TEMPLE OF JUPITER, ATHENS.
The Tower of the Winds, erected by Andronicus Cyrrhestes about B. C. 100, contained a weathercock, a sun dial, and a water clock. It is an octagonal building, with reliefs on the frieze, representing by appropriate figures the eight winds into which the Athenian compass was divided.

THE PANTHENON, ATHENS.
In the Street of Tombs the monuments are lying or standing as they were found; each year shows many changes in Athens, a tomb last year in the Ceramicus may be this year in a museum. There is a great similarity in all these tombstones; no doubt they were made beforehand, as they seldom suggest the idea of a portrait. They generally represent an almost heroic leave-taking. The friends standing in the act of saying farewell are receiving presents from the dead; often in the corner is a crouching slave, and frequently a dog.

ERECTEUM, ATHENS.
Beyond the river Kephiesus, the hill of Colonus, and the groves of the Academy, is the Pass of Daphne, which was the road to Eleusis, and along which passed the annual sacred processions in the days of the Mysteries. Cut there in the rock are the niches for the votive offerings. This dark Daphne Pass seems still to possess an air of mystery which is truly in keeping with the rites which were once observed there.

NICHES FOR VOTIVE OFFERINGS ON THE SACRED WAY TO ELEUSIS.

TEMPLE OF CORINTH, FROM THE MONUMENT OF PHILOPAPPUS.
From several points in Athens, on very clear days, may be seen the great rock fort Acrocorinthus, which is directly above the site of ancient Corinth. It is now a deserted fort; the Turkish drawbridge and gate stand open and unused. There are on it remains of a Turkish town; at one time it was one of the strongest and most important citadels in Greece. In the middle of the almost deserted, wretched, straggling village of Old Corinth stand seven enormous massive columns. These are all that remain of the Temple, and indeed of ancient Corinth. The pillars, of the Doric order, are of a brown limestone, not of the country. The Turks and earthquakes have destroyed Old Corinth, and driven the inhabitants to New Corinth, about one hour and a half's drive from the Gulf.—London Graphic.

TEMPLE OF THESEUS, ATHENS.

TOMBSTONE IN THE CERAMICUS, ATHENS.
The Spanish Court at the late Fisheries Exhibition was large and well furnished, there being several characteristic models of vessels. No certain figures can be obtained of the results of the whole fishing industry of Spain. It is, however, estimated that 14,202 boats, with a tonnage of 51,397 tons, were employed during the year 1882. They gave occupation to 59,974 men, and took about 78,000 tons of fish. The Government interfere in the fishing industry only to the extent of collecting and distributing information to the fishermen on subjects that are most likely to be of use to them in their calling. In consequence, principally no doubt of this wise policy, we find in Spain a vigorous and self-reliant class of men engaged in the fisheries. Some of the most interesting features in the Spanish Court were the contributions sent by the different fishermen's associations, and although the Naval Museum of Madrid supplied a collection of articles that would have formed a good basis in itself for an exhibition, yet in no other foreign court was the fishing industry of the nation better illustrated by private enterprise than in that of Spain. The fishing associations referred to are half benefit societies and half trading communities. That of Lequeito has issued a small pamphlet, from which we learn that this body consists of 600 members divided into three classes, viz., owners of vessels, patrons or men in charge, and ordinary fishermen. A board of directors, consisting of 22 owners, and 24 masters of boats or ordinary fishermen, has the sole control of the affairs of the society. The meetings are presided over by a majordomo elected triennially, and who must be the owner of a boat over 40 ft. long. This functionary receives a stipend of 8,000 reales a year, a sum which sounds more modest when expressed as 80l. He has two clerks, who are on the permanent staff, to help him. His duties are to keep the books with the assistance of the two clerks, to take charge of the sales of all fish, recover moneys, and make necessary payments. In stormy weather he gets up in a watch tower and guides boats entering the harbor. The atalayero is an official of the society, whose duty it is to station himself on the heights and signal by means of smoke, to the boats at sea, the movements of schools of sardines and anchovies or probable changes of weather. It is also the duty of this officer to weigh all the bream caught from the 1st November to the 31st of March, for which he receives a "gratuity" of 100 pesetas, or say 4l, sterling. Two other señeros, or signalmen, are told off to keep all boats in port during bad weather, and to call together the crews when circumstances appear favorable for sailing. Should there be a difference of opinion between these experts as to the meteorological probabilities, the patrons, or skippers of the fishing-boats, are summoned in council and their opinion taken by "secret vote with black and white balls." The decision so arrived at is irrevocable, and all are bound to sail should it be so decided; those who do not do so paying a fine to the funds of the association. The boats carrying the señeros fly a color by means of which they signal orders for sailing to the other vessels. These señeros appear to be the Spanish equivalent to the English admiral of a trawling fleet.
The boats used by these fishermen are fine craft; one or two models of them were shown in the Exhibition. A first-class boat will be of about the following dimensions: Length over all, 45 ft. to 50 ft.; breadth (extreme), 9 ft. to 10 ft. 3 in.; depth (inside), 3ft. 10 in. to 4 ft. The keel is of oak 6 in. by 3½ in. The stem and stern posts are also of oak. The planking is generally of oak or walnut—the latter preferred—and is 3 in. thick, the width of the planks being 4½ in. Many boats are now constructed of hard wood to the water line and Norway pine above.
The fastenings are galvanized nails 4½ in. long. The mast-partners and all the thwarts are of oak 1½ in. thick and 8 in. wide; the latter are fastened in with iron knees. Lee-board and rudder are of oak, walnut, or chestnut; the rudder extends 3½ ft. to 4 ft. below the keel, and, in giving lateral resistance, balances the lee-board, which is thrust down forward under the lee-bow. The rig consists of two lags, the smaller one forward right in the eyes of the boat; the mainmast being amidships. The lug sails are set on long yards, the fair-weather rig consisting of a fore lug with 120 square yards, and a main lug of 200 square yards. There are six shifts of sail, the main being substituted for the fore lug in turn as the weather increases, in a manner similar to that in which our own Mounts Bay boats reduce canvas. The fair weather rig requires two masts 42 ft. and 36 ft. long, and yards 28 ft. and 30 ft. long, respectively. The oars are 16 ft. long, and are pulled double-banked. Such a boat will cost 90 l. to 100 l. fitted for sea, of which sum the hull will represent rather more than half. These vessels generally remain at sea for twelve hours, from about three to four in the morning until the same time in the evening. Tunny, merluza (a species of cod), and bream are the principal fish taken. The first-named are caught by hook and line operated by means of poles rigged out from the boat much in the same way, apparently, as we drail for mackerel on the southwest coast. A filament of maize straw is used for bait. The boat sails to a distance of about 90 miles off the land and run back before the prevailing wind, until they are about nine miles from the shore or until they lose the fish. When the fisherman gets a bite the wind is spilled out of the sail so as to deaden the boat's way. The fish is then got alongside, promptly gaffed, and got on board. Tunny sells for about three halfpence a pound in Lequeito. The season extends from June to November. Bream are taken in the winter and spring, 9 to 12 miles off the coast. They are caught by hook and line in two ways. The first is worth describing. A line 50 fathoms long has bent to it snoods with hooks attached, 16 in. apart. Each man handles three lines. On reaching the fishing ground the line, to the end of which a stone is attached, is gradually paid out until soundings are taken; then another stone is attached and the operation repeated. If a bite is felt the line is slacked away freely, and this goes on until about 500 fathoms are overboard. When, by the lively and continuous jerking of the line, the fisherman concludes that he has a good number of fish on the hooks, he will haul aboard and then prepare to shoot again.
The second method of taking the bream is by long lining; fifty of the lines we have just described being bent together and duly anchored and buoyed. Spaniards do not much care for this way of fishing, as it is costly in bait and the gear is often lost in bad weather. Bream sells at about 3½d. a pound. Cod are taken during the first six months of the year, about 9 miles off shore, by hand lines. Sold fresh the price is about 6d. per lb. A small quantity is preserved in tins. Anchovy or cuttlefish is the bait used; sometimes the two are placed on one hook.
A smaller description of boat, called traineras, is built especially for taking sardine and anchovy, although in fine weather they often engage in the same fishery as the larger boats. The traineras are light and shapely vessels, with a graceful sheer and curved stem and stern posts. The keel is much cambered, and the bottom is flat and has considerable hollow. The usual dimensions vary between: Length, 38 feet to 42 feet; beam, 7 feet to 7 feet 6 inches; depth, 2 feet 6 inches to 2 feet 10 inches. The sails and gear are much the same as in the larger boats, excepting that there are only four shifts in place of six. The largest main lug has an area of about 90 square yards and the fore lug about 50 square yards. The other sails for heavier weather are naturally smaller. The largest masts for fine weather are respectively 36 feet and 22 feet, long. The average cost of one of these boats and gear is about £122, made up as follows: Hull, £32; sails, gear, and oars, £30; nets and gear attached, £60. The season for anchovy fishing commences on the 1st of March and ends 30th of June; it begins again on the 15th of September, and continues until the end of the year. Most fish are taken at a distance of about 9 miles from the land, although they often come in much closer. Anchovies are sold fresh, or are salted to be sent away, some are used for bait, and in times of great plenty quantities are put on the land for manure. The greater part are, however, preserved in barrels or tins, and are exported to France or England.
The net used in the capture of anchovies is called traina or copo. It is in principle like the celebrated purse seine of the United States, but in place of being 200 fathoms long, as are many of the nets, which, in American waters, will inclose a whole school of mackerel, it is but 32 to 40 fathoms long. The depth is 7 to 10 fathoms, and the mesh ¾ inch. Sardine fishing commences on the 1st of July and lasts until December. The principal ground is 2 to 10 miles off shore. The price of sardines on the coast is about 2½d. per pound. When the sardines appear in shoals they are taken with the traina in the same way as anchovies, a net of ½-inch mesh being used. Sardines are also taken by gill nets about 200 feet long and 18 feet wide. When used in the daytime the fish are tolled up by a bait consisting of the liver of cod. When the sardines have been attracted to the neighborhood of the net, bait is thrown on the other side of it. The fish in their rush for the bait become entangled in the mesh. These nets are sometimes anchored out all night, in which case no bait is used.
A third class of boats of much the same character are of about the following dimensions: Length, 28 feet to 35 feet; beam, 7 feet 6 inches to 8 feet; depth, 2 feet 6 inches to 2 feet 8 inches. The two lugs will contain 16 and 30 square yards of canvas respectively. They are used for sardine catching, when they will carry a crew of four men, or for taking conger and cod, in which case they will be manned by eight hands.
Their cost will average approximately as follows: Hull, £15; gear and sail, £10; nets and lines, £13; about £40. The conger season extends from March to June, and from October to November. The fish are taken by hook and line; sardine and fish known as berdel (which in turn is taken by a hook covered with a feather) are used as bait.
There are other smaller fishing boats, among which may be noticed the bateler, a powerful little vessel, 13 feet to 16 ft. long, about 5½ ft. wide, and 2 ft. deep. They are sailed by one man, set a good spread of canvas, and are fast and handy. They are used for taking a species of cuttlefish which supplies a bait, and is caught by hook and line, the fishes being attracted by colored threads, at which they rush, when the hook will catch in their tentacles. There is a small well in the middle of the boat for keeping the fish alive. None of the boats on the northern coast of Spain carry ballast. They have flat hollow floors, and set a large area of of canvas on a shallow draught. Lobster fishing is pursued in much the same manner as in England, but often four or five miles from land, and in very deep water.
One of the most noticeable objects in the Spanish court was a full-sized boat about 25 ft. long, which had a square hole cut in the bottom amidships. Through this hole was let down a glass frame in which was placed a powerful paraffine lamp. The object of this was to attract the fish. It is said that tunny will be drawn from a distance of over a hundred yards, and will follow the boat so that they may be enticed into the nets. Sardines and other fish will follow the light in shoals. It is claimed that the boat will be useful in diving operations, for pearl or coral fishing, or for ascertaining the direction of submarine currents, which can be seen at night by a lamp to a depth to 25 to 30 fathoms.—Engineering.
Montauk Point, Long Island, is the most isolated and desolate spot imaginable during this weather. The frigid monotony of winter has settled down upon that region, and now it is haunted only by sea fowl. The bleak, barren promontory whereon stands the light is swept clean of its summer dust by the violent raking of cold hurricanes across it, and coated with ice from the wind-dashed spume of the great breakers hurled against the narrow sand spit which makes the eastern terminus of the island. The tall, white towered light and its black lantern, now writhing in frosty northern blizzards, and again shivering in easterly gales, now glistening with ice from the tempest tossed seas all about it, and now varnished with wreaths of fog, is the only habitation worthy of the name for many miles around. Keeper Clark and his family and assistants are almost perpetually fenced in from the outside world by the cold weather, and have to hug closely the roaring fires that protect them in that desolation.
But for ducks and the duck hunter the lighthouse family would die of inanition. With the cold weather comes the ducks, and they continue to come till the warmer blasts of spring drive them to the northward. Montauk Point is a favorite haunt for this sort of wild fowl. It is a good feeding ground, is isolated, and there is nearly always a weather shore for the flocks to gather under. But year by year the point is being more and more frequented by sportsmen, and the reports of their successes increase the applicants for lodgings at the light. Some 20 gunners were out there last week with the most improved paraphernalia for the sport, and did telling work. Flight shooting is the favorite method of taking them. The light stands very near the end of the point, about a sixteenth of a mile to the west, and all migratory birds in passing south seem to have it down in their log-book that they must not only sight this structure, but must also fly over it as nearly as possible. Hence the variety and extent of the flocks which are continually passing is a matter of interest and wonder to a student of natural history as well as to the sportsman. Coots, whistlers, soft bills, old squaws, black ducks, cranes, belated wild geese, and, in fact, all sorts of northern birds make up this long and strange procession, and the air is frequently so densely packed with them as to be actually darkened, while the keen, whistling music of their whizzing wings makes a melody that comparatively few landsmen ever hear. Millions of the birds never hesitate at this point in their flight, although thousands of them do. These latter make the neighboring waters their home for the rest of the winter. Great flocks of ducks are continually sailing about the rugged shores, and the frozen cranberry marshes of Fort Pond Bay, lying to the westward, are their favorite feeding-grounds. The birds are always as fat as butter when making their flight, and their piquant, spicy flavor leads to their being barbecued by the wholesale at the seat of shooting operations. One of the gunner's cabins has nailed up in it the heads of 345 ducks that have been roasted on the Point this winter.
Early morning is the favorite time for shooting. At daybreak the flights are heavy, and from that time until seven o'clock in the morning they increase until it seems as though all the flocks which had spent the night in the caves and ponds on the Connecticut shore were on the wing and away for the south. By ten o'clock in the forenoon the flights grow rarer, and the rest of the day only stragglers come along. A good gunner can take five dozen of these birds easily in a morning's work, provided he can and will withstand the inclemency of the weather.
Keeper Clark never shoots ducks. Scarcely a morning has dawned for two months but that several of the poor birds have been picked up at the foot of the light house tower with the broken necks which have mutely told the story of death, reached by plunging headlong against the crystal walls of the dazzling lantern overhead the night before. There is a tendency with such migratory birds as are on the wing at night to fly very high. But the great, glaring, piercing, single eye of Montauk light seems to draw into it by dozens, as a loadstone pulls a magnet, its feathered victims, and they swerve in their course and make straight for it. As they flash nearer and nearer, the light, of course, grows brighter and brighter, and at length they dash into what appears a sea of fire, to be crushed lifeless by the heavy glass, and they fall to the ground below, ready to be plucked for the oven. Inside the lantern the thud made by these birds when they strike is readily felt. Although they are comparatively small, yet so great is their velocity that the impact creates a perceptible jar, and the lantern is disfigured with plashes of their blood. Upon stormy and foggy nights the destruction of birds is found to be greatest. When the weather is clear and fair many smaller birds, like robins, sparrows, doves, cuckoos, rail, snipe, etc., will circle about the light all night long, leaving only when the light is extinguished in the morning. Large cranes show themselves to be almost dangerous visitors. Recently one of these weighing 40 pounds struck the wrought iron guard railing about the lantern with such force as to bend the iron slats and to completely sever his long neck from his body.—N.Y. Times.
The genus Carpinis is widely distributed throughout the temperate regions of the northern hemisphere. There are nine species known to botanists, most of them being middle-sized trees. In addition to those mentioned below, figures of which are herewith given, there are four species from Japan and one from the Himalayan region which do not yet seem to have found their way to this country; these five are therefore omitted. All are deciduous trees, and every one is thoroughly deserving of cultivation. The origin of the English name is quaintly explained by Gerard in his "Herbal" as follows: "The wood," he says, "in time, waxeth so hard, that the toughness and hardness of it may be rather compared to horn than unto wood, and therefore it was called horne-beam or hardbeam."

CARPINUS ORIENTALIS.
Carpinus Betulus,1 the common hornbeam, as is the case with so many of our native or widely cultivated trees, exhibits considerable variation in habit, and also in foliage characters. Some of the more striking of these, those which have received names in nurseries, etc., and are propagated on account of their distinctive peculiarities, are described below. In a wild state C. Betulus occurs in Europe from Gothland southward, and extends also into West Asia. Although apparently an undoubted native in the southern counties of England, it appears to have no claim to be considered indigenous as far as the northern counties are concerned; it has also been planted wherever it occurs in Ireland.

CARPINUS AMERICANA.
Few trees bear cutting so well as the hornbeam, and for this reason, during the reign of the topiarist, it was held in high repute for the formation of the "close alleys," "covert alleys," or the "thick-pleached alleys," frequently mentioned in Shakespeare and in the works of other authors about three centuries ago. In the sixteenth century the topiary art had reached its highest point of development, and was looked upon as the perfection of gardening; the hornbeam—and indeed almost every other tree—was cut and tortured into every imaginable shape. The "picturesque style," however, soon drove the topiarist and his art out of the field, yet even now places still remain in England where the old and once much-belauded fashion still exists on a large scale—a fact by no means to be deplored from an archæological point of view. Dense, quaintly-shaped hornbeam hedges are not unfrequent in the gardens of many old English mansions, and in some old country farmhouses the sixteenth century craze is still perpetuated on a smaller scale.

CARPINUS BETULUS, LEAF, CATKINS, AND FRUIT.
Sir J.E. Smith, in his "English Flora," after enumerating the virtues of the hornbeam as a hedge plant, gives it as his opinion that "when standing by itself and allowed to take its natural form, the hornbeam makes a much more handsome tree than most people are aware of." Those who are familiar with the fine specimens which exist at Studley Park and elsewhere will have no hesitation in confirming Sir J.E. Smith's statement. The Hornbeam Walk in Richmond Park, from Pembroke Lodge toward the Ham Gate, will recur to many Southerners as a good instance of the fitness of the hornbeam for avenues. In the walk in question there are many fine trees, which afford a thorough and agreeable shade during the summer months.

CARPINUS VIMINEA.
In any soil or position the hornbeam will grow readily, except exceedingly dry or too marshy spots. On chalky hillsides it does not grow so freely as on clayey plains. Under the latter conditions, however, the wood is not so good. In mountainous regions the hornbeam occupies a zone lower than that appropriated by the beech, rarely ascending more than 1,200 yards above sea level. It is not injured by frost, and in Germany is often seen fringing the edges of the beech forests along the bottom of the valleys where the beech would suffer. Scarcely any tree coppices more vigorously or makes more useful pollards on dry grass land.

BRANCH OF CARPINUS BETULUS.
On account of its great toughness the wood of the hornbeam is employed in engineering work for cogs in machinery. When subjected to vertical pressure it cannot be completely destroyed; its fibers, instead of breaking off short, double up like threads, a conclusive proof of its flexibility and fitness for service in machinery (Laslett's "Timber and Timber Trees"). According to the same recent authority, the vertical or crushing strain on cubes of 2 inches average 14.844 tons, while that on cubes of 1 inch is 3.711 tons.

LEAVES OF CARPINUS BETULUS QUERCOFOLIA.
A few years ago an English firm required a large quantity of hornbeam wood for the manufacture of lasts, but failed to procure it in England. They succeeded, however, in obtaining a supply from France, where large quantities of this timber are used for that purpose. It may be interesting to state that in England at any rate lasts are no longer made to any extent by hand, but are rapidly turned in enormous numbers by machinery. In France sabots are also made of hornbeam wood, but the difficulty in working it and its weight render it less valuable for sabotage than beech. For turnery generally, cabinet making, and also for agricultural implements, etc., this wood is highly valued; in some of the French winegrowing districts, viz., Côte d'Or and Yonne, hoops for the wine barrels are largely made from this tree. It makes the best fuel and it is preferred to every other for apartments, as it lights easily, makes a bright flame, which burns equally, continues a long time, and gives out an abundance of heat. "Its charcoal is highly esteemed, and in France and Switzerland it is preferred to most others, not only for forges and for cooking by, but for making gunpowder, the workmen at the great gunpowder manufactory at Berne rarely using any other. The inner bark, according to Linnæus, is used for dyeing yellow. The leaves, when dried in the sun, are used in France as fodder; and when wanted for use in water, the young branches are cut off in the middle of summer, between the first and second growth, and strewed or spread out in some place which is completely sheltered from the rain to dry without the tree being in the slightest degree injured by the operation." (Dict. des Eaux et Forêts, art. Charme, as quoted by London).

LEAVES OF CARPINUS BETULUS INCISA.
It hardly seems necessary to dwell upon the value of the hornbeam as a hedge or shelter plant. In many nurseries it is largely used for these purposes, the russet-brown leaves remaining on the twigs until displaced by the new growths in spring.
Var. incisa (Aiton, "Hortus Kewensis," v., 301; C. asplenifolia, Hort.; C. laciniata, Hort.).—These three names represent two forms, which are, however, so near each other, that for all practical purposes they are identical. A glance at the accompanying figure will show how distinct and ornamental this variety is.

HORNBEAMS (ONE WITH INOSCULATED TRUNK).
Var. quercifolia (Desf. tabl. de l'ecol. de bot. du Mus. d'hist. nat., 213; Ostrya quercifolia, Hort.; Carpinus heterophylla, Hort.)—This form, as will be seen by the figure, is thoroughly distinct from the common hornbeam; it has very much smaller leaves than the type, their outline, as implied by the varietal name, resembling that of the foliage of the oak. It frequently reverts to the type, and, as far as my experience goes, appears to be much less fixed than the variety incisa.
Var. purpurea (Hort.).—The young leaves of this are brownish red; it is well worth growing for the pleasing color effect produced by the young growths in spring. Apart from color it does not differ from the type.
Var. fastigiata (Hort.).—In this variety the branches are more ascending and the habit altogether more erect; indeed, among the hornbeams this is a counterpart of the fastigiate varieties of the common oak.
Var. variegata, aureo-variegata, albo-variegata (albo-marmorata).—These names represent forms differing so slightly from each other, that it is not worth while to notice them separately, or even to treat them as distinct. In no case that I have seen is the variegation at all striking, and, except in tree collections, variegated hornbeams are hardly worth growing.

FULL GROWN HORNBEAM IN WINTER.
CARPINUS BETULUS (Full grown tree at Chiswick, 45 ft. high in 1844).
Carpinus orientalis2 (the Oriental hornbeam) principally differs from our native species in its smaller size, the lesser leaves with downy petioles, and the green, much-lacerated bractlets. It is a native of the south of Europe, whence it extends to the Caucasus, and probably also to China; the Carpinus Turczaninovi of Hance scarcely seems to differ, in any material point at any rate, from western examples of C. orientalis. According to Loudon, it was introduced to this country by Philip Miller in 1739, and there is no doubt that it is far from common even now. It is, however, well worth growing; the short twiggy branches, densely clothed with dark green leaves, form a thoroughly efficient screen. The plant bears cutting quite as well as the common hornbeam, and wherever the latter will grow this will also succeed. In that very interesting compilation, "Hortus Collinsonianus," the following memorandum occurs: "The Eastern hornbeam was raised from seed sent me from Persia, procured by Dr. Mounsey, physician to the Czarina. Received it August 2, 1751, and sowed it directly; next year (1752) the hornbeam came up, which was the original of all in England. Mr. Gordon soon increased it, and so it came into the gardens of the curious. At the same time, from the same source, were raised a new acacia, a quince, and a bermudiana, the former very different from any in our gardens." This memorandum was probably written from recollection long afterward, with an error in the dates, and the species was first entered in the catalogue as follows: "Azad, arbor persica carpinus folio, Persian hornbeam, raised from seed, anno 1747; not in England before." It appears, however, from Rand's "Index" that there was a plant of it in the Chelsea Garden in 1739. The name duinensis was given by Scopoli, because of his having first found it wild at Duino. As, however, Miller had previously described it under the name orientalis, that one is adopted in accordance with the rule of priority, by which must be decided all such questions in nomenclature.
The American Hornbeam 3 also known under the names of blue beech, water beech, and iron wood, although a less tree than our native species, which it resembles a good deal in size of foliage and general aspect, is nevertheless a most desirable one for the park or pleasure ground, on account of the gorgeous tint assumed by the decaying leaves in autumn. Emerson, in his "Trees and Shrubs of Massachusetts," pays a just tribute to this tree from a decorative standpoint. He says: "The crimson, scarlet, and orange of its autumnal colors, mingling into a rich purplish red, as seen at a distance, make it rank in splendor almost with the tupelo and the scarlet oak. It is easily cultivated, and should have a corner in every collection of trees." It has pointed, ovate oblong, sharply double serrate, nearly smooth leaves. The acute bractlets are three-lobed, halberd-shaped, sparingly cut-toothed on one side. Professor C. S. Sargent, in his catalogue of the "Forest Trees-of North America," gives the distribution, etc., of the American hornbeam as follows: "Northern Nova Scotia and New Brunswick, through the valley of St. Lawrence and Lower Ottawa Rivers, along the northern shores of Lake Huron to Northern Wisconsin and Minnesota; south to Florida and Eastern Texas. Wood resembling that of ostrya (hop hornbeam). At the north generally a shrub or small tree, but becoming, in the Southern Alleghany Mountains, a tree sometimes 50 feet in height, with a trunk 2 feet to 3 feet in diameter." It will almost grow in any soil or exposition in this country.
Carpinus viminea 4 is a rather striking species with long-pointed leaves; the accompanying figure scarcely gives a sufficiently clear representation of their long, tail-like prolongations. Judging from the height at which it grows, it would probably prove hardy in this country, and, if so, the distinct aspect and graceful habit of the tree would render it a decided acquisition. It is a moderate-sized tree, with thin gray bark, and slender, drooping warted branches. The blade of the smooth leave measures from 3 inches to 4 inches in length, the hairy leaf-stalk being about half an inch long. It is a native of Himalaya, where it occurs at elevations of from 5000 to 7000 feet above sea-level. As in our common hornbeam, the male catkins appear before the leaves, and the female flowers develop in spring at the same time as the leaves. The hard, yellowish white wood—a cubic foot of which weighs 50 lb.—is used for ordinary building purposes by the natives of Nepaul.
GEORGE NICHOLSON.
Royal Gardens, Kew.
IDENTIFICATION.—Carpinus Betulus, L., Loudon, "Arboretum et Fruticetum Britannicum," vol. iii., p. 2004; Encycl. of Trees and Shrubs, 917. Boswell Syme, "English Botany," vol. viii., p. 176, tab. 1293; Koch, "Dendrologie," zweit. theil. zweit. abtheil., p. 2: Hooker, "Student's Flora of the British Islands," ed. 2, p. 365. C. Carpinizza, Host., "Flora Austriaca," ii., p. 626. C. intermedia. Wierbitzsky in Reichb Ic. fl. Germ. et Helvet., xxii., fig. 1297.
IDENTIFICATION.—Carpinus orientalis. Miller, "Gardener's Dictionary," ed. 6 1771); La Marck, Dict, i., 107; Watson, "Dendrologia Britannica," ii., tab. 98; Reich. Ic. fl. Germ. et Helvet., xxii., fig, 1298; Tenore, "Flora Neapolitana," v., 264; Loudon, Arb. et Fruticet. Brit., iii., 2014, Encycl. Trees and Shrubs, p. 918; Koch, "Dendrologie." zweit, theil zweit, abtheil, p. 4. C. duinensis, Scopoli, "Flora Carniolica," 2 ed., ii., 243, tab. 60; Bertoloni, "Flora Italica," x., 233; Alph. De Candolle in Prodr., xvi. (ii.), 126.
IDENTIFICATION.—Carpinius caroliniana, Walter, "Flora Caroliniana," 236; C. americana, Michx. fl. bor. Amer., ii., 201; Mich. f. Hist. des. Arbres Forestiers de l'Amerique Septentrionale, iii., 57, tab. 8; Watson, "Dendrologia Britannica," ii., 157; Gray, "Manual of the Botany of the Northern United States," p. 457.
IDENTIFICATION.—Carpinus viminea, Lindl. in Wall. Plant. Asiat. Rar., ii., p. 4, t. 106; D. C. Prodr., xvi., ii., 127. Loudon, "Arboretum et Fruticetum Britannicum," iii., p. 2014; Encycl. of Trees and Shrubs, p. 919. Brandis, "Forest Flora," 492.
The fruiting of the camellia in this country being rather uncommon, we have taken the opportunity of illustrating one of three sent to us a fortnight ago by Mr. J. Menzies, South Lytchett, who says: "The fruits are from a large plant of the single red, grown out of doors against a wall with an east aspect, and protected by a glazed coping 4 feet wide. The double, semi-double, and single varieties have from time to time borne fruit out of doors here, from which I have raised seedlings, but have hitherto failed to get any variety worth sending out or naming."
In the annexed woodcut the fruit is represented natural size. Its appearance is somewhat singular. It is very hard, and has a glazed appearance like that of porcelain. The color is pale green, except on the exposed side, which is dull red. It is furrowed like a tomato, and on the day after we received it the furrows opened and exposed three or four large mahogany-brown seeds embedded in hard pulp—The Garden.

FRUIT OF CAMELLILA JAPONICA.
The ordinary process of long division is rather difficult, owing to the necessity of guessing at the successive figures which form the divisor. In case the repeating decimal expressing the exact quotient is required, the following method will be found convenient:
Rule for division.
First. Treat the divisor as follows:
If its last figure is a 0, strike this off, and treat what is left as the divisor.
If its last figure is a 5, multiply the whole by 2, and treat the product as the divisor.
If its last figure is an even number, multiply the whole by 5, and treat the product as a divisor.
Repeat this treatment until these precepts cease to be applicable. Call the result the prepared divisor.
Second. From the prepared divisor cut off the last figure: and, if this be a 9, change it to a 1, or if it be a 1, change it to a 9; otherwise keep it unchanged. Call this figure the extraneous multiplier.
Multiply the extraneous multiplier into the divisor thus truncated, and increase the product by 1, unless the extraneous multiplier be 7, when increase the product by 5. Call the result the current multiplier.
Third. Multiply together the extraneous multiplier and all the multipliers used in the process of obtaining the prepared divisor. Use the product to multiply the dividend, calling the result the prepared dividend.
Fourth. From the prepared dividend cut off the last figure, multiply this by the current multiplier, and add the product to the truncated dividend. Call the sum the modified dividend, and treat this in the same way. Continue this process until a modified dividend is reached which equals the original prepared dividend or some previous modified dividend; so that, were the process continued, the same figures would recur.
Fifth. Consider the series of last figures which have been successively cut off from the prepared dividend and from the modified dividends as constituting a number, the figure first cut off being in the units' place, the next in the tens' place, and so on. Call this the first infinite number, because its left-hand portion consists of a series of figures repeating itself indefinitely toward the left. Imagine another infinite number, identical with the first in the repeating part of the latter, but differing from this in that the same series is repeated uninterruptedly and indefinitely toward the right into the decimal places.
Subtract the first infinite number from the second, and shift the decimal point as many places to the left as there were zeros dropped in the process of obtaining the prepared divisor.
The result is the quotient sought.
Examples.
1. The following is taken at random. Divide 1883 by 365.
First. The divisor, since it ends in 5, must be multiplied by 2, giving 730. Dropping the O, we have 73 for the prepared divisor.
Second. The last figure of the prepared divisor being 3, this is the extraneous multiplier. Multiplying the truncated divisor, 7, by the extraneous multiplier, 3, and adding 1, we have 22 for the current multiplier.
Third. The dividend, 1883, has now to be multiplied by the product of 3, the extraneous multiplier, and 2, the multiplier used in preparing the divisor. The product, 11298, is the prepared dividend.
Fourth. From the prepared dividend, 11298, we cut off the last figure 8, and multiply this by the current multiplier, 22. The product, 176, is added to the truncated dividend, 1129, and gives 1305 for the first modified divisor. The whole operation is shown thus:
1 8 8 3
6
-------
1 1 2 9|8
1 7 6 -
-----
1 3 0|5
1 1 0 -
-----
2|4 0
8 8 ---
---
|9 0
-----
1 9|8
1 7 6 -
-----
1 9|5
1 1 0 -
-----
1 2|9
1 9 8 -
-----
2|1 0
2 2 ---
2 4
We stop at this point because 24 was a previous modified dividend, written under the form 240 above. Our two infinite numbers (which need not in practice be written down) are, with their difference:
. .
10,958,904,058 . .
10,958,904,109.5890410958904
----------------------------
. .
51.5890410958904
. .
Here the quotient sought is 5.158904109.
Example 2. Find the reciprocal of 333667.
The whole work is here given:
3 3 3 6 6|7 |7
2 3 3 5 6 7 - 1 6 3 4 9 6|9
2 1 0 2 1 0 3 -
-------------
2 2 6 5 5 9|9
2 1 0 2 1 0 3 -
-------------
2 3 2 8 6 6|2
4 6 7 1 3 4 -
-----------
7 0 0 0 0 0
. .
Answer, 0.000002997.
Example 3. Find the reciprocal of 41.
Solution.—
4|1 |9
----- -----
3 7|9 3 3|3
- 1 1 1 -
-----
1 4|4
1 4 8 -
-----
1 6|2
7 4 -
---
9 0
. .
Answer, 0.02439.
C.S. PEIRCE.
Those who can perform in that most necessary of all mathematical operations, simple addition, any great number of successive examples or any single extensive example without consciousness of a severe mental strain, followed by corresponding mental fatigue, are exceptions to a general rule. These troubles are due to the quantity and complexity of the matter with which the mind has to be occupied at the same time that the figures are recognized. The sums of pairs of numbers from zero up to nine form fifty-five distinct propositions that must be borne in memory, and the "carrying" is a further complication. The strain and consequent weariness are not only felt, but seen, in the mistakes in addition that they cause. They are, in great part, the tax exacted of us by our decimal system of arithmetic. Were only quantities of the same value, in any one column, to be added, our memory would be burdened with nothing more than the succession of numbers in simple counting, or that of multiples of two, three, or four, if the counting is by groups.
It is easy to prove that the most economical way of reducing addition to counting similar quantities is by the binary arithmetic of Leibnitz, which appears in an altered dress, with most of the zero signs suppressed, in the example below. Opposite each number in the usual figures is here set the same according to a scheme in which the signs of powers of two repeat themselves in periods of four; a very small circle, like a degree mark, being used to express any fourth power in the series; a long loop, like a narrow 0, any square not a fourth power; a curve upward and to the right, like a phonographic l, any double fourth power; and a curve to the right and downward, like a phonographic r, any half of a fourth power; with a vertical bar to denote the absence of three successive powers not fourth powers. Thus the equivalent for one million, shown in the example slightly below the middle, is 216 (represented by a degree-mark in the fifth row of these marks, counting from the right) plus 217 + 29 (two l-curves in the fifth and third places of l-curves) plus 218 + 214 + 26 (three loops) plus 219 (the r-curve at the extreme left); while the absence of 23, 22, and 21 is shown by the vertical stroke at the right. This equivalent expression may be verified, if desired, either by adding the designated powers of two from 524,288 down to 64, or by successive multiplications by two, adding one when necessary. The form of characters here exhibited was thought to be the best of nearly three hundred that were devised and considered and in about sixty cases tested for economic value by actual additions.
In order to add them, the object for which these forty numbers are here presented in two notations, it is not necessary to know just why the figures on the right are equal to those on the left, or to know anything more than the order in which the different forms are to be taken, and the fact that any one has twice the value of one in the column next succeeding it on the right. The addition may be made from the printed page, first covering over the answer with a paper held fast by a weight, to have a place for the figures of the new answer as successively obtained. The fingers will be found a great assistance, especially if one of each hand be used, to point off similar marks in twos, or threes, or fours—as many together as can be certainly comprehended in a glance of the eye. Counting by fours, if it can be done safely, is preferable because most rapid. The eye can catch the marks for even powers more easily in going up and those for odd powers (the l and r curves) in going down the columns. Beginning at the lower right hand corner, we count the right hand column of small circles, or degree marks, upward; they are twenty-three in number. Half of twenty-three is eleven and one over; one of these marks has therefore to be entered as part of the answer, and eleven carried to the next column, the first one of l-curves. But since the curves are most advantageously added downward, it is best, when the first column is finished, simply to remember the remainder from it, and not to set down anything until the bottom is reached in the addition of the second column, when the remainders, if any, from both columns can be set down together. In this case, starting with the eleven carried and counting the number of the l-curves, we find ourselves at the bottom with twenty-four—twelve to carry, and nothing to set down except the degree mark from the first column. With the twelve we go up the adjoining loop column, and the sum must be even, as this place is vacant in the answer; the r-curve column next, downward, and then another row of degree marks. The succession must be obvious by this time. When the last column, the one in loops to the extreme left, is added, the sum has to be reduced to unity by successive halvings. Here we seem to have eleven; hence we enter one loop, and carry five to the next place, which, it must be remembered, is of r-curves. Halving five we express the remainder by entering one of these curves, and carry the quotient, two, to the degree mark place. Halving again gives one in the next place, that of l-curves; and the work is complete.
It is recommended that this work be gone over several times for practice, until the appearance and order of the characters and the details of the method become familiar; that, when the work can be done mechanically and without hesitation, the time occupied in a complete addition of the example, and the mistakes made in it, be carefully noted; that this be done several times, with an interval of some days between the trials, and the result of each trial kept separate; that the time and mistakes by the ordinary figures in the same example, in several trials, be observed for comparison. Please pay particular attention to the difference in the kind of work required by the two methods in its bearing on two questions—which of them would be easier to work by for hours together, supposing both equally well learned? and in which of them could a reasonable degree of skill be more readily acquired by a beginner? The answer to these questions, if the comparison be a fair one, is as little to be doubted as is their. high importance.
Eight volunteer observers to whom this example has already been submitted showed wide difference in arithmetical skill. One of them took but a few seconds over two minutes, in the best of six trials, to add by the usual figures, and set down the sum, but one figure in all the six additions being wrong; another added once in ten minutes fifty-seven seconds, and once in eleven minutes seven seconds, with half the figures wrong each time. The last-mentioned observer had had very little training in arithmetical work, but perhaps that gave a fairer comparison. In the binary figures she made three additions in between seven and eight minutes, with but one place wrong in the three. With four of the observers the binary notation required nearly double the time. These observers were all well practiced in computation. Their best record, five minutes eighteen seconds, was made by one whose best record was two minutes forty seconds in ordinary figures. The author's own best results were two minutes thirty-eight seconds binary, and three minutes twenty-three seconds usual. He thus proved himself inferior to the last observer, as an adder, by a system in which both were equally well trained; but a greater familiarity (extending over a few weeks instead of a few hours) with methods in binary addition enabled him to work twice as fast with them. Of the author's nine additions by the usual figures, four were wrong in one figure each; of his thirty-two additions by different forms of binary notation, five were wrong, one of them in two places. One observer found that he required one minute thirty-three seconds to add a single column (average of five tried) by the usual figures, and fifteen seconds to count the characters in one (average of six tried) by the binary. Though these additions were rather slow, the results are interesting. They show, making allowance for the greater number of columns (three and a third times as many) required by the binary plan, a saving of nearly half; but they also illustrate the necessity of practice. This observer succeeded with the binary arithmetic by avoiding the sources of delay that particularly embarrass the beginner, by contenting himself with counting only, and not stopping to divide by two, to set down an unfamiliar character, or to recognize the mark by which he must distinguish his next column. One well-known member of the Washington Philosophical Society and of the American Association for the Advancement of Science, who declined the actual trial as too severe a task, estimated his probable time with ordinary figures at twenty minutes, with strong chances of a wrong result, after all.
These statistics prove the existence of a class of persons who can do faster and more reliable work by the binary reckoning. But too much should not be made of them. Let them serve as specimens of facts of which a great many more are to be desired, bearing on a question of grave importance. Is it not worth our while to know, if we can, by impartial tests, whether the tax imposed on our working brains by the system of arithmetic in daily use is the necessary price of a blessing enjoyed, or an oppression? If the strain produced by greater complexity and intensity of mental labor is compensated by a correspondingly greater rapidity in dealing with figures, the former may be the case. If, on the contrary, a little practice suffices to turn the balance of rapidity, for all but a small body of highly drilled experts, in favor of an easier system, the latter must be. This is the question that the readers of Science are invited to help in deciding. The difficulties attending a complete revolution in the prevalent system of reckoning are confessedly stupendous; but they do not render undesirable the knowledge that experiment alone can give, whether or not the cost of that system is unreasonably high; nor should they prevent those who accord them the fullest recognition from assisting to furnish the necessary facts.
Those who are willing to undertake the addition on the plan proposed or on any better plan, or who will submit it to such acquaintances, skilled or unskilled, as may be persuaded to take the trouble to learn the mechanism of binary adding, will confer a great favor by informing the writer of the time occupied, and number of mistakes made, in each addition. All observations and suggestions relating to the subject will be most gratefully received.
Henry Farquhar.
Office of U.S. Coast Survey, Washington, D.C.
A catalogue, containing brief notices of many important scientific papers heretofore published in the SUPPLEMENT, may be had gratis at this office.
Terms of Subscription, $5 a Year.
Sent by mail, postage prepaid, to subscribers in any part of the United States or Canada. Six dollars a year, sent, prepaid, to any foreign country.
All the back numbers of THE SUPPLEMENT, from the commencement, January 1, 1876, can be had. Price, 10 cents each.
All the back volumes of THE SUPPLEMENT can likewise be supplied. Two volumes are issued yearly. Price of each volume, $2.50, stitched in paper, or $3.50, bound in stiff covers.
COMBINED RATES—One copy of SCIENTIFIC AMERICAN and one copy of SCIENTIFIC AMERICAN SUPPLEMENT, one year, postpaid, $7.00.
A liberal discount to booksellers, news agents, and canvassers.
MUNN & CO., Publishers,
261 Broadway, New York, N. Y.
In connection with the Scientific American, Messrs. MUNN & Co. are Solicitors of American and Foreign Patents, have had 39 years' experience, and now have the largest establishment in the world. Patents are obtained on the best terms.
A special notice is made in the Scientific American of all Inventions patented through this Agency, with the name and residence of the Patentee. By the immense circulation thus given, public attention is directed to the merits of the new patent, and sales or introduction often easily effected.
Any person who has made a new discovery or invention can ascertain, free of charge, whether a patent can probably be obtained, by writing to MUNN & Co.
We also send free our Hand Book about the Patent Laws, Patents, Caveats. Trade Marks, their costs, and how procured, with hints for procuring advances on inventions. Address
MUNN & CO., 261 Broadway, New York.
Branch Office, cor. F and 7th Sts., Washington, D. C.